Всем привет! Я – Артем Литвинович, разработчик с многолетним опытом, радиолюбитель с детства, и сам конструировал ридеры. На мой взгляд сделать самому под свои требования – оно всяко интереснее и удобнее, чем купить готовую вещь. Например, ту же читалку. На моем счету – четыре собственноручно собранных модели ридеров из комплектующих, найденных на радиорынке и заказанных из Китая.
Например e ink описан тут, его ещё Леонид Каганов тут рассматривал, более ранние поделки все здесь. Корпуса печатаю сам на 3D-принтере, который я тоже сконструировал самостоятельно. А когда лень печатать – леплю из эпоксидки.
Опыт, как вы понимаете, накопил весьма серьезный и в какой-то мере уникальный. И вот ко мне обратились ребята из PocketBook с предложением сделать какой-нибудь мод одной из их моделей. В итоге решили собрать ридер с солнечной батареей на базе PocketBook 631 Plus, одного из флагманских ридеров линейки. Об этом я и расскажу в посте.

Не буду вдаваться в подробности функционирования этой модели с пользовательской точки зрения. Многие писали, сколь много форматов она поддерживает, какие приложения в ней есть, как работает поддержка аудио и как хорошо этот покетбук проговаривает книги на пятнадцати языках. Отмечу только, что в целом я с этими заявлениями согласен – ридер матёрый и действительно навороченный.
Получив читалку на руки, я её даже включать не стал – сразу разобрал. Потому и начнём мы с осмотра того, что же у неё внутри. Это для меня интереснее. Разобрать ридер – это просто, как раз, два, три. Поехали!
Раз – с помощью пластикового клина отщелкивается передняя панель.

Два – аккуратно отклеивается рамка экрана от передней панели. Я так подозреваю, что она заклеена для усложнения попадания влаги и пыли внутрь через зазор. В PocketBook 631 Plus, в отличие от той же PocketBook 641 Aqua 2, официально защита от воды не задекларирована. И все же «зачатки» защиты тут присутствуют. При таких элементах конструкции брызги влаги этой модели, надо полагать, не сильно страшны.
И три – откручиваются винтики, держащие саму читалку в корпусе.

Из чего состоит современная читалка?
Неискушенному взгляду может показаться, что тут всё жутко сложно, но, в общем и целом, устройство довольно простое.
Для упрощения сравним с моей самодельной читалкой, которая справа.

На моей плате явно выделяются три блока.
- Красный – схема питания экрана. Экран на электронных чернилах управляется электростатически и требует нескольких уровней напряжения, положительных и отрицательных.
- Зелёный – контроллер питания, заряда и разряда аккумулятора. Литиевые аккумуляторы заряжаются постоянным током и выдают непостоянное напряжение. Электроника требует постоянные 3.3В. Солнечная батарея даёт неудобный ток. Соответственно, нужен контроллер постоянного тока для заряда, преобразователь напряжения для разряда и ограничитель мощности для солнечной панели.
- Желтый – компьютерный блок. Тут имеется процессор, память и хранилище данных, со всей обвязкой.
Удивительно, но, по сути своей, читалка — всего лишь энергоэффективный компьютер со специальным экраном и программной начинкой.

Теперь взглянем на внутренности читалки от PocketBook
Тут можно разглядеть аналогичные блоки – питание, работа с экраном и компьютер. Дополнительно имеются ещё два блока – голубой Wi-Fi-модуль и розовый аудиокодек. Последнее довольно нетипично — практически во всех современных ридерах с экранами E Ink звуковых возможностей нет. Их наличие — одна из уникальных «фишек» именно PocketBook 631 Plus.

Приглядимся к внутренностям читалки PocketBook повнимательнее.
На процессорном модуле просматривается сам процессор, MCIMX6L7DVN10AB. Это ARM Cortex-A9, одноядерный, 32-битный, номинально 1 ГГц. Штука ощутимо более мощная, чем используемые мною. Что не удивительно – Pocketbook читает без предварительной конвертации 18 форматов (PDF, PDF-DRM, EPUB, EPUB-DRM, DJVU, FB2, FB2.ZIP, DOC, DOCX, RTF, PRC, TCR, TXT, CHM, HTM, HTML, MOBI и ACSM), а также озвучивает текст, лазит в интернет, играет в игры и умеет расставлять переносы слов. Для обслуживания и осуществления всего этого добра необходимо соответствующее железо.
Справа от процессора стоит память, NT5CC256M16DP. Это DDR3, 4 Гбит (512 Мбайт).
За памятью стоит обычный MicroSD-разъём с карточкой на 8 Гб, играющей роль встроенного хранилища. Дёшево, сердито и удобно – при желании внутреннюю память можно легко расширить, а в случае катастрофической встречи читалки с земной твердью, для восстановления данных потребуется лишь кардридер.
На карточке обнаруживается обыкновенный Linux, что радует. Справа находится отладочный разъём UART. Если ткнуть в него зондом, то видим заставку U-Boot 2009.08 и кучу отладочной информации.

Рядом с процессорным модулем расположен блок Wi-Fi с выключателем и обвязкой. RTL8189FTV, модуль 802.11b/g/n всё-в-одном, подключенный по шине SDIO.
Ставить готовые модули для такого типа функций, а не распаивать их дискретно на плате, – это одна из стандартных практик при разработке электроники.

С дальней стороны находится кодек – преобразователь звука из цифры в ток на наушниках. ALC5640 всё той же фирмы Realtek, он берёт звук по I2S и выдаёт 1.5 Вт стереозвука на 8 Ом динамик через усилитель класса D. Тоже типовая вещь.

Над звуком расположен блок управления экраном.
TPS65185 – генератор напряжений для электронно-чернильных экранов. NN2003, или что-то подобное с “2” поверх маркировки идентифицировать не удалось, но похоже на что-то связанное с питанием подсветки. И zForce NN1001 – вроде как контроллер ИК-тачскрина.

Наконец, основной блок питания. В центре находится основная микросхема – RC5T619. Это многофункциональный контроллер питания со встроенными преобразователями, подсчётом потребления, зарядкой аккумулятора, интерфейсами для общения с процессором и т. д. В нём же пребывают часы реального времени, которые должны ходить даже когда всё остальное выключено. Такой высоко-интегрированный блок питания играет немалую роль в том, что одного заряда читалке хватает где-то на месяц-полтора активного использования. К этой микросхеме мы ещё приглядимся повнимательнее позднее, когда будем приделывать к читалке солнечную панель.

Перевернув плату, мы обнаруживаем экран – самое интересное в этой книжке.

Экран наклеен на раму, с другой стороны рамы приклеен аккумулятор. К ней же прикручивается плата, и в какой-то мере весь корпус.

Насколько этот 6-дюймовый экран последнего поколения, «E Ink Carta», отличается от обычного экрана E Ink, который можно купить в магазине?
Для сравнения – вот мой 7-дюймовый экран одной китайской фирмы.

Поставив одну и ту же картинку на оба из них, можно сразу заметить различия. Мой экран, хоть и больше, но разрешение у него всего 480 x 800 и 120 DPI, в то время как у покета разрешение 1072 х 1448 и 300 DPI. Ну и качество самой матрицы повыше – как крупный производитель первого эшелона, PocketBook использует дисплеи наивысшего уровня качества — Grade A («первый сорт», до отбраковки). Более мелким брендам, и для продажи в виде запчастей, идёт Grade B – экраны с некоторым (допустимым стандартами) количеством дефектов.

Если приглядеться внимательнее, то видно ещё одно большое различие – на покетовском экране «краски» более плавные.

Что неудивительно, т. к., в отличие от черно-белого «китайца», экран покета монохромный и поддерживает 50 16 оттенков серого.

На самом деле, это заслуга не столько экрана (хотя и его, конечно, тоже), сколько более навороченной, чем у меня, управляющей схемы. Фундаментально же эти два экрана не сильно отличаются друг от друга, и основная разница именно в обвязке.
Приглядимся повнимательнее к самой технологии. Экран на электронных чернилах – это такая стекляшка, с одной стороны которой матрица из управляющих электродов, а с другой – запаянный в прозрачный пластик массив пузырьков с жидкостью, в которой плавают микроскопические шарики. Белые заряжены положительно, черные — отрицательно. Управляющая матрица электростатически вращает шарики, тем самым выводя на экран изображение.

С задней стороны такой экран зеркален, и видна высеченная на стекле разводка управляющих сигналов.


Если посмотреть экран на просвет, то можно увидеть тонкую управляющую сетку позади шума из неравномерно нанесённых капсул. За счёт этой неравномерности подсветка электронно-чернильного экрана довольно нетривиальная задача – если просто подсветить его сзади, то выглядеть это будет как стеклянная крошка.

Чем-то оно даже напоминает обычную бумагу.

Экран покетбука плотно приклеен к раме, и попытки их разделить, скорее всего, закончатся печально. Однако с краю есть место, где его тоже можно просветить и увидеть аналогичную структуру.

Видим, что сверху на экране стоит чёрная рамка, а на плате под ним – набор каких-то деталей.
Что это?

Причём рамка не простая, а прозрачная в инфракрасном свете! А выступы на ней похожи на линзы. Для чего всё это?

Загадка решается очень просто. Вспоминаем обычный домофон с железной клавиатурой, которая странным образом перестаёт работать, когда края её замазаны снегом. По краям этой клавиатуры набор свето- и фотодиодов, в которые они светят. Отслеживая затенённость этого освещения, процессор может понять, над какой цифрой появился палец.

В нашей читалке-покетбуке конструкция аналогичная, только более прецизионная. По краям находятся инфракрасные светодиоды, которые рамкой фокусируются на фотодиодах с противоположной стороны, и по затенению процессор вычисляет местоположение пальца.

Снизу на экран наклеена полоской гибкая плата со светодиодами. Это та самая знаменитая подсветка с изменяемой температурой света. Пойдешь налево – свет холоднеет, направо — теплеет. Задумка такая: перед сном лучше читать с тёплой подсветкой, благодаря этому зрительный аппарат быстрее расслабляется. Есть два вариант такой подсветки, одна разработки E Ink, другая – её китайская копия. Копия хуже тем, что кушает примерно на треть больше энергии. В PocketBook 631 Plus стоит правильная, Е инковская.


Пойдешь направо – свет теплеет
Как и всё гениальное, секрет прост – подсветка состоит из чередующихся светодиодов: теплый, холодный, теплый, холодный, и т. д.
Яркость каждой половины управляется независимо, что и позволяет плавно переходить от холода к теплу.
На этом обзор внутренностей можно закончить, собрать обратно читалку и перейти к зарядке. В нормальных условиях книжка заряжается от стандартного USB с током в 0.9А.
Это 4.5 Вт, и должно обеспечить полный заряд её 1.5А/ч аккумулятора в течение примерно часа.

По мере понижения доступного тока книжка продолжает спокойно заряжаться вплоть почти до нуля. Похоже, что контроллер заряда мало интересует стандарт USB, и он может заряжать от любого напряжения вплоть до напряжения на самом аккумуляторе.

Что вообще происходит при зарядке и разрядке? Вспоминаем RC5T619, который управляет подсистемой питания. Это интегрированный контроллер питания, заряда и подсчёта потребления. В нём есть два канала на вход для зарядки и внешнего питания, встроенные преобразователи напряжений, выход на аккумулятор и выходы на потребителя, входы датчиков (например, температуры аккумулятора) и многое другое. Всё это настраивается как на уровне схемы, так и программно по I2C-шине.
По той же шине процессор получает от него информацию об остатке заряда в аккумуляторе, о состоянии зарядки, о текущем времени, и т. д.

В чём сложность определения уровня заряда литиевого аккумулятора? Разве нельзя просто замерить напряжение на нём? Увы, напряжение на нём нелинейно, в большей части постоянно, и сильно зависит от нагрузки.

На практике для определения уровня заряда используется счётчик кулонов. Аналогично электросчётчику в квартире, он считает, сколько заряда перетекло из аккумулятора в нагрузку и от зарядки в аккумулятор. Это единственный надёжный способ достоверно показать уровень заряда аккумулятора. И такой счётчик обычно встроен в контроллер питания. Сам процесс зарядки литиевого аккумулятора тоже непрост, в отличие, например, от свинцовых. Процесс зарядки состоит из двух этапов – постоянного тока и постоянного напряжения. На первом этапе подаётся ток, ограниченный до предельного безопасного значения, обычно в 1C (одна ёмкость аккумулятора в час). По достижению напряжением аккумулятора максимального значения (4.20В) начинается второй этап, когда это напряжение поддерживается на входе, а ток при этом падает. В конце концов ток достигает нижнего порога, обычно 0.1C, и зарядка на этом прекращается.
Всем этим, опять-таки, занимается интегрированный контроллер питания.
Очевидно, что для подключения ещё одного источника питания нужно будет идти через него. В идеале можно было бы использовать второй вход заряда, VADP, но есть небольшая проблема – на плате нашего ридера он не разведён, а контроллер представляет из себя BGA-чип, пластмассовый прямоугольник с шариками-контактами на нижней стороне, и подобраться к входам VADP, по сути, невозможно.

Значит, придётся подключаться ко входу VUSB, то бишь стандартному разъёму питания ридера. Потому и хорошо, что он продолжает заряжаться даже при очень низком напряжении и токе.
С таким подключением надо учитывать несколько вещей.
Во-первых, оно не должно мешать обычной зарядке. Т. е. не допускается течение тока от солнца в зарядку или компьютер. Во-вторых, оно не должно поглощать ток при внешней зарядке. Т.е. не допускается течение тока от зарядки в цепь солнечной панели.
Первое довольно просто – мы будем подавать напряжение, намного меньшее чем у зарядки или компьютера. Читалка может от него зарядиться, а внешний источник его не заметит.
Второе тоже не сложно – для солнечной панели потребуется контроллер точки максимальной мощности, внутри или на выходе которого будет иметься диод.
Что это за контроллер такой, и для чего он нужен? Давайте взглянем на солнечные батареи.
Существует много видов солнечных элементов. Обычные, всем знакомые кремниевые элементы с синеватым оттенком и проводками на поверхности (на фото слева) отличаются наибольшей эффективностью. Их недостаток в том, что они со временем разрушаются от солнечного света, и за десять лет теряет большую часть мощности.
В моей книжке используется тонкослойный элемент на селениде меди-индия-галлия (справа), который в полтора раза менее эффективен, однако более долговечен.

Обе панели состоят из 11 элементов, соединённых последовательно
Возникает вопрос – которую панель ставить на наш PocketBook? Обычно я за долговечность, но в данном случае загнанное в дальний угол чувство прекрасного, потребовало быть услышанным, и я остановился на варианте слева – уж больно хорошо типовая кремниевая панель подходит к корпусу книжки.

Солнечная батарея – нелинейный источник питания. Простая батарейка или блок питания обычно описываются законом Ома – по мере уменьшения приложенного к ним сопротивления ток растёт, а напряжение падает. Другими словами, они являются источником напряжения с эквивалентным последовательным сопротивлением.
У солнечной батареи же с уменьшением сопротивления ток остаётся примерно постоянным, а напряжение падает. Это ближе к источнику тока с ограниченным верхним напряжением. Вот, к примеру, график тока к напряжению для одной из моих больших солнечных панелей.

Если к такому источнику подключить обычный контроллер заряда аккумулятора, то зарядка попробует потянуть столько тока, сколько доступно (будет представлять из себя малое сопротивление), напряжение на панели упадёт, и вместе с ним упадёт мощность – полная мощность доступна лишь рядом с рабочей точкой, где произведение тока и напряжения максимально.
Чтобы исправить эту проблему, солнечную панель обычно подключают через контроллер постоянной точки мощности. Импульсный преобразователь, который не позволяет нагрузке пытаться вытягивать из панели больше мощности, чем она способна отдать на своём оптимальном напряжении. По сути, он преобразует нелинейную характеристику панели в омическую.
Простейшая реализация такого контроллера – понижающий преобразователь с обратной связью ещё и по входному напряжению, а не только по выходному.
По мере уменьшения сопротивления на выходе такой преобразователь будет понижать напряжение (и повышать ток) так, чтобы на входе оставалось постоянное напряжение.
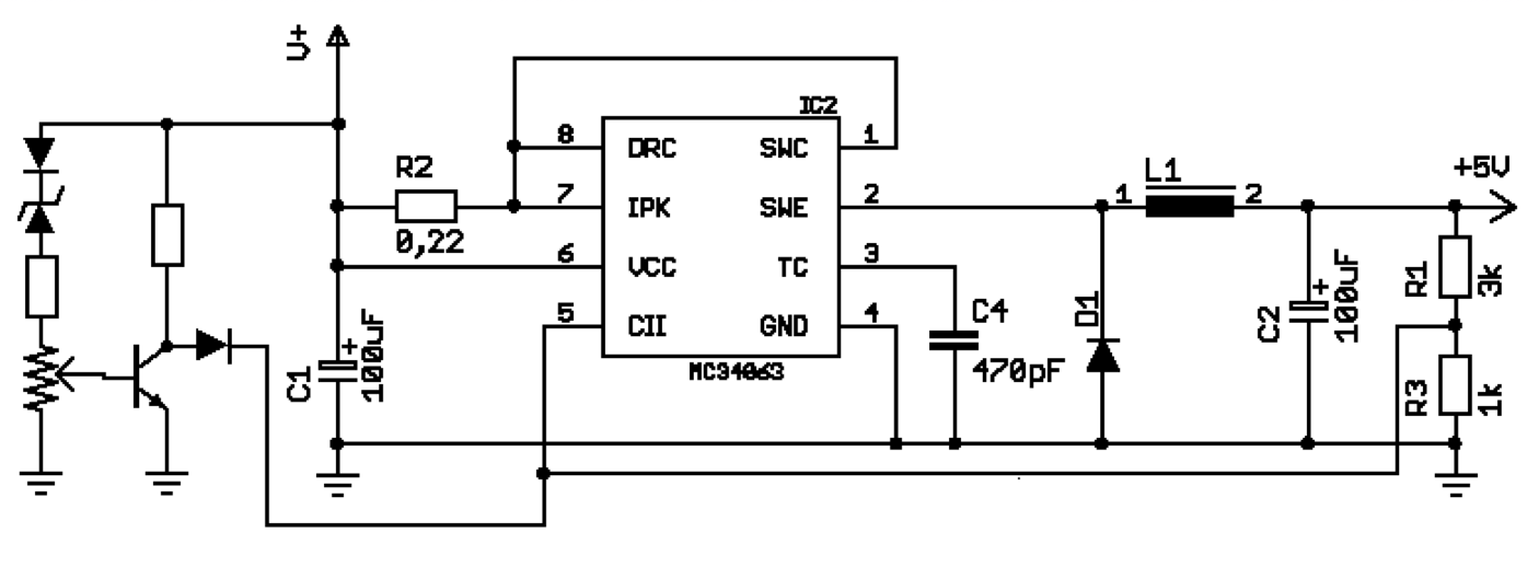
Взглянем на простую схему доморощенного понижающего преобразователя на ШИМ-контроллере MC34063.

В этой микросхеме есть встроенный ключ, который открывается и закрывается с частотой в десятки килогерц. Когда он открыт, ток течёт через него и через индуктивность, постепенно набирая напряжение на выходе. Когда он закрыт, ток течёт через диод и индуктивность (индуктор имеет свойство противиться изменению текущего через него тока), постепенно теряя напряжение. Получаемое «треугольное» напряжение сглаживается выходным конденсатором в близкое к постоянному.
Чем дольше открыт ключ (ширина импульса), тем выше напряжение на выходе. Т.к. обычно требуется постоянное напряжение, на выходе стоит делитель обратной связи, подающий сигнал на усилитель ошибки в контроллере. Это позволяет ему уменьшать ширину импульса, если напряжение слишком высокое, и увеличивать, когда наоборот.
Как из этой схемы сделать контроллер с удержанием максимальной мощности? Надо добавить к нему небольшую приставку.

Транзистор открыт, когда входное напряжение выше установленного, на его стороне диода напряжение равно нулю, и контроллер ограничивает выходное напряжение, как обычно.
Если же входное напряжение падает ниже установленного, то транзистор начинает закрываться, и на линию обратной связи попадает напряжение, пропорциональное входному. И перекрывает сигнал от выходного. Контроллер воспринимает это как повышенное напряжение на выходе, и уменьшает длину импульса, тем самым, не давая нагрузке поглощать слишком много мощности и проваливать входное напряжение.
Если мы проверим эту схему на макетной плате, то она будет более-менее рабочей, но с довольно ужасными характеристиками.

На практике делать собственный импульсный преобразователь – дело неблагодарное и не очень-то эффективное. Тем более на таких старинных деталях, как MC34063.
Потому воспользуемся стандартной практикой, т. е. готовыми модулями.
Основная часть нашей схемы – инвертирующая приставка обратной связи от входного напряжения. И её можно подключить к любой стандартной схеме понижающего преобразователя, у которой есть внешний делитель для обратной связи выходного напряжения. Соответственно, берём типовой понижающий модуль на несколько ватт и подпаиваем к нему вывод диода приставки.

Как и ожидалось, всё работает почти без проблем.

Теперь можно убрать лишние детали и проверить схему в режиме постоянного тока-напряжения, симулируя солнечную панель.

Как видим, схема отлично держит минимальное напряжение входа
Переносим схему с удобной макетной платы на постоянную, и в результате получается компактная и довольно плоская конструкция.

Внутри ридера не наблюдается избытка свободного места, да и конструкция всё же недостаточно плоская, чтобы влезть между задней крышкой и платой, так что в любом случае придётся всё крепить снаружи и жертвовать дизайном.
Если бы книжка изначально делалась с расчётом на солнечную зарядку, то такой проблемы бы не возникло – как мы помним, на самой плате было много свободного места.

Единственное более-менее удобное место, где можно разместить контроллер – на задней стороне солнечной панели. Там даже намекающая на это пунктирная рамка есть.

Перед окончательной сборкой имеет смысл всё протестировать, однако хмурая московская весна в День Икс упорно отказывалась сотрудничать.

Приходится доставать мой «солнцезаменитель» – блок светодиодов общей мощностью в 1 КВт и цветовой температурой в 4000К, ранее откалиброванный люксметром. Даёт солнечный свет летнего дня на расстоянии в 29 см.
Примитивность системы охлаждения модели «большой кусок алюминия» приводит к тому, что агрегат может перегреться и сгореть за 6 минут, от коей участи его спасает несовершенство современных аккумуляторов, которых в нём хватает всего на 5 минут.

Трудно поверить, насколько интенсивен солнечный свет – киловатт света на квадратный метр. Лишь если расставить такие светильники через метр друг от друга поверх половины планеты, можно получить что-то близкое к мощности солнца.

Из-за сияния не разглядеть, что показывает прибор – зарядка идёт с мощностью около 0.7Вт. Это близко к ожидаемому – 1 Вт панель и 70% эффективности преобразователя. С такой скоростью ридер зарядится с нуля где-то часов за 8.
Реально же в наших широтах и непостоянной погоде потребуется раза в два больше – номинальное значение мощности панели в 1 Вт даётся для номинального же солнечного света в 1000 Вт на м2. Что бывает либо в полдень в тропиках, либо в лаборатории под солнцезаменителем.

Теперь, когда проверка пройдена, можно окончательно приделывать панель к самой книжке.
За счёт толщины преобразователя остаётся зазор в полсантиметра между панелью и корпусом. Его нужно закрыть, так что приходится прогревать 3D-принтер и печатать рамку.

Рамка крепится к корпусу, и внутри нее просверливаем отверстие для проводов.

Выводы контроллера пропускаются через отверстия, и подпаиваются ко входу.

Очевидно, что никаких конкурсов красоты и дизайна такая конструкция не выиграет. Да и на практике увеличение толщины в полтора раза довольно ощутимо – читалка уже не так удобно лежит в кармане и не влезает в чехлы.
Чтобы место не пропадало зря, можно было бы, например, заполнить его более ёмким аккумулятором. Или под панелью приделать откидную подставку – и удобно ставить на стол, и более симметричная получится конструкция. Но на самом деле такой элемент конструкции разумнее было бы либо исходно встраивать в читалку, либо делать как отдельное устройство. Разместив контроллер на плате и сделав вырез для панели в корпусе, можно было бы получить ридер той же толщины, что и исходная модель.


Итого можно сделать вывод, что здорово бы было производителю – компании PocketBook — взять на вооружение солнечные батареи и может когда-нибудь выпускать ридеры с ними.
Громоздкость получившейся доморощенной конструкции совершенно не означает, что заводской продукт будет таким же – это как сравнивать переделанный на электродвигатель бензиновый автомобиль, у которого заполнен аккумуляторами багажник и сбит центр тяжести, с машиной, изначально конструировавшейся как электромобиль.
Выражаясь умными словами, солнечная энергетика сейчас в тренде, технологии бегут вперёд, цены на панели быстро падают. И все считают, что за ними будущее. Так что читалка со встроенной солнечной зарядкой вполне может положить начало моде на мобильные устройства с таким удобством. Ридер – устройство с крайне низким энергопотреблением и, естественно, большой площадью корпуса. Что делает его практически оптимальным use case в этом направлении.
Если подытожить сам проект, то наиболее сложной его частью было сделать контроллер точки максимальной мощности на столь малом масштабе. Это одна из тех областей, где пока практически нет готовых модулей, и потому каждый сам за себя.
Наиболее интересной частью для меня было разобраться, как делают современные читалки и экраны. Последний раз (году примерно в 2007) я разбирал довольно древний уже ридер, который был одним из первых на рынке, и он был не сильно сложнее моего. Неожиданной оказалась конструкция тачскрина — я никогда раньше не сталкивался с технологией накладной ИК-сетки такого размера и точности, и не ожидал её там обнаружить. Ну и остальные инжиниринговые моменты в PocketBook 631 Plus показались вполне себе логичными продуманными – видно, что ридер разрабатывался на совесть — далеко не на коленке и совсем не дилетантами.
Такие вот дела. На этом всё, и надеюсь, что вы сегодня узнали что-то новое. На возникшие вопросы отвечу в комментариях, пишите.
Автор: artlav
