
Продолжаем серию материалов о самых необычных патентах. Не все изобретения представляют собой сухие чертежи с расчетами и инженерными схемами для решения серьезных инженерных задач. Иногда объектом технического творчества становятся самые обыденные и, казалось бы, не требующие вмешательства процессы: сон, аппетит, проявление эмоций, привычки или гигиена.
Рассмотрим патенты, в которых изобретатели пытаются повлиять на особенности поведения человека и его физиологические реакции, заложенные природой. На время отложим в сторону академические, строго научные разработки и обратимся к технологиям, которые стремятся мягко или, наоборот, прямолинейно скорректировать набор физиологических процессов, обычно принимаемых как данность.
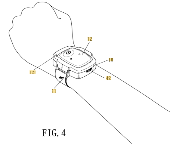
Прибор для устранения храпа
Сон бывает крайне трудным процессом, особенно если рядом находится человек, который громко храпит. Классический алгоритм действий в такой ситуации хорошо известен: легкий толчок, попытка перевернуть партнера на бок или, в крайнем случае, использование берушей. Патент Snore elimination device предлагает альтернативный, технологичный подход к решению этой бытовой проблемы.
Устройство надевается на запястье спящего, фиксирует устойчивый акустический сигнал храпа и включает мягкую вибрацию. Цель вибрации — не разбудить человека, а лишь слегка изменить положение его тела, побудив повернуться и тем самым уменьшить интенсивность храпа. В патенте подробно описана система фильтрации шумов, позволяющая отличать храп от случайных звуков (скрипа пола, шума шагов или, например, кота, проходящего рядом).
Этот пример хорошо демонстрирует, как инженерная мысль вмешивается в естественный процесс сна, не разрушая его, а корректируя поведение человека в фоновом режиме, почти незаметно для него самого.
Эмоциональный трекер: управление стрессом через носимое устройство
Биометрические приборы, прославившиеся благодаря подсчету шагов и калорий, давно не ограничиваются только этими функциями. Патент Wearable device and method for stress detection, emotion recognition and emotion management описывает носимое устройство, которое не только собирает физиологические данные, но и оценивает эмоциональное состояние пользователя на их основе.
Система анализирует пульс, вариабельность сердечного ритма, температуру кожи, кожно-гальваническую реакцию (изменение электрического сопротивления кожи, связанное с нервно-эмоциональным состоянием), уровень насыщения крови кислородом, а также движения и положение тела. При обнаружении так называемого «эмоционального события» устройство может подать сигнал в виде вибрации, светового индикатора или другого тактильного отклика.
Кроме того, патент предусматривает функцию рекомендаций: устройство предлагает пользователю дыхательные упражнения, смену активности или другие способы снижения стресса. Этот пример иллюстрирует современную тенденцию: умная техника не просто наблюдает за человеком, а мягко корректирует его поведение. В данном случае это эмоциональные процессы, которые сам человек контролировать уже не способен.
Маска, мешающая есть
Патент Anti eating face mask предлагает крайне прямолинейный подход к проблеме переедания. Устройство физически препятствует приему пищи: маска закрывает рот и подбородок, не мешая дыханию и речи, но делая невозможным перекус без ее снятия.
Если замок на холодильник при желании можно открыть, то этот своеобразный «пояс верности» здоровому образу жизни, по замыслу авторов, должен стать более надежным ограничителем. В конструкции предусмотрены ремни и защелки, затрудняющие самостоятельное снятие устройства.
Идея выглядит одновременно абсурдной и показательной. Изобретатель напрямую вмешивается в естественное поведение человека, запрещая удовлетворение базовой физиологической потребности без участия сознательного решения. Техника в буквальном смысле берет на себя функцию контроля привычек.
Подогреваемая ложка
Иногда объектом патентования становятся совсем небольшие, но раздражающе бытовые проблемы. Патент Heating spoon описывает ложку с встроенным нагревательным элементом и батарейным блоком, которая поддерживает температуру пищи.
Устройство состоит из ручки, чаши и элемента питания, размещенного внутри ручки. Нагрев осуществляется таким образом, чтобы исключить ожоги: тепло передается непосредственно чаше ложки, а не поверхности, с которой контактирует рука. В документе подробно описаны безопасные температурные режимы, материалы, пригодные для контакта с пищей, а также сценарии использования — например, если прием пищи был прерван рабочим звонком или встречей.
Даже такой привычный предмет, как ложка, становится объектом инженерной оптимизации, призванной подстроиться под ритм современной жизни.
Влияние экрана на нервную систему
О потенциальном вреде экранов для зрения говорят давно. Однако патент Manipulation of the nervous system by electromagnetic fields from monitors поднимает более радикальный вопрос: могут ли экраны вызывать определенные физиологические реакции?
В документе описывается идея, согласно которой телевизионные и компьютерные мониторы (особенно старые CRT-экраны) при определенной частоте мерцания способны создавать слабые электромагнитные поля и визуальные импульсы. Эти импульсы могут быть почти незаметны глазу, но теоретически способны вызывать физиологические реакции у наблюдателя.
Важно подчеркнуть, что речь идет о концептуальной гипотезе, не о проверенной медицинской технологии управления сознанием. Фантастических сценариев массового контроля через экран, к счастью, здесь пока нет.
Радиоантенна на шляпе
Этот патент — не шапочка из фольги, а вполне работоспособное инженерное решение. Hat mounted radio antenna, разработанный в конце 1960-х годов, предназначался для улучшения приема радиосигнала без громоздких внешних антенн.
Антенна выполнена в виде гибкой петли из проводящего материала, формирующей конусообразную конструкцию, которая размещается внутри шлема или каски — между внутренней подвеской и оболочкой. Она не мешает движениям головы и не снижает защитные свойства шлема. Такая форма обеспечивает стабильный прием сигнала даже при активных движениях пользователя.
Так обычный головной убор превратился в устройство для доступа к информации и музыке. На сегодняшний день срок действия патента истек, но сама идея остается любопытным примером инженерного своего времени.
Иногда для изобретения достаточно по-новому взглянуть на физиологию, привычки и эмоции человека. Все описанные выше патенты объединяет одно: стремление превратить повседневные действия и состояния в объект технического вмешательства. Из обычной ложки, маски или браслета рождаются устройства, которые помогают меньше храпеть, не переедать, лучше справляться со стрессом или просто комфортнее проживать повседневную жизнь.
О сервисе Онлайн Патент:
Онлайн Патент — цифровая система № 1 в рейтинге Роспатента. С 2013 года мы создаем уникальные LegalTech‑решения для защиты и управления интеллектуальной собственностью. Зарегистрируйтесь в сервисе Онлайн‑Патент и получите доступ к следующим услугам:
-
Онлайн‑регистрация программ, патентов на изобретение, товарных знаков, промышленного дизайна;
-
Опции ускоренного оформления услуг;
-
Бесплатный поиск по базам патентов, программ, товарных знаков;
-
Мониторинги новых заявок по критериям;
-
Онлайн‑поддержку специалистов.
Автор: letsweb
