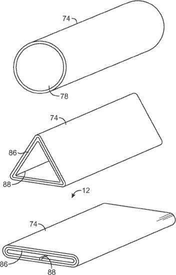
Компания Apple подала в США заявку на патент, в которой описано электронное устройство с дисплеем, обернутым вокруг корпуса. Изогнутый дисплей в заявке напоминает дисплеи смартфонов Samsung Galaxy S Edge, но заходит не только на боковые грани устройства, а опоясывает корпус целиком. Сам корпус, по замыслу изобретателей, может иметь не только форму, характерную для современных смартфонов.
Поскольку вся продольная поверхность будет занята дисплеем, разъемы и органы управления предполагается размещать на торцах корпуса.
На современном этапе развития технологии такая конструкция возможна только с использованием дисплеев OLED на гибкой подложке. Напомним, возможным поставщиком панелей OLED для смартфонов Apple названа компания Japan Display, которая начнет выпускать их в 2018 году.
Источник: USPTO
