Неделю назад стало известно, что новый смартфон Nokia может быть оснащен с модулем из пяти камер. Источник опубликовал эскизы из патента компании Zeiss, в котором описано возможное устройство такой камеры.
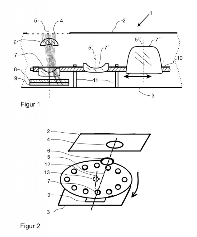
Датчик у камеры один. Как обычно, напротив него расположен объектив. Однако между объективом и камерой находится «карусель» с дополнительными линзами. Выбирая ту или иную линзу, можно менять фокусное расстояние объектива.
Подобный подход давно известен в киносъемке и микроскопии, но там на турели или револьверной головке закрепляются объективы целиком. Это позволяет быстро менять фокусное расстояние.
В случае Nokia 10 камера с турелью будет дополнена вторым модулем с обычным объективом. Отметим, что снаружи терель не видна. По бокам от объеатива находятся вспышка и подсветка автофокуса.
Анонс Nokia 10 ожидается на выставке IFA 2018, которая пройдет в Берлине в сентябре.
