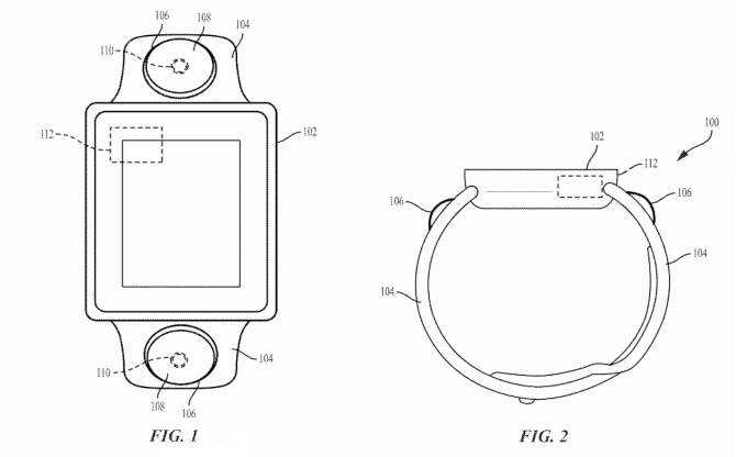
Компания Apple запатентовала умные часы, в которых описывается носимое устройство со встроенными двумя камерами.
Предположительно, сдвоенная камера умных часов Apple Watch нового поколения будет оснащена широкоугольным и телефото объективами. Это позволит делать качественные сэлфи с несколькими людьми в кадре, осуществлять видеозвонки, распознавать пользователей по лицам и использовать часы для других задач.

Впрочем, факт регистрации патента, как уже отмечалось неоднократно, вовсе не является доказательством того, что подобное устройство в итоге окажется на прилавках магазинов.

Свежее исследование показало, что умные часы Apple Watch первого поколения остаются самой популярной моделью.
