По сообщению источника, компания Nikon запатентовала несколько разработок в области цифровых фотокамер со сменными объективами.
Во-первых, специалисты компании предложили техническое решение, облегчающее смену объектива в условиях недостаточной освещенности. Идея изобретения кажется лежащей на поверхности, но пока она не была реализована на практике. Речь идет о подсветке, встроенной в байонет камеры и позволяющей убедиться в правильной установке объектива. Изобретатели предлагают встроить в камеру световод, один конец которого подключен в светодиоду, в другой выведен на байонет. Второй фрагмент световода находится в объективе. При правильной установке объектива участки световода в камере и объективе совмещаются, и индикатор на объективе подсвечивается.
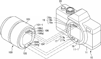
Второе изобретение позволяет повысить надежность электрического соединения между камерой и объективом. С этой целью объектив и байонет камеры предлагается оснастить дублирующим набором контактов.
О том, как скоро разработки можно будет встретить в серийных продуктах Nikon, данных пока нет.
Источник: Egami
