Компания Bentley недавно запатентовала дизайн футуристического дрона, который вызвал смешанные реакции в автомобильном сообществе. Этот шаг Bentley рассматривается некоторыми как смелый шаг в направлении инноваций, в то время как другие считают его просто безумием.
Целью создания этого дрона, по словам представителей Bentley, является исследование новых возможностей в области мобильности и технологий. Компания планирует использовать дрон для тестирования новых материалов и технологий, которые могут быть использованы в будущих автомобилях. Кроме того, дрон может быть использован для доставки небольших грузов и даже для обеспечения безопасности на дорогах.

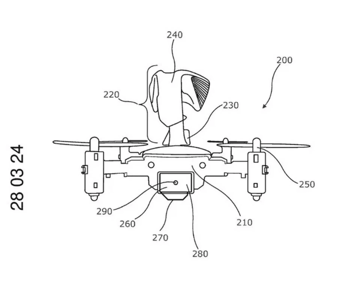
Дрон, запатентованный Bentley, имеет футуристический дизайн с четырьмя роторами и способен летать на больших высотах. Он оснащён технологиями, включющими систему автономного управления и систему навигации. Кроме того, дрон оборудован камерами и сенсорами, которые позволят ему собирать данные о окружающей среде.
Ожидается, что этот дрон будет использован в различных областях, включая автомобильную промышленность, логистику и даже в сфере безопасности. Некоторые эксперты считают, что этот шаг Bentley может стать началом новой эры в области мобильности и технологий.

Оснащённый четырьмя небольшими пропеллерами, дрон будет запускаться из специального отсека под капотом и, поднявшись в воздух, сможет выполнять различные задачи, делая вождение Bentley более комфортным и безопасным
«Представьте, что вы застряли в пробке и ищете альтернативный маршрут. Или, что еще хуже, вы не можете вспомнить, где вы припарковались у торгового центра. Этот маленький дрон может пролететь вперёд, найти свободное место для парковки, провести вас обратно к вашему автомобилю или даже отправить оповещения в службы экстренной помощи, если вы попадёте в аварию», — заявили представители бренда.
Пока что неясно, когда этот дрон появится на рынке и появится ли вообще, но если это произойдет, то он наверняка станет эксклюзивным вариантом для тех, кто ищет последние достижения в области роскоши и технологий.
