Водородные печи в электровакуумном производстве. Что, зачем, какие

в 9:01, , рубрики: ruvds_статьи, радиолампы, самодельные лампы, электровакуумное производство
Водородные печи в электровакуумном производстве. Что, зачем, какие - 1

Специальные печи для высокотемпературной термообработки в контролируемой газовой среде и, в частности, в водороде, с успехом применяют при производстве особо ответственных деталей в ряде областей. Отжиг металлов в Н2 улучшает их микроструктуру, повышает однородность. В водородных печах прямым способом получают железо, спекают порошковые металлы, делают высококачественную пайку. Водородный отжиг очень способствует удалению впитанных металлами газов (обезгаживание). Последнее — крайне важный процесс в, так нас интересующем, производстве электровакуумных приборов (ЭВП), где отжиг в Н2 — стандартная мера ускорения и удешевления изготовления приёмно-усилительных ламп (ПУЛ). Печи для отжига в водороде могут быть как крупными заводскими установками, так и упрощёнными лабораторными мини и даже микровариантами, вполне пригодными для кустарных и любительских работ.

1. Как работает водородный отжиг

Все материалы, в том числе и металлы, стекло, содержат впитанные газы, начинающиеся выделяться в высоком вакууме, а именно такой и должен быть в ПУЛ. Заметим — выделяться особенно интенсивно при нагреве, а это нормальное рабочее состояние ламп. Появившиеся в колбе газы «отравляют» оксидные катоды, нарушают работу прибора, снижают его характеристики, укорачивают срок службы.

Детали лампы обезгаживаются при её откачке, процесс, однако, это долгий, существенно удорожающий производство, поэтому многие металлические детали перед сборкой обезгаживают отдельно предварительно.

Решение «в лоб» — нагрев в вакуумной печи, удовольствие долгое и дорогостоящее, применяемое только в специальных случаях. В массе же, железки для ламп сильно (до 1000 ̊ С и выше) нагревают, выдерживают и охлаждают в атмосфере водорода, который, обладая высокой диффузионной способностью, интенсивно проникает в металл, замещая собой другие газы, и легко выходит при откачке собранной лампы, очень ускоряя процесс. Оказалось — водородный отжиг при сравнимой эффективности, гораздо дешевле и быстрее отжига в вакууме, заодно восстанавливает окислы, отчасти консервирует детали, обеспечивая большее допустимое время между последующими операциями.

Избыток водорода, появляющийся в баллоне откачиваемой лампы, способствует (восстановитель) активации обычных оксидных катодов.

2. Типы и конструкции водородных печей

Очевидная конструкция печи для высокотемпературного отжига в водороде может напоминать вакуумную камеру, колпак, существуют и комбинированные агрегаты для работы и в вакууме, и в водороде.

Фото 2.1. Двойная водородная печь с подъёмными колпаками. Агрегаты такого типа — периодического действия, долго нагреваются и долго остывают. Спаренная конструкция, задействуя части по очереди, позволяет организовать процесс равномернее

Фото 2.1. Двойная водородная печь с подъёмными колпаками. Агрегаты такого типа — периодического действия, долго нагреваются и долго остывают. Спаренная конструкция, задействуя части по очереди, позволяет организовать процесс равномернее
Фото 2.2. Печь-камера с дверцей. Напоминает муфельную. Сетчатый элемент сверху — свеча дожига водорода — через нагретую садку организуется его слабый ток. Внизу механический форвакуумный насос — частый гость в подобном оборудовании, для предварительной откачки атмосферы печи, чтобы избежать появления взрывоопасной смеси Н2 с воздухом — гремучего газа

Фото 2.2. Печь-камера с дверцей. Напоминает муфельную. Сетчатый элемент сверху — свеча дожига водорода — через нагретую садку организуется его слабый ток. Внизу механический форвакуумный насос — частый гость в подобном оборудовании, для предварительной откачки атмосферы печи, чтобы избежать появления взрывоопасной смеси Н2 с воздухом — гремучего газа

Вместо печей камерных в электровакуумном производстве с их мелочами широкое распространение получили варианты с трубчатым муфелем и непрерывного действия. В небольших таких печах мелкие детали помещаются в молибденовые, никелевые или керамические лодочки, проталкиваются вручную. Проволока сквозь печь может медленно перематываться с катушки на катушку.

Рис. 2.3. Схема более или менее крупной печи непрерывного действия отжига в водороде для обезгаживания [1], где: 1 — муфель; 2 — специальные нагревательные элементы (2 зоны); 3 — водяное охлаждение; 4 — обрабатываемые детали; 5 — лента транспортёра; 6 — загрузочная камера; 7 — выходная камера; 8 — цепи термопар; 9…14 — автоматически управляемые краны. В зоне предварительного нагрева (400…500 ̊ С) высшие окислы превращаются в низшие, в высокотемпературной зоне (около 1000 ̊ С) проходит полное восстановление. Выходная часть печи принудительно охлаждается снаружи, чтобы детали не покидали защитную атмосферу нагретыми выше 50…60 ̊ С

Рис. 2.3. Схема более или менее крупной печи непрерывного действия отжига в водороде для обезгаживания [1], где: 1 — муфель; 2 — специальные нагревательные элементы (2 зоны); 3 — водяное охлаждение; 4 — обрабатываемые детали; 5 — лента транспортёра; 6 — загрузочная камера; 7 — выходная камера; 8 — цепи термопар; 9…14 — автоматически управляемые краны. В зоне предварительного нагрева (400…500 ̊ С) высшие окислы превращаются в низшие, в высокотемпературной зоне (около 1000 ̊ С) проходит полное восстановление. Выходная часть печи принудительно охлаждается снаружи, чтобы детали не покидали защитную атмосферу нагретыми выше 50…60 ̊ С
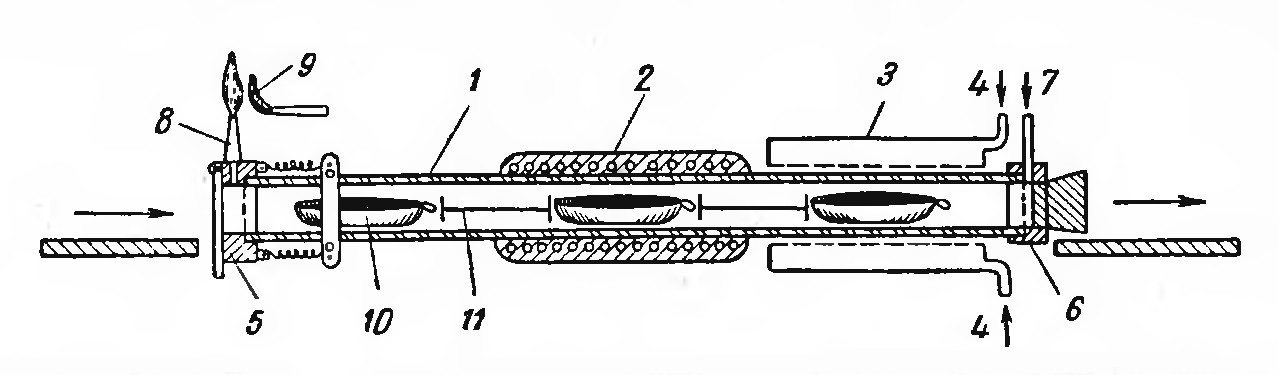
Рис. 2.4. Схема небольшой простой печи для Н2 отжига на основе кварцевого муфеля, с температурой в рабочей зоне 950 ̊ С [1], где: 1 — муфель; 2 — спиральный нагревательный элемент; 3 — охлаждение сжатым воздухом; 4 — подача сжатого воздуха; 5 — загрузка; 6 — выгрузка; 7 — подача водорода; 8 — выход водорода (факел); 9 — запальная газовая горелка; 10 — лодочки с обезгаживаемыми деталями; 11 — распорки. Во время загрузки печи ток водорода увеличивают, например, со 100 л/час до 400 л/час

Рис. 2.4. Схема небольшой простой печи для Н2 отжига на основе кварцевого муфеля, с температурой в рабочей зоне 950 ̊ С [1], где: 1 — муфель; 2 — спиральный нагревательный элемент; 3 — охлаждение сжатым воздухом; 4 — подача сжатого воздуха; 5 — загрузка; 6 — выгрузка; 7 — подача водорода; 8 — выход водорода (факел); 9 — запальная газовая горелка; 10 — лодочки с обезгаживаемыми деталями; 11 — распорки. Во время загрузки печи ток водорода увеличивают, например, со 100 л/час до 400 л/час

Нагреватели описанных трубчатых печей изготавливают из нихромовой проволоки, с максимальной рабочей температурой 1000…1100 ̊ С. Температуры до ~1500 ̊ С получают с помощью спиралей из вольфрама или молибдена в защитной газовой атмосфере того же водорода или т. н. газа препарировочного (формир-газа) — Н2+N2. Теплоизоляцией при этом служит плотный слой Al2O3 или ZrO2, а сама печь может не иметь муфеля вовсе.

Рис. 2.5. Вариант небольшой печи для Н2 отжига, непрерывного действия [2], где: 1 — крышка загрузки; 2 — загрузочная часть печи; 3 — каркас; 4 — фланцы; 5 — крышка печи; 6 — алундовая засыпка; 7 — нагреватель; 8 — муфель; 9 — холодильник; 10 — место выгрузки; 11 — крышка выгрузки. Водород подаётся в печь (внутрь алундового муфеля и на обмотку нагревательного элемента) противотоком движению лодочек с отжигаемыми деталями, чтобы они по мере очистки соприкасались со всё более чистыми порциями Н2

Рис. 2.5. Вариант небольшой печи для Н2 отжига, непрерывного действия [2], где: 1 — крышка загрузки; 2 — загрузочная часть печи; 3 — каркас; 4 — фланцы; 5 — крышка печи; 6 — алундовая засыпка; 7 — нагреватель; 8 — муфель; 9 — холодильник; 10 — место выгрузки; 11 — крышка выгрузки. Водород подаётся в печь (внутрь алундового муфеля и на обмотку нагревательного элемента) противотоком движению лодочек с отжигаемыми деталями, чтобы они по мере очистки соприкасались со всё более чистыми порциями Н2
Рис. 2.6. Усовершенствованный вариант водородной печи непрерывного действия, с т. н. горбатым муфелем, позволяющим уменьшить потери Н2 при загрузке-выгрузке [2]

Рис. 2.6. Усовершенствованный вариант водородной печи непрерывного действия, с т. н. горбатым муфелем, позволяющим уменьшить потери Н2 при загрузке-выгрузке [2]
Рис. 2.7. Некрупная водородная печь на температуру до 1500…1800 ̊ С [1], где: 1 — муфель из спечённого корунда, с внутренним Ø 40 мм; 2 — нагревательная спираль из молибдена (Т max 1500 ̊ С) или вольфрама (Т max 1800 ̊ С); 3 — токоподвод; 4 — термоизоляционное заполнение (порошок алунда); 5 — трубка с отверстиями для введения защитного газа во внешнее пространство печи; 6 — выход защитного газа; 7 — железный кожух печи; 8 — рубашка водяного охлаждения; 9 — подача воды; 10 — выход воды; 11 — асбестовая изоляция; 12 — стальной фланец; 13 — резьба для присоединения загрузочной камеры 14 с патрубком для выпуска водорода 15; 16 — резьба для присоединения разгрузочной камеры 17 со змеевиком водяного охлаждения 18 и патрубком подачи водорода 19; 20 — дверца для загрузки деталей; 21 — дверца для выгрузки деталей
Рис. 2.7. Некрупная водородная печь на температуру до 1500…1800 ̊ С [1], где: 1 — муфель из спечённого корунда, с внутренним Ø 40 мм; 2 — нагревательная спираль из молибдена (Т max 1500 ̊ С) или вольфрама (Т max 1800 ̊ С); 3 — токоподвод; 4 — термоизоляционное заполнение (порошок алунда); 5 — трубка с отверстиями для введения защитного газа во внешнее пространство печи; 6 — выход защитного газа; 7 — железный кожух печи; 8 — рубашка водяного охлаждения; 9 — подача воды; 10 — выход воды; 11 — асбестовая изоляция; 12 — стальной фланец; 13 — резьба для присоединения загрузочной камеры 14 с патрубком для выпуска водорода 15; 16 — резьба для присоединения разгрузочной камеры 17 со змеевиком водяного охлаждения 18 и патрубком подачи водорода 19; 20 — дверца для загрузки деталей; 21 — дверца для выгрузки деталей

3. Вид некоторых характерных водородных печей в натуре

Фото 3.1. Водородная печь для спекания псевдосплава МД (медно-молибденовый) при температурах до 1350 ̊ С. Печь имеет четыре тепловые зоны с индивидуальной регулировкой, азотные завесы на входе и выходе. Внутренние размеры муфеля 180х180 мм. Нагреватель — молибденовая проволока, намотанная на трубках из 99.7% Al2O3. Вверх торчат свечи дожига водорода. Заготовки в рабочую зону подаются в лодочках, перемещаемых электромеханическим или ручным толкателем

Фото 3.1. Водородная печь для спекания псевдосплава МД (медно-молибденовый) при температурах до 1350 ̊ С. Печь имеет четыре тепловые зоны с индивидуальной регулировкой, азотные завесы на входе и выходе. Внутренние размеры муфеля 180х180 мм. Нагреватель — молибденовая проволока, намотанная на трубках из 99.7% Al2O3. Вверх торчат свечи дожига водорода. Заготовки в рабочую зону подаются в лодочках, перемещаемых электромеханическим или ручным толкателем
Фото 3.2. Трубчатая водородная печь. Рабочая температура 1200 ̊ С, рабочая камера (муфель) Ø 80х600, мощность 16 кВт, габаритные размеры 700х2200х1700, расход воды — 0,8 м3/ч

Фото 3.2. Трубчатая водородная печь. Рабочая температура 1200 ̊ С, рабочая камера (муфель) Ø 80х600, мощность 16 кВт, габаритные размеры 700х2200х1700, расход воды — 0,8 м3/ч
Фото 3.3. Лабораторная водородная мини-печь на основе кварцевого муфеля-трубы. Ради упрощения — периодического действия и с «атмосферным» нагревателем (~1000 ̊ C)

Фото 3.3. Лабораторная водородная мини-печь на основе кварцевого муфеля-трубы. Ради упрощения — периодического действия и с «атмосферным» нагревателем (~1000 ̊ C)

4. Водородные микропечи

Наконец, самое интересное для любителя-самодельщика — несколько вариантов, импровизированных микропечей для экспериментов, разовых или малых работ, мелочей.

Рис. 4.1. Миниатюрная печь с нагревом токами высокой частоты (ТВЧ), для отжига в водороде [3]. Мелкие детали помещаются в закрытый цилиндрический молибденовый контейнер. Колпак из стекла викор или пирекс. Максимальная достигнутая температура 1800 ̊ С. На рисунке: 1 — резиновая пробка; 2 — тепловой экран из алюминиевой фольги; 3 — колпак; 4 — ВЧ индуктор; 5 — молибденовый контейнер; 6 — крючок из молибденовой проволоки; 7 — термостойкая трубка подачи водорода. Стеклянный колпак микропечи должен быть достаточно высоким, чтобы его верх и низ не перегревались. Полезно охлаждать снаружи стенки колпака небольшими вентиляторами. Молибденовый контейнер выполняется из трубки и не должен содержать перегревающихся острых краёв или сопряжений. В предложенной микропечи выполнялось спекание алундовой обмазки на вольфрамовых подогревателях 

Рис. 4.1. Миниатюрная печь с нагревом токами высокой частоты (ТВЧ), для отжига в водороде [3]. Мелкие детали помещаются в закрытый цилиндрический молибденовый контейнер. Колпак из стекла викор или пирекс. Максимальная достигнутая температура 1800 ̊ С. На рисунке: 1 — резиновая пробка; 2 — тепловой экран из алюминиевой фольги; 3 — колпак; 4 — ВЧ индуктор; 5 — молибденовый контейнер; 6 — крючок из молибденовой проволоки; 7 — термостойкая трубка подачи водорода. Стеклянный колпак микропечи должен быть достаточно высоким, чтобы его верх и низ не перегревались. Полезно охлаждать снаружи стенки колпака небольшими вентиляторами. Молибденовый контейнер выполняется из трубки и не должен содержать перегревающихся острых краёв или сопряжений. В предложенной микропечи выполнялось спекание алундовой обмазки на вольфрамовых подогревателях 
Рис. 4.2. Вариант простой установки для отжига в водороде отдельных деталей, например, анодов ламп, с нагревом ТВЧ [1]. Обезгаженная деталь перед извлечением охлаждается в нижней части колпака. 1 — баллон с водородом; 2 — расходомер; 3 — прибор для очистки газа; 4 — осушитель; 5 — охлаждаемая ловушка; 6 — колпак из тугоплавкого стекла; 7 — индуктор; 8 — деталь на изоляционном стержне с ручкой; 9 — толстостенный стеклянный защитный экран

Рис. 4.2. Вариант простой установки для отжига в водороде отдельных деталей, например, анодов ламп, с нагревом ТВЧ [1]. Обезгаженная деталь перед извлечением охлаждается в нижней части колпака. 1 — баллон с водородом; 2 — расходомер; 3 — прибор для очистки газа; 4 — осушитель; 5 — охлаждаемая ловушка; 6 — колпак из тугоплавкого стекла; 7 — индуктор; 8 — деталь на изоляционном стержне с ручкой; 9 — толстостенный стеклянный защитный экран
Рис. 4.3. Небольшая лабораторная печь с нагревателями сопротивления, для отжига более крупных деталей в водороде [1]. 1 — вольфрамовая или молибденовая обмотка, укреплённая на штабиках из жаростойкой керамики; 2 — тепловые экраны; 3 — верхний экран с отверстиями для измерения температуры (оптическим или радиационным пирометром); 4 — медное основание, охлаждаемое водой; 5 — металлический колпак со смотровым окном; 6 — подача водорода; 7 — выход водорода

Рис. 4.3. Небольшая лабораторная печь с нагревателями сопротивления, для отжига более крупных деталей в водороде [1]. 1 — вольфрамовая или молибденовая обмотка, укреплённая на штабиках из жаростойкой керамики; 2 — тепловые экраны; 3 — верхний экран с отверстиями для измерения температуры (оптическим или радиационным пирометром); 4 — медное основание, охлаждаемое водой; 5 — металлический колпак со смотровым окном; 6 — подача водорода; 7 — выход водорода
Рис. 4.4. Вариант очень простой установки для отжига мелочей в атмосфере водорода, например, сеток приёмно-усилительных ламп, без лодочек и печей [1]. Отжигаемую деталь 1 держат пинцетом в пламени водорода, подающегося по трубке 3. Как только деталь нагреется до красного каления, её бросают сквозь пламя в трубку 4, глубокопогружённую своим нижним концом в метанол 5. Деталь при этом охлаждается, не соприкасаясь с атмосферой. Из ванны деталь вынимают пинцетом, а метанол сдувают сжатым воздухом 6, очищенным от пыли и масла. Перед зажиганием пламени, верхний конец трубки 4 следует заткнуть пальцем, для продувки её нижней части водородом. Предложенный способ хорошо себя зарекомендовал на мелкосерийном производстве  

Рис. 4.4. Вариант очень простой установки для отжига мелочей в атмосфере водорода, например, сеток приёмно-усилительных ламп, без лодочек и печей [1]. Отжигаемую деталь 1 держат пинцетом в пламени водорода, подающегося по трубке 3. Как только деталь нагреется до красного каления, её бросают сквозь пламя в трубку 4, глубокопогружённую своим нижним концом в метанол 5. Деталь при этом охлаждается, не соприкасаясь с атмосферой. Из ванны деталь вынимают пинцетом, а метанол сдувают сжатым воздухом 6, очищенным от пыли и масла. Перед зажиганием пламени, верхний конец трубки 4 следует заткнуть пальцем, для продувки её нижней части водородом. Предложенный способ хорошо себя зарекомендовал на мелкосерийном производстве  
Рис. 4.5. Микропечь для покрытия полых катодов (для самодельных газоразрядных ламп) кобальтом или никелем, восстановлением их из оксидов [4]. Трубку-муфель устанавливают с небольшим наклоном, для стока, образовавшейся при реакции воды. В верхнюю часть медленно (один пузырёк в секунду) подают осушенный силикагелем или алюмогелем Н2. Заготовки последовательно, по току водорода, нагревают сквозь кварц газокислородной горелкой, температура деталей около 1000 ̊ С. Восстановление происходит за несколько десятков секунд

Рис. 4.5. Микропечь для покрытия полых катодов (для самодельных газоразрядных ламп) кобальтом или никелем, восстановлением их из оксидов [4]. Трубку-муфель устанавливают с небольшим наклоном, для стока, образовавшейся при реакции воды. В верхнюю часть медленно (один пузырёк в секунду) подают осушенный силикагелем или алюмогелем Н2. Заготовки последовательно, по току водорода, нагревают сквозь кварц газокислородной горелкой, температура деталей около 1000 ̊ С. Восстановление происходит за несколько десятков секунд

5. Особенности водородного отжига

Обычно отжиг ведут в атмосфере сухого и чистого водорода, с минимальным содержанием воды и кислорода, чтобы не вызвать окисление металла. Особенно чувствительны к О2 и парам Н2О материалы, содержащие хром.

Нельзя давать слишком интенсивный ток водорода в печи — он понижает температуру в муфеле, уменьшая эффективность процесса.

В водороде нельзя отжигать детали из тантала, титана, ниобия, циркония — они поглощают водород, становясь недопустимо хрупкими.

Нельзя отжигать в водороде и обычную медь, содержащую примеси закиси меди — они восстанавливаются с образованием паров воды, создающей огромные давления в металле, его вспучивания и разрывы (водородная болезнь). 

В некоторых случаях отжиг выполняют в атмосфере очищенного и, напротив — дополнительно увлажнённого (пропусканием пузырьками через подогретую воду) водорода. Это необходимо в случаях:

а) Обезуглероживание поверхности стальных деталей.

б) Очистка проволок из тугоплавких металлов от графитовой смазки.

в) Обезгаживание, гомогенизация и получения прочной тонкой окисной плёнки на коваре и хромистой стали, перед впаиванием их в стекло.

г) Спекание порошка алунда (Аl2O3) с вольфрамовой проволокой при изготовлении подогревателей катодов косвенного накала — тонкая окисная плёнка на W лучше сцепляется с алундом, само покрытие тоже хорошо спекается во влажном, а не в сухом водороде.

Фото 5.1. Картинка для красоты, но по теме: свеча дожига работающей водородной печи. Элементы вокруг — высоковольтные электроды зажигания и термопара контроля пламени

Фото 5.1. Картинка для красоты, но по теме: свеча дожига работающей водородной печи. Элементы вокруг — высоковольтные электроды зажигания и термопара контроля пламени

6. Технологические моменты

Водород очень хорошо проводит тепло и взрывоопасен, тем более при случайном смешивании с воздухом (гремучий газ). Для устранения этих недостатков к нему лучше добавлять до 90% аргона (в любительской мастерской). В заводских условиях Н2 смешивают с дешёвым азотом (формир-газ) или применяют диссоциированый аммиак.  

Водородные печи рекомендуется устанавливать под мощным вытяжным вентилятором.

Печи периодического действия перед наполнением их водородом откачивают или продувают азотом. Перед зажиганием выходящего из установки водорода, следует провести проверку его чистоты. Как в средней школе — отбор пробы в пробирке и зажигание образца на удалении от основного источника Н2. Наличие примеси воздуха определяется по звуку сгорания.

Эффективность обезгаживания в Н2 печах сильно зависит от чистоты водорода, отсюда рекомендуется получать его электролитически, дополнительно осушая и очищая. Отжиг в спектрально-чистом Н2 по эффективности выше, чем в высоковакуумной печи.

Время обработки — мелкие детали из обычного никеля или его сплавов отжигаются при 800…1000 ̊ С в течение 10…20 минут.

Осушение Н2 — силикагель, алюмогель, цеолит.

7. Выводы

Водородный отжиг для обезгаживания деталей ЭВП позволяет сократить откачку ламп до минут (десятков минут), в то время как приборы с предварительно необработанными металлами пришлось бы откачивать до суток и более. При этом обычные насосы для получения высокого вакуума — диффузионные (паромасляные), требуют для своей работы и непрерывно включённого насоса механического форвакуумного.

Тем не менее в большинстве интересующих нас, прежде всего, любительских случаев, можно допустить удлинение откачки самодельных приборов, чтобы не связываться с дополнительным оборудованием. Водородный отжиг здесь может быть интересен для изготовления сложных катодов, работы с коваром (впаи), например, при наличии в мастерской запаса удобного молибденового стекла.  

8. Литература

  1. Эспе В. Технология электровакуумных материалов. Том 1. Металлы. Перевод с немецкого. Госэнергоиздат 1962 г.

  2. Шехмейстер Е. И. Технология производства электровакуумных приборов. Москва «Высшая школа», 1992 г.

  3. Розбери Ф. Справочник по вакуумной технике и технологии. Перевод с англ. «Энергия» Москва 1972 г.

  4. Бондаренко Ю. Н. Лабораторная технология. Изготовление газоразрядных источников света для лабораторных целей и многое другое. ~1990-е года.

  5. Денисов В. П., Мельников Ю. Ф. Технология и оборудование производства электрических источников света. Москва «Энергоатомиздат» 1983 г.

На благо всех разумных существ, Babay Mazay, октябрь, 2025 г.

© 2025 ООО «МТ ФИНАНС»

Автор: BabayMazay

Источник

* - обязательные к заполнению поля


https://ajax.googleapis.com/ajax/libs/jquery/3.4.1/jquery.min.js