Для людей, которым интересен процесс сборки 3D принтера, имеющих время и желающих сэкономить, компания 3Dquality разместила на своем сайте исходные файлы корпусных и пластмассовых деталей, различные версии прошивки 3D принтера Prism Uni и прочую информацию, необходимую для самостоятельного изготовления 3D принтера. Все желающие могут самостоятельно переделать конструкцию 3D принтера под свои требования и исправить проблемы при необходимости. В данной статье отражен порядок сборки механической части 3D принтера.
1-я сб. операция. Установка рельса с кареткой.

Рассверлить отверстия под установку рельса сверлом Ø3.
Зафиксировать каретку на рельсе во избежание съезда каретки (с 2-х сторон болтами стяжками и т.д.)
Проконтролировать расположение рельса относительно пластины (рельса должна стоять без перекоса)
2-я сб.опер. Установка гайки ходового винта

Рассверлить 3 отв. сверлом Ø 3 под установку гайки ходового винта.
Произвести установку гайки ходового винта согласно рис.
3-сб. Установка линейных подшипников

Рассверлить отверстия под подшипник сверлом Ø4.
Установить линейный подшипник согласно рисунка (фланец подшипника должен быть установлен снизу пластины Y Z)
4-я сборка. Установка подшипников.

Рассверлить отверстия под установку болтов сверлом Ø4.
5-я сборка. Установка концевого выключателя.

Нарезать метчиком резьбу М3 в отверстиях под установку концевого выключателя.
Установить концевой выключатель согласно рисунка (концевой выключатель должен быть должен быть распаян – см. раздел электромонтаж)
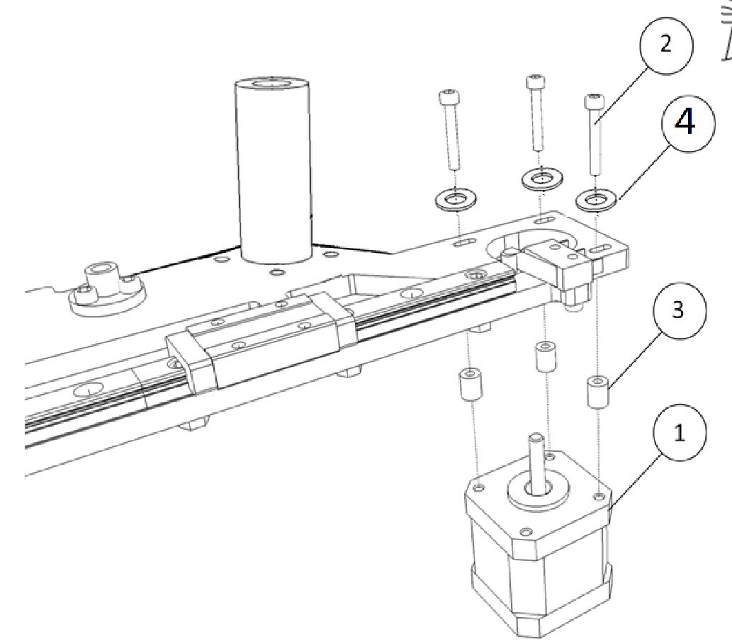
6 -я сборка. Установка шагового двигателя.

Установить шаговый двигатель на пластину Y Z как показано на рисунке, не затягивая болты до упора (возможность перемещения двигателя с легким усилием)
7-я сборка. Установка шкива.

Открутить болты для фиксации вала до положения позволяющего установить шкив на вал.
Установить шкив на вал шагового двигателя согласно рис.
Зафиксировать шкив –затянув болты для фиксации вала.
8-я сборка.Изготовление ремня Y.
<img src=«habrastorage.org/files/fca/2a9/b6e/fca2a9b6ebb9458aae0f4b1e84ec
Изготовить ремень с межцентровым расстоянием 455мм, согласно рис.


Обратить внимание – с одной стороны ремень заворачивается и стягивается зубья к зубьям, с другой стороны стягивается гладкими поверхностями.
9-я сборка.Установка ремня.

Рассверлить отв. под установку болтов сверлом Ø3.
Установить болты согласно рис. и затянуть гайки.
Установить ремень – согласно рисунка.
10-я сборка.Сборка узла X Y, лист 1-й.

Рассверлить 4 отв. под установку болтов (поз.3) сверлом Ø3.
Наживить болты, крепящие основание стола к каретке, согласно рис.
Установить ремень – согласно рисунка: надев гладкой стороной на подшипник, зубчатой стороной на шкив.
Затянуть болты, крепящие основание стола к каретке до упора.
Установить пружину натяжения ремня.
10-я сборка.Сборка узла X Y, лист 2-й.

После установки ремня натянуть ремень передвинув мотор, и затянуть болты, крепящие шаговый двигатель к пластинеY Z, согласно рисунка.
11-я сборка.Установка нагревательного стола.

Рассверлить 3 отв. под установку винтов (поз.2) сверлом Ø3.
Произвести крепление нагревательного стола на узел Y Z согласно рисунка.
12-я сборка. Установка направляющей рельсы оси X.

Рассверлить отверстия под установку рельса сверлом Ø3.
Зафиксировать каретку на рельсе во избежание съезда каретки (с 2-х сторон болтами, стяжками и т.д.)
Произвести сборку согласно рисунка.
Проконтролировать расположение рельса относительно края рамы (рельса должна стоять без перекоса)
13-я сборка. Изготовление ремня оси X.

Изготовить ремень с межцентровым расстоянием 523 мм, согласно рис.


Обратить внимание – с одной стороны ремень заворачивается и стягивается зубья к зубьям, с другой стороны стягивается гладкими поверхностями.
14-я сборка. Установка направляющих для ремня оси X.

Рассверлить отверстия сверлом Ø3 под болты фиксации ремня в держателе мотора.
Произвести сборку согласно рисунка.
15-я сборка. Установка подшипников оси X.
<img src=»habrastorage.org/files/159/e1a/9fd/159e1a9fd3f94e218151c12137df40d0.
Рассверлить отверстие сверлом Ø3 под болт.
Произвести сборку согласно рисунка.
16-я сборка. Установка шагового двигателя оси X.

Рассверлить отверстие сверлом Ø3 под болт.
Произвести сборку согласно рисунка.
17-я сборка. Установка шагового двигателя оси X.

Рассверлить отверстие сверлом Ø3 под болты крепления шагового двигателя.
Произвести сборку согласно рисунка, не затягивая до упора болты крепления двигателя к раме(поз.2).
18-я сборка. Сборка узла перемещения по оси Х.
Лист 1-й.

Проверить на совпадение отверстий между кареткой и держателем двигателя оси Х. При несовпадении просверлить отверстия в держателе двигателя по размерам, между отверстиями каретки.
Произвести сборку согласно рисунка.
Установить ремень – согласно рисунка: надев гладкой стороной на подшипник, зубчатой стороной на шкив.
18-я сборка. Сборка узла перемещения по оси Х.
Лист 2-й.

После установки – натянуть ремень, отодвинув двигатель (см. рис.) и установить пружину натяжения.
19-я сборка. Установка концевого выключателя оси Х.

Нарезать резьбу в установочных отверстиях концевого выключателя метчиком М3.(см.рис.)

Рассверлить отверстия под установку концевого выключателя сверлом Ø3.
Установить выключатель согласно рисунка
20 -я сборка. Установка концевого выключателя оси Z.

Нарезать резьбу в установочных отверстиях концевого выключателя метчиком М3.(см.рис.)

Рассверлить отверстия под установку концевого выключателя сверлом Ø3.
Установить выключатель согласно рисунка
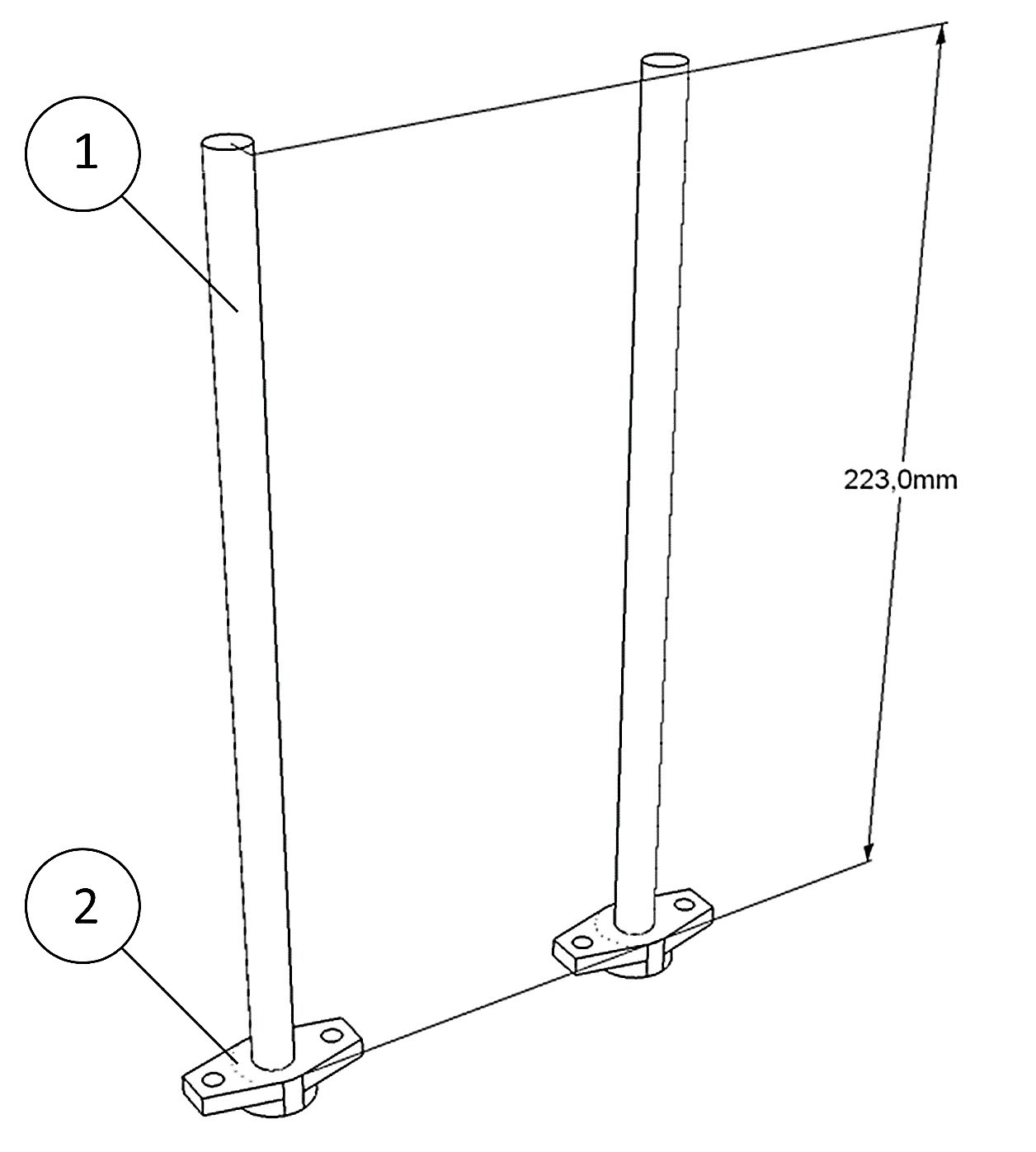
21-я сборка. Сборка направляющих оси Z.

Установить держатели вала на вал в соответствии с рис.
22-я сборка. Лист 1-й.
Сборка узла перемещения оси Z.
— Вставить валы оси Z, а также шаговый двигатель с винтом через основание рамы. (см.рис.ниже).
— Продеть валы через линейные подшиники, установленные на узле Y-Z и вкрутить ходовой винт двигателя в гайку ходового винта, закрепленную на узле Y-Z. (см.рис.ниже).

— Проконтролировать посадку верхних концов направляющих в соответсвующие отверстия на верхней части рамы.
— Произвести крепление направляющих и двигателя к раме. (см.рис.ниже)
22-я сборка. Лист 2-й.


23-я сборка. Установка держателя кабель канала.
Выкрутите из двигателя 2-а винта(см.рис.ниже)

Установите держатель кабель канала согласно рис.

24-я сборка. Сборка прижимного механизма.
Собрать прижимной механизм (см.рис.ниже)

25-я сборка. Сборка подающего механизма.
Собрать подающий механизм согласно рисунка ниже.

Подающая шестерня устанавливается на вал двигателя как показано на рис. ниже.

26-я сборка. Сборка экструдера.
Произвести сборку экструдера согласно рисунка ниже.

27-я сборка. Сборка узла хотенд.
Произвести сборку узла хотенд согласно рисунка ниже.

28-я сборка. Сборка турбин
Склеить турбины и сопла в соответствии с рис ниже.

29-я сборка. Установка турбин и вентилятора.
Произвести сборку турбин и вентилятора в соответствии с рис ниже.

30-я сборка. Установка гнезда разъема постоянного питания.
Просверлить отверстие сверлом Ø10 в соответствии с рис. ниже.

Установить гнездо питания DC, закрутить с обратной стороны гайку.

31-я сборка. Установка платы Arduino.
Произвести установку платы Arduino внутри основания рамы в соответствии с рис ниже.

32-я сборка. Установка платы Ramps 1.4.
Произвести установку платы Ramps 1.4. внутри основания рамы, установив на плату Arduino в соответствии с рис ниже.

При установке платы – требуется внимательно контролировать установку – чтобы правильно установить контакты разъемов ине погнуть их.
Порядок сборки электрической части 3D принтера Prism Uni будет отражено в следующей статье
Автор: LaptevIvan
