
Современные автомобили заботятся о своих пассажирах, подогревая зимой сиденья и рулевое колесо, иногда — подлокотники. Но Ford решил пойти ещё дальше и избавить людей в салоне от контакта с любыми холодными предметами — даже с тонкими полосками ремней безопасности! Не то чтобы подогреваемые ремни были вещью первой необходимости — всё-таки они соприкасаются лишь с небольшими участками тела, но почему бы и нет?
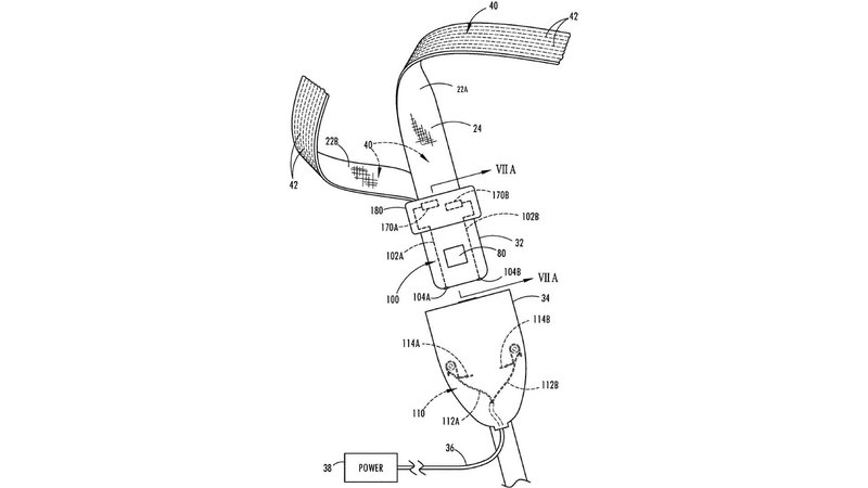
Ремни довольно быстро остывают, что может доставлять, по мнению фордовцев, определённый дискомфорт зимой, осенью и весной, даже несмотря на тёплую одежду. Работает ремень безопасности с подогревом очень просто: в ткань ремня вшиты электрические нагревательные элементы, а питание на них подаётся после защелкивания замка. Да, пристёгиваться всё равно придётся холодным ремнём, но он должен быстро нагреться.
В 31-страничном патенте Ford предлагает даже несколько вариантов ремня с различными конструкциями пряжки. Да, это не самая революционная идея, но тёплые ремни могут оказаться действительно весьма приятной штукой. Впрочем, неизвестно, когда ремни с подогревом появятся на серийных автомобилях и появятся ли вообще, но, по крайней мере, теперь мы будем знать, что Ford придумал это первым.
