
Samsung намекнула в сентябре, что планирует провести дискуссию по поводу будущего складного смартфона на конференции для разработчиков Samsung Developer Conference, которая пройдёт 7 ноября в Сан-Франциско.
Однако новые данные, полученные ресурсом Wall Street Journal у информированных источников, говорят о том, что на следующей неделе южнокорейская компания планирует не только провести дискуссию об особенностях создания складного смартфона, но и продемонстрировать его функции, а также рассказать, как предполагается использовать возможности дополнительного экрана. По данным источников, Samsung уже обсуждает с сервисами YouTube и Netflix наиболее приемлемые способы предоставления контента для такого устройства.
По всей видимости, официального анонса складного смартфона на будущем мероприятии ждать не стоит. Скорее всего, его представят в начале следующего года, возможно, на выставке Mobile World Congress в Барселоне.
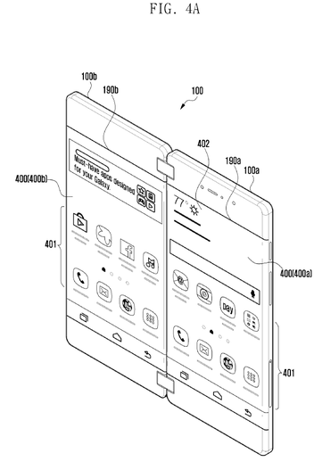
В Сети также появилась информация, что складной смартфон южнокорейской компании получит название Galaxy F (F — foldable, в переводе на русский — складной), номер модели — SM-F900U. Также будут выпускаться версии с номерами модели SM-F900F и SM-F900N, возможно, для европейского и азиатского рынков.
Сообщается, что новый смартфон получит «уникальный» интерфейс Android UI, разработанный в партнёрстве с Google. Спецификации новинки пока неизвестны. По неподтверждённым данным, он будет иметь 512 Гбайт флеш-памяти. Неудивительно, что аналитики прогнозируют цену складного смартфона Samsung на уровне $2000.
