
Появившаяся в Сети информация свидетельствует о том, что Apple планировала применить в самоуправляемом автомобиле, разрабатывавшемся втайне от публики в рамках проекта «Project Titan», выдвижные бамперы.
Ведомство по патентам и товарным знакам США (United States Patent and Trademark Office, USPTO) опубликовало во вторник патент под названием «Выдвижные бамперы для транспортных средств». Заявка на его регистрацию была подана Apple в 2015 году.
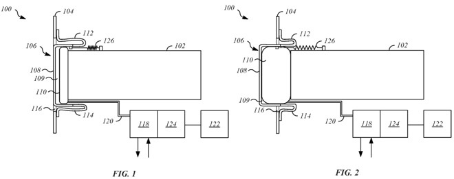
В документе предлагается использовать надувную конструкцию, расположенную сзади бампера для изменения его положения. Сам бампер может быть жёстким, иметь U-образное поперечное сечение и даже поддерживать линейное скольжение при перемещении между двумя положениями. Для более лёгкого перемещения не исключается также возможность использования пружинного механизма.
