
Согласно хрестоматийной хронологии машинного обучения, в 1952 году, то есть спустя год после того, как Минский и Эдмондс собрали и испытали свой SNARC, сотрудник компания IBM Артур Самюэль написал программу для игры в шашки с компьютером IBM 701. С точки зрения математики это было, как говорится, из другой оперы, скорее статистики и теории игр, но с точки зрения машинного обучения это считается теперь одним из краеугольных камней, заложенных в фундамент машинного ИИ, да и введение в оборот самого термина Machine Learning ставят в заслугу именно Самюэлю. Не отрицая важности события, стоит все же заметить, что датой рождения этого вида машинного ИИ IT-историки могли выбрать любой другой год в интервале с 1947 года по 1959 год.
В 1947 году Артур Самюэль, бывший тогда профессором электрофизики в Иллинойсском университете в Урбане-Шампейне, курировал там сборку ILLIAC (Иллинойсский автоматический компьютер). Это был суперкомпьютер своего времени весом в 5 тонн с 2800 электронными лампами. Самуэль, наверное, острее университетского начальства чувствовал, что выделенных правительством на этот проект 110 тысяч долларов не хватит и не помешало бы привлечь еще частных инвесторов, а для этого он придумал выставить компьютер на ближайший чемпионат штата Иллинойс по шашкам, который должен был состояться в следующем 1948 году в городе Канаки в 60 милях от Урбаны, и когда чемпионом станет неодушевленное «железо», деньги инвесторов польются рекой.
Здравый смысл в этом был. Когда компьютер стал обыгрывать гроссмейстеров по шашкам, а потом шахматам, общественный резонанс был оглушительный. Но это случилось много позже. А тогда, в 1947 году, вспоминал сам Артур Самуэль 35 лет спустя, ему казалось «вполне разумным собрать какой-нибудь компьютер за несколько месяцев, а мне — написать программу его проверки <...>, который мог бы бросить вызов новому чемпиону мира по шашкам и победить его в финале. Это дало бы нам необходимую известность. Насколько наивным можно быть!» Чемпионат штата 1948 года прошел без компьютера, победил в нем некий Р.С.Мадок. И только 1962 году, то есть спустя 15 лет, программа Самуэля победила экс-чемпиона штата Коннектикут по шашкам Роберта Нили.
Строительство несостоявшегося шашечного гроссмейстера ILLIAC в Иллинойсе закончили без профессора Самюэля. В 1949 году он перешел на работу в IBM, в ее Лабораторию развития в Покипси, штат Нью-Йорк, где работал в команде программистов строящегося там первого серийного мейнфрейма IBM 701, а в свободное от работы время занимался написанием программы для игры с этой машиной в шашки. IBM 701 был готов в 1952 году, и в том же 1952 году у Самюэля была вчерне готова для него шашечная программа. Еще три года у него ушло на ее совершенствование и проверку на компьютере, а еще год спустя, в 1956 году, IBM по телевидению показала, как их компьютер IBM 701 играет в шашки. Понятно, что в тот день эта ТВ-новость вошла в ТОП мировых сенсаций дня.
В 1959 году Артур Самюэль опубликовал в корпоративном издании «IBM Journal of Research and Development» статью «Некоторые исследования в области машинного обучения с использованием игры в шашки», где писал: «На примере игры в шашки были довольно подробно исследованы две процедуры машинного обучения. Было проделано достаточно работы, чтобы убедиться в том, что компьютер можно запрограммировать так, чтобы он научился играть в шашки лучше, чем человек, написавший программу. Более того, он может научиться делать это за удивительно короткий промежуток времени (18 или 10 часов машинной игры), если ему даны только правила игры, чувство направления и избыточный и неполный набор параметров, которые, как считается, имеют какое-то отношение к игре, но правильные знаки и относительный вес которых неизвестны и не указаны. < … > В результате этих экспериментов можно с определенной уверенностью сказать, что теперь можно разработать схемы машинного обучения, которые значительно превзойдут результаты среднестатистического человека, и что такие схемы обучения в конечном итоге могут оказаться экономически целесообразными применительно к реальным жизненным задачам».
Артур Самуэль выбрал шашки для интеллектуального общения с машиной как наиболее простую игру. Потом появились программы обучения машин в шахматы, крестики-нолики, го и прочие подобные игры. Но и при игре в шашки после первого хода расцветало такое раскидистое «игровое дерево», что для анализа всех разветвлений на всех его ветвях памяти даже такого продвинутого компьютера того времени как 700-й IBM явно не хватило бы. Даже на полном игровом дереве в крестиках-ноликах больше четверти миллиона конечных узлов, в шашках их 5х1020. Было понятно, что надо как-то умно подстригать лишние ветви игрового дерева, и такой метод, получивший название «альфа-бета отсечения» в 1950-е годы независимо друг от друга разработали сразу несколько математиков в США и СССР, в том числе Артур Самуэль, а у нас это был Александр Брудно из Института электронных управляющих машин (ИНЭУМ) АН СССР.
Но первым его реализовал на практике Самуэль в своей шашечной программе, и она вплоть до конца игры, помнила каждый свой ход. Кроме того, правда, уже позже, он заставил ее проштудировать сборник игры чемпионов мира по шашкам, заставлял играть саму с собой и таким образом самообучаться. Как пишут IT-историки, «программа Артура Самуэля для игры в шашки, по-видимому, является первой в мире программой самообучения и как таковая — очень ранней демонстрацией фундаментальной концепции искусственного интеллекта (ИИ), способного на обучение на основе собственного опыта». Впрочем, кому интересно, может самостоятельно почитать его упомянутую выше статью 1959 года, там много довольно интересных вещей даже для неспециалиста, например, как он учил компьютер зубрить наизусть дебюты мастеров, чтобы сразу не попасть в ловушку, а поймать в нее противника.
Следующим и без преувеличения ключевым шагом в истории машинного обучения стало «очеловечивание» Фрэнком Розенблаттом в 1958 году компьютера Mark I Perceptron. В психопатологии этим термином — «очеловечивание» — пользуются врачи и психологи в отношении слепоглухонемых от рождения детей, которые без этого превратились бы в «животных», причем самостоятельно нежизнеспособных. Связь с внешним миром у них остается только с помощью вкусовых, обонятельных и осязательных (тактильных) ощущений. Но последних достаточно, чтобы с помощью специального обучения дать такому человеку шанс на социализацию. Государственная система такого обучения, к слову сказать, на очень высоком уровне была налажена в СССР.
У мейнфреймов тоже был аналог тактильного восприятия, только осязали они не прикосновение, а электромагнитные импульсы. Фрэнк Розенблатт, образно выражаясь, открыл им глаза и снабдил слуховым аппаратом. Издавать звуки, причем не случайные, а организованные они, кстати, уже умели. Manchester Baby исполнял музыку гимна «Боже, храни Королеву», а у нас «Урал» — вариации на тему вальсов и маршей. Но в отличие от компьютера у человека был готовый головной с нейросетью из миллиардов нейронов, созданный за миллиарды лет природой (или в один прекрасный день Господом, это как кому больше нравится), а у компьютера было что-то вроде диффузного плексуса медузы, каковой математически смоделировали Маккалок с Питсом, Хебб усложнил до синаптических ансамблей, а Минский с Эдмондсом обучали условным рефлексам по Павлову.
Потому отдельно вставал вопрос о создании компьютерной нейросети из такого минимального количества искусственных нейронов и так устроенной, чтобы компьютер можно было учить различать зрительные образы, читать, повышая свой интеллектуальный уровень, писать и распознавать речевые образы, то есть слышать общающегося с ним человека и в итоге вести с ним непринужденные беседы. Именно так, разве что в несколько утрированном виде, выглядело видение проблемы машинного обучения выпускника Корнельского университета по специальности социальная психология, доктора философии по экспериментальной психопатологии и сотрудника Корнельской лаборатории аэронавтики Фрэнка Розенблатта. Что касается его математической подготовки, то помимо университетских курсов математики, в старших классах он учился в Высшей научной школе Бронкса, государственной спецшколе для одаренных школьников, где математику преподавали на университетском уровне. Учился он там, кстати, в одном классе с Марвином Минским.
Это видение машинного обучения Розенблатт изложил в своей статье «Персептрон: вероятностная модель хранения и организации информации в мозге», опубликованной в журнале «Psychological Review» в 1959 году, то есть два года спустя после того. как получил от военных грант на разработку «фотоперцептрона» из категории «устройств, которые в конечном счете смогут формировать концепции, переводить с одного языка на другой, сопоставлять данные военной разведки и решать проблемы с помощью индуктивной логики».

За эти два года он проверил первую версию своего «воспринимающего и распознающего автомата» на мейнфрейме IBM 704 и начал строить собственную аппаратную версию первого в мире нейрокомпьютера «Mark I Perceptron». Конструировал и собирал вручную этот мейнфрейм не он, у него под началом была небольшая, но очень толковая команда молодых инженеров и программистов, которые потом сами вошли в историю машинного обучения. Шеф лишь объяснял им, чего он хочет от компьютера. Первая его версия была готова в 1958 году и дорабатывалась и совершенствовалась еще два года.
Название Perceptron, которое Розенблатт дал своей машине, говорило само за себя. Слово «перцепция» (от латинского perceptio) и в латыни, и во всех современных европейских языках, включая русский, означает «восприятие» и имеет массу синонимов (понимание, осознание, мировосприятие, познание, постижение, созерцание и т.д.). А в психологии оно имело особый смысл. Это «процесс, в результате которого элементы сознания человека становятся ясными и отчетливыми, посредством интроспекции, то есть углубленного познания человеком своих мыслей, образов, чувств, переживаний и соединения новых чувственных данных и представлений с его прошлым опытом». Если оставить в стороне словесную эквилибристику, свойственную ученым в любой области, то в сухом остатке, как нетрудно видеть, остается одно-единственное слово — «самообучение».
Первые реальные результаты самообучения мейнфрейма «Mark I Perceptron» с нейросетью из 500 нейронов были более чем скромные. Он учился за несколько секунд запоминать и потом различать листы бумаги, помеченные справа и слева, отличал круг от квадрата, квадрат от ромба, буквы X и E он выучил со 100-процентной точностью, увидев их всего 10 раз. Но похожие друг на друга буквы E и F он учил в шесть раз дольше и все равно путал их в одном случае из пяти. И еще было несколько подобного уровня достижений. Однако начало было положено, а остальное, был уверен Розенблатт, дело техники.
В своей статье 1959 года в журнале «Psychological Review» он писал: «Теоретиков, упомянутых выше, в основном интересовал вопрос о том, как такие функции, как восприятие и запоминание, могут быть реализованы какой-либо детерминированной физической системой, а не о том, как это на самом деле делает
К тому же, они, предыдущие теоретики машинного обучения, по мнению Розенблатта, исходно выбрали не тот математический аппарат, который дал бы нужный результат: «За последние несколько десятилетий развитие символьной логики, цифровых компьютеров и теории переключения произвело впечатление на многих теоретиков функциональным сходством между нейроном и простыми блоками включения-выключения, из которых состоят компьютеры, и обеспечило аналитические методы, необходимые для представления очень сложных логических функций в терминах таких элементов. Результатом стало множество моделей
А в заключение он пишет: «Настоящая теория представляет собой первое реальное построение моста между биофизикой и психологией. Используя уравнения, приведенные в предыдущих разделах (его статьи — Ред.), можно предсказать кривые обучения на основе неврологических переменных, а также аналогичным образом предсказать неврологические переменные на основе кривых обучения. Насколько хорошо этот мост выдержит повторные переходы, еще предстоит выяснить. Между тем изложенная здесь теория наглядно демонстрирует осуществимость и плодотворность количественного статистического подхода к организации когнитивных систем. Есть надежда, что, изучая такие системы, как «персептрон», можно в конечном итоге понять те фундаментальные законы организации, которые являются общими для всех систем обработки информации, включая машины и людей».
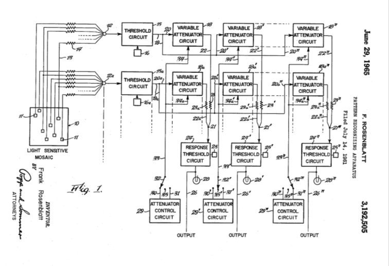
В 1961 году Розенблатт подал патентную заявку на изобретение «Устройства для распознавания образов», (сам патент США №3192505 он получил в 1965 году). В ней он пишет: «Основной целью настоящего изобретения является создание устройства, которое автоматически различает заданные шаблоны (cветовые мозаики – Ред.) … Другая задача состоит в том, чтобы создать устройство, способное отличать один узор от другого, даже если они различаются по ориентации или деталям. Ещё одной целью изобретения является создание устройства, которое распознает шаблоны с помощью заранее установленного адаптивного процесса обучения». Ни слова о машинном разуме и нейросетях в этом патенте нет. Описан только механизм того, как сделать машину зрячей.
Зато они были в другом его патенте на «Устройство для восприятия паттерна аудиосигнала» (патент США №3287649 от 22 ноября 1966 года с приоритетом от 9 сентября 1969 года).
Наверное, тут надо заметить, что в 1966 году Розенблатт уже отошел от компьютерных дел и преподавал на факультете нейробиологии и поведения, появившемся в Корнельском университете в 1964, а в дальнейшем, незадолго до своей гибели при несчастном случае в 1971 году в возрасте 43 лет, стал его деканом.
Этот второй патент Розенблатта тоже оцифрован и свободно доступен в сети. При его чтении (в результате, как мы теперь знаем, присущей всем нам простой человеческой перцепции с интроспекцией) возникает стойкое ощущение, что читаешь несуществующий патент на его «перцептрон Марк I» в целом.
«Настоящее изобретение относится к устройствам и методам моделирования и исследования сложных механизмов человеческого разума, — пишет изобретатель Розенблатт в преамбуле свой патентной заявки. — Известно и доказано, что нервные клетки, или нейроны, являются основными функциональными единицами головного
Далее он переходит к сути своего изобретения: «Таким образом, применение механизмов аналоговой памяти в нейронной сети является основным объектом настоящего изобретения. Другой, более конкретной целью данного изобретения является создание так называемого перцептрона, который в целом определяется как класс минимально ограниченных нейронных сетей, состоящих из логически упрощённых нейронных элементов. Такие моделируемые нейронные сети способны к адаптивному или самоорганизующемуся поведению».
После этого он добавляет: «Более ограниченной целью настоящего изобретения, хотя и являющейся его предпочтительным воплощением, является переход от простого трехслойного последовательного элементарного перцептрона, подходящего для распознавания визуальных образов (то есть его первого зрительного «Mark I Perceptron» — Ред.), к его более сложной производной, обладающей характеристиками, подобными свойствам
А в заключение он выражает уверенность, что «специалистам в данной области придут в голову различные модификации изобретения. Например, можно добавить систему визуального ввода к аудиопрецептрону, чтобы проводить эксперименты, связанные с ассоциацией визуальных и вербальных паттернов ввода. Также должно быть очевидно, что трехслойный прецептрон можно расширить, «сделав его входным каскадом более крупной многослойной системы», например, можно создать более сложный перцептрон, такой как пятислойная система».
Специалисты по машинному обучению из будущего не обманули надежд Розенблатта. По данным ВОИС, в 2013-16 гг. почти 90% патентов на методы ИИ и 40% от общего числа патентов в области ИИ связаны с машинным обучением, при этом число патентов на глубокое обучение выросло на 175%, на многозадачное обучение на 49%, на нейронные сети на 46%. Аналогичная тенденция характерна прослеживается и в зарубежных патентных ландшафтах для нулевых, десятых и начала двадцатых годов нашего столетия, их легко найти в сети и полистать. Более того, появились даже инструкции для изобретателей в этой области, своего рода патентоведческий ликбез, где описаны основные различия при подаче заявки на патент на программное обеспечение и на машинное обучение, а также проблемы, с которыми сталкиваются заявители изобретений на машинное обучение.
Если же вернуться в конец 50-х – начало 60-х годов прошлого века, то и тогда был приступ эйфории по поводу ИИ и машинного обучения, правда, несравненно меньшего масштаба по сравнению с нынешним, но тоже заметный простому народу. В 1958 году начальство ВМС США, в чьем подчинении была лаборатория аэронавтики Корнельского университета устроила презентацию Mark I Perceptron для СМИ, где офицеры продемонстрировали «прототип электронного компьютера под названием «Perceptron», и, сказав при этом, что они «не решаются назвать его машиной, потому что оно очень похоже на "человека без жизни” (human being without life)», оставили Фрэнкса Розенблатта одного отдуваться перед журналистами за своего Голема.
Новость разлетелась по всем мировым новостным агентствам, газета The New York Times опубликовала статью «Электронный “мозг” учится сам», журнал The New Yorker для своей аудитории продвинутой интеллигенции разразился ехидной заметкой под заголовком «Rival» (соперник, конкурент, враг), и даже авторитетный научный журнал «Science» не удержался от заголовка «Человеческий
Но в отличие от народа, который сразу и безоговорочно поверил в скорую возможность научить компьютер стать мыслящей машиной, сами разработчики таких машин насчет сроков были настроены скептически. В 1963 году Марвин Минский писал, что инопланетянин, посетивший Землю, «обнаружил бы лишь несколько машин <…>, выполняющих действия, которые могли бы претендовать на какой-либо реальный интеллектуальный статус. Некоторые из них могут доказывать математические теоремы довольно непримечательного характера. Некоторые могут играть в определенные игры, иногда побеждая своих создателей. Некоторые могут различать буквы, напечатанные от руки. Достаточно ли этого, чтобы оправдать такой большой интерес, не говоря уже о глубокой озабоченности?»
Тем не менее, даже он, сильно сомневавшийся в будущем «перцептрона» Розенблатта, верил, что «мы стоим на пороге эры, в которой сильное влияние и, вполне возможно, доминирующее положение будут оказывать интеллектуальные машины, решающие проблемы». Если оставить в стороне робототехнику, апофеозом которой стал пылесос-автомат, обходящий ножки стульев, на этом можно закончить с тремя первыми и главными шагами в машинном обучении, в результате которых появился искусственный машинный интеллект.
Да, еще плохо видевший что-то для него непонятное, слышавший тоже пока непонятные звуки и не способный произнести что-либо членораздельное. Но исходно слепоглухонемого искусственного интеллекта в принципе не могло быть, разве что имитирующего мировосприятие медузы. Отчетливо видеть и слышать и понимать, что он видит и слышит, а потом читать, писать, и делать из увиденного, прочитанного, услышанного собственные выводы, поддерживать беседу с человеком — все это его научили делать следующие два поколения инженеров, изобретателей и ученых. Это была по-настоящему не имевшая прецедентов по сложности работа, подробно, по шагам описать которую тут нет места, да и описана она уже много раз IT-историками. Поэтому конспективно перечислим некоторые вехи на этом пути за период с 60-х годов прошлого века до начала нашего века.
В эти годы совершенствуется математический аппарат МО. Используются байесовские методы, идеально походившие для вероятностного вывода в машинном обучении, так как вероятность гипотезы обновляется с появлением новой информации. Предлагаются такие алгоритмы, как k-средних (k-means) для кластеризации и линейная регрессия для предсказания. Используются деревья принятия решений для задачи классификации. Публикуется метод автоматического дифференцирования (обратное распространение ошибки), ставший математической основой для развития глубокого обучения. Формулируется универсальная теорема аппроксимации, согласно которой искусственная нейронная сеть прямой связи с одним скрытым слоем может аппроксимировать любую непрерывную функцию многих переменных с любой точностью, если в скрытом слое имеется достаточное число нейронов и они связаны между с собой и нейронами на входе и выходе определенным образом. Что, в свою очередь, предполагало, что достаточно большая или глубокая сеть может моделировать сложные нелинейные взаимосвязи, более присущие не математизированным, а реальным данным. Появляется алгоритм уже не для дерева принятия решений, а для «случайного леса», «ансамбля деревьев решений». И так далее.
В тот же временной отрезок, с конца 1960-х по конец 1990-х совершенствуются и нейронные сети. В конце 70-х годов в Японии появляется неокогнитрон, распознающий иероглифы, который позже получит развитие в виде сверхточных нейронный сетей, предназначенных для глубокого обучения. В начале 80-х нейронные сети компьютера различают все 26 букв английского алфавита, 10 цифр и 4 символа программирования. Тогда же появляется первая рекуррентная нейронная сеть, сохраняющая информацию о предыдущий шагах обработки данных, то есть появляется зачаток контекста, а у сетей — перцепция с интроспекцией, о чем мечтал Фрэнк Розенблатт. В середине 80-х нейросеть NETtalk учится произносить слова, как ребенок, только учит ее не мать, а оператор компьютера. В конце 1990-х появилась разновидность рекуррентной нейронной сети — LSTM (с длинной цепь элементов краткосрочной памяти). Тогда же, в конце 90-х, была создана база данных MNIST из 60 тысяч образцов рукописного написания цифр (их взяли у сотрудников Бюро переписи США и старшеклассников), что стало эталоном для обучения машин распознаванию рукописных текстов.
Уже в нашем веке появились программные библиотеки машинного обучения и все остальное, вплоть до генеративного искусственного интеллекта чат-ботов и превращения словесного описания в изображение. А машинное глубокое обучение с помощью многослойных нейронных сетей приводит к тому, что МО становится неотъемлемой частью многих широко используемых программных сервисов и приложений. Нет смысла перечислять дальше, потому что со всем этим мы сталкиваемся постоянно, и даже кратко описать их по очереди в соответствие с хронологией машинного обучения не хватит места. Одних парадигм машинного обучения сейчас насчитывается 13 штук. Можно только повторить сказанное выше. Обучить машину можно было только после того, как она была очеловечена.
А к чему на данный момент привело машину ее обучение, лучше спросить у самой машины.
О сервисе Онлайн Патент:
Онлайн Патент — цифровая система № 1 в рейтинге Роспатента. С 2013 года мы создаем уникальные LegalTech‑решения для защиты и управления интеллектуальной собственностью. Зарегистрируйтесь в сервисе Онлайн‑Патент и получите доступ к следующим услугам:
-
Онлайн‑регистрация программ, патентов на изобретение, товарных знаков, промышленного дизайна;
-
Опции ускоренного оформления услуг;
-
Бесплатный поиск по базам патентов, программ, товарных знаков;
-
Мониторинги новых заявок по критериям;
-
Онлайн‑поддержку специалистов.
Автор: sokolovps
