
Не так давно на Хабре упоминался юрист, высказывавший мнение, что правообладатели так просто не пройдут мимо бума 3d печати, и обязательно будут разрабатываться те или инные способы взять это дело под контроль.
Сегодня на technology review появилась заметка, подверждающая мнение, что такое развитие из фантастического сюжета может перейти в плоскость реальности.
Компания Intellectual Ventures, получила патент, позволяющий 3d принтерам, перед печатью объекта, сверятся с базой на наличие у пользователя прав, на данный объект. В случае если копия окажется «пиратской», то принтер откажется её печатать.
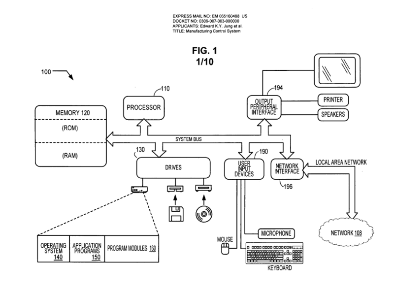
Иллюстрация к патенту:

Патент покрывает не только область послойной 3d печати, но и другие способы воспроизводства материальных обьектов, как 3d так и 2d — штамповку, литьё, печать, рисование и даже татуировки (так и и вижу, как на улице, адвокаты будут хватать людей с татуировками и тащить и в суд).
Скорее всего, в обозримом будущем массовое внедрение таких технологий маловероятно — всё же принтеры и интернет существую давно, и пока что, ни смотря на наличие технической возможности, принтеры не бастуют, если мы попытаемся напечатать закопирайченный контент, но как говорится — чем чёрт не шутит.
К счастью у производителей 3d принтеров, пока что нет ни малейшего стимула внедрять DRM в свои устройства, однако кто знает, какие законодательные акты на этом поприще нас ждут в будущем и в какой ситуации могут оказаться эти самые производители.
Похоже впереди нас ждёт очередной занимательный виток борьбы приверженцев копирайта и свободного распространения, и надеяться на торжество разума над жадностью.
UPD: ссылка на сам патент
Автор: elmm
