На днях компания Samsung подала документы для регистрации патента, в котором описывается работа системы сдвоенной камеры для мобильных устройств.
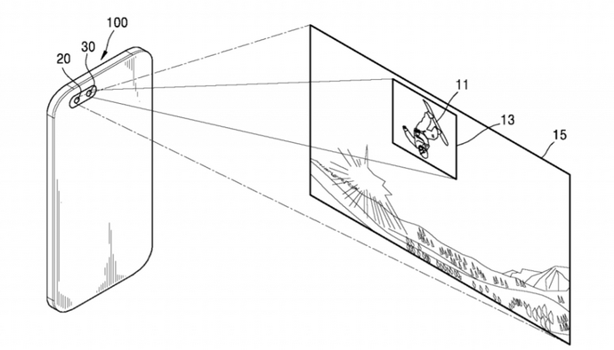
Сопроводительные изображения демонстрируют нам смартфон, основная камера которого является сдвоенной. Также по картинкам понятно, что одна камера является широкоугольной, а вторая используется для более детального захвата изображения, которое находится в фокусе.
Ранее уже проскакивали слухи о том, что флагманский смартфон Samsung Galaxy S8 будет оснащен сдвоенной камерой, однако они пока не были подтверждены. Но Samsung не может оставаться в стороне от тренда, когда основные конкуренты уже выпустили смартфоны с подобными камерами.
Источник:
Galaxy Club
