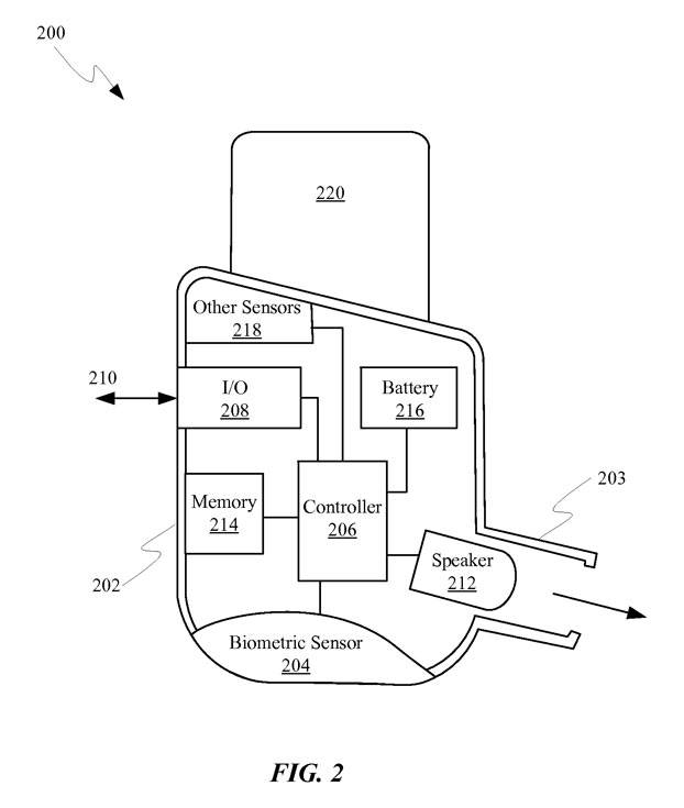
В базе данных патентного ведомства США появилась запись о патенте №9602911, выданном сегодня компании Apple. Патент, заявка на получение которого была подана в сентябре 2015 года, называется «Вставные наушники с биометрическим датчиком».
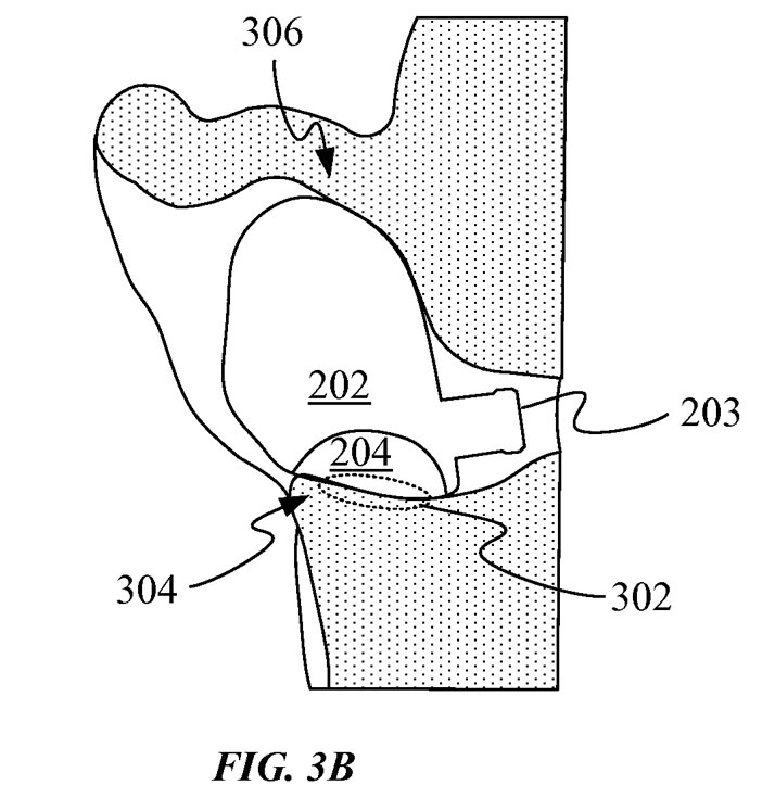
Описанное в патенте устройство может иметь несколько биометрических датчиков, но, по крайней мере, один из них должен быть рассчитан на контакт с козелком.
По замыслу изобретателей, будучи прижат к коже на этом участке, датчик сможет выполнять биометрические измерения.
Наушник может быть симметричным и подходить как для правого, так и для левого уха. В этом случае он должен быть оснащен датчиком, определяющим текущее положение и соответственным образом корректировать работу наушника.
Источник: USPTO
