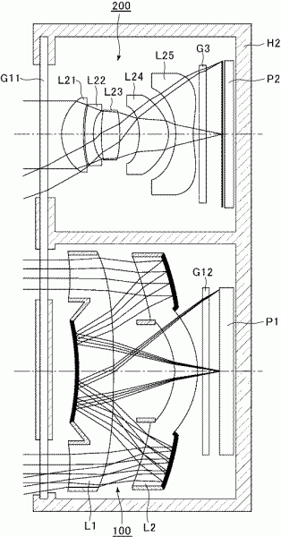
Компания Tamron, известная как производитель сменных объективов для зеркальных и беззеркальных камер, подала заявку на патент, в которой описана сдвоенная камера, вероятно, рассчитанная на использование в смартфонах.

Особенность этой камеры заключается в том, что один из двух модулей имеет привычный широкоугольный объектив, тогда как второй оснащен зеркально-линзовым или катадиоптрическим телеобъективом. Зеркально-линзовая конструкция позволяет получить большое фокусное расстояние при небольших размерах самого объектива.
Информации о сроках воплощения патентуемого решения в серийной продукции пока нет.
