Несколько лет назад мы рассказывали об интересной заявке на патент, поданной Apple в американское патентное бюро. В ней был описан «бумажный пакет… из плотной отбеленной бумаги, не менее чем на 60% изготовленной из вторсырья». По мнению изобретателей, этот пакет можно использовать для покупок в розничной торговле.

История получила продолжение. Ведомство по патентам и товарным знакам США на днях выдало Apple патент №10259616 «Белый бумажный пакет, изготовленный из вторсырья с ручкой из бумажной пряжи круглой вязки».

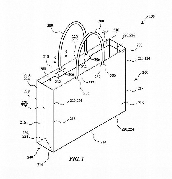
Конструкция пакета детально изображена на иллюстрациях к заявке, которых насчитывается около десятка. Как видно, «ручки из бумажной пряжи круглой вязки» могут свободно свисать вниз.
