Беспроводная зарядка уже не редкость в мобильных устройствах, но, как и во многих других случаях, мир камер немного отстает. Хотя, возможно, компания Canon собирается изменить эту ситуацию. Во всяком случае, в американское патентное ведомство сегодня опубликовало заявку на патент, в которой описана беспроводная зарядка.
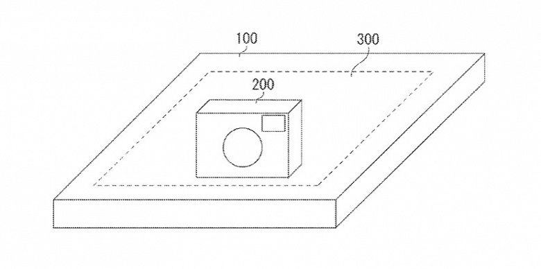
Заявка №10375639 была подана 19 октября 2016 года. В ней подробно описано устройство для беспроводной зарядки, которое включает блок связи, блок передачи питания и блок управления, который регулирует мощность, подаваемую заряжаемому устройству, следит за временем зарядки и напряженностью поля, используемого для передачи энергии.
Хотя изобретатели не ограничивают круг заряжаемых устройств камерами, в заявке есть и прямое указание, что «заряжаемое электронное устройство может быть устройством для формирования изображения», то есть камерой.
По замыслу изобретателей, зарядная площадка может определять присутствие камеры с помощью NFC, регулировать выходную мощность в соответствии с потребностями камеры и следить за температурой камеры во избежание перегрева.
Неясно, будет ли Canon полагаться на уже существующий стандарт беспроводной зарядки, такой как стандарт Qi, или сделает ставку на фирменную разработку. Впрочем, пока неизвестно даже, планируется ли использовать патентуемую разработку в серийной продукции вообще.

