Компания Apple продолжает активно продвигать свои умные часы в том числе в качестве устройства для отслеживания показателей здоровья. У часов уже часть датчик ЧСС с расширенными возможностями, есть датчик ЭКГ и есть функция отслеживания падений.
Всё это в совокупности с ПО помогает спасать жизни, так что Apple Watch действительно не стоит рассматривать исключительно как умные часы.
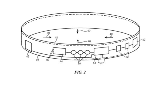
Новый патент купертинского гиганта описывает, какие ещё особенности могут появиться в будущих моделях часов.
Сам патент к часам не относится. Фактически он описывает растягивающуюся ткань, в которую можно интегрировать различные датчики. К примеру, те же контакты для получения ЭКГ, датчики для измерения давления, частоты дыхания и так далее.

Само собой, наиболее логично использовать такие технологии совместно с Apple Watch. Проще говоря, сделать браслеты для умных часов из подобной ткани. Но сама Apple в патенте указывает и другие сценарии. К примеру, это может быть повязка на голову, браслет на запястье, одежда с подобными элементами (шляпы, брюки, рубашки, нижнее бельё), спортивная одежда, эластичный пояс и даже носки. Но вряд ли Apple возьмётся продавать носки и нижнее бельё.

