За годы исследований военные инженеры придумали массу странных, вычурных и просто безумных конструкций. Проследим за их работой с 17 века и до наших дней.
Вы узнаете, что общего у римской свечи и самого скорострельного пулемета, как идеи Архимеда помогли спецназу, и почему некоторые магазины надо заводить, как часы.

Для начала, несколько слов о распространенных конструкциях.

Пистолет Walther Model 4, популярный во время Первой мировой войны. Анимация целиком
Наверняка, первое, о чем вы подумали — обычный магазин — прямоугольный короб с пружиной, куда заталкиваются патроны. Сперва магазины прятали глубоко в корпус оружия, затем стали делать съемными.
В помповых ружьях прижились трубчатые магазины, где патроны уложены друг за другом вдоль ствола.

Классический американский дробовик Remington Model 10. Анимация целиком
По фильмам о Второй мировой вам наверняка знакомы обоймы (stripper clip) и пачки (en-bloc clip) — гнутые металлические направляющие, которые удерживают патроны. Они выглядят похоже, но отличаются по назначению.

Немецкий Mauser C96. Анимация целиком
Обоймы нужны, чтобы быстро загрузить патроны в магазин, а вот пачки вставляются внутрь оружия и служат направляющей для подачи патронов во время стрельбы.

Итальянская Винтовка Carcano образца 1891 года. Анимация целиком
В середине 20 века скорострельное оружие использовало барабаны (такие есть у ППШ и пистолета-пулемета Томпсона) и диски (как у пулеметов Дегтярева и Льюиса).

Пулемет Льюиса с дисковым магазином. Анимация целиком
К 21 веку их практически вытеснили гибкие патронные ленты, которые распадаются на отдельные звенья и весело разлетаются во время стрельбы. Но это лишь верхушка айсберга.
▍ Огнестрельная римская свеча
Хочется выстрелить из одной гром-палки два раза подряд — добавь еще стволов. Классический пример такого подхода — ружье двустволка, но история знает и короткоствольные пистолеты-перечницы и утиные лапы с веером стволов. Примитивно, но действенно.

Кстати, такие звездообразные прямые нарезы не влияют на точность и дальность стрельбы. Их делали, чтобы внутри собиралась пороховая гарь, и оружие можно было реже чистить
Одна проблема, многоствольное оружие получается громоздким и тяжелым. Поэтому в 17 — начале 18 века нашлись оружейники, которые рискнули затолкать несколько зарядов в один ствол.
Об унитарных патронах еще никто и не мечтал. Ружья заряжались с дула: в ствол проталкивался пыж, например, из промасленной бумаги, насыпался порох, затем помещалась пуля. На этом стоило бы остановиться, но ведь можно добавить еще один пыж, заряд и пулю и еще… Нужно только научиться воспламенять заряды один за другим.
Для этого на ружьях и пистолетах стали устанавливать дополнительные курки. Первое время без защиты от дурака. Владелец такого ружья мог лишиться пальцев, ошибившись с порядком выстрелов.

Чуть позже появились конструкции, которые сами по очереди спускают курки, например, при помощи распределительного вала с храповым механизмом. Этот вариант надежнее, но по-прежнему есть немалый шанс, что пороховые газы прорвутся сквозь пыж, сработает второй заряд, и ствол разорвется от нагрузки.

Такое опасное для стрелка оружие не могло обрести популярность, но, как ни странно, у него оставались поклонники. Его совершенствовали.

Уже в 1820-х неизвестный мастер придумал, как обойтись одним ударно-спусковым механизмом. Он поместил замок на подвижную каретку, которая сдвигается назад после каждого выстрела. Получилась «римская свеча» аж на 12 зарядов.
Следующим был американец Джон Уолч (John Walch), который в 1860-х затолкал по паре зарядов в каждую камору своего капсюльного револьвера. К каждому из них был подведен отдельный канал для передачи искры от отдельного капсюля.

Так Уолч увеличил боезапас до 10 выстрелов, но в барабане не хватало места для двух полноценных пороховых зарядов. Револьвер получился слабее аналогов.
И все же, это изобретение попало на вооружение одной из рот союзников во время американской гражданской войны, и только потом было благополучно забыто. А вот идея римской свечи — нет.
В конце 20 века к ней вернулся австралийский менеджер Джеймс О’Дуаер (James Michael O'Dwyer). Он придумал решение проблемы одновременного срабатывания нескольких зарядов. Им стали пули с юбкой-уплотнителем из армированного нейлона.

После первого выстрела, уплотнитель вокруг оставшихся пуль слегка расширялся под давлением и не давал горячим газам прорваться к следующему пороховому заряду. Другими особенностями конструкции стали: воспламенение пороха при помощи электрической дуги и микроконтроллер для управления стрельбой.

О’Дуаер в своей мастерской
В 1983 году О’Дуаер забросил торговлю и вложил все деньги в разработку оружия под брендом Metal Storm. Сперва он экспериментировал с пятизарядным пистолетом, который распознавал владельца по кольцу.
К сожалению, в открытом доступе этот кадр есть только в таком виде
Однако, настоящую славу О’Дуаеру принес проект залпового пулемета. Он даже попал в книгу рекордов Гиннеса и в одну из игр серии Battlefield.
Конструктор собрал прямоугольный блок из 36 стволов по 5 пуль в каждом и снабдил их системой электровоспламенения. Получилось оружие вообще без подвижных элементов, разве что кроме пуль, и с чудовищной скорострельностью — 180 выстрелов за 0,01 секунды.
Такое облако свинца могло бы пригодиться для борьбы с воздушными целями, но пулемет был, по сути, одноразовым. Для перезарядки его надо было отправлять обратно производителю.
Похожий недостаток был и у другой разработки О’Дуаера — дробовика MAUL, который позиционировался как вспомогательное оружие для полиции. После пяти выстрелов он требовал замены всего ствола.

В августе 2010 года Metal Storm получила контракт на поставку 500 дробовиков и 10 тыс. стволов к ним в тюрьмы Папуа — Новой Гвинеи, но на этом успехи компании закончились. Через два года она обанкротилась.
Патенты достались другой австралийской фирме — DefendTex. По данным на 2018 год, она использует технологии Metal Storm для разработки вооружения боевых беспилотников. Так что, возможно, мы еще услышим об этой технологии.
▍ Система Лоренцони
Вернемся в конец 17 века, ко двору великого герцога Тосканы Козимо III Медичи. Флорентийские владыки не жалели денег на меценатство и спонсировали не только художников и скульпторов, но и оружейников.

Один из них, Микеле Лоренцони, умудрился изготовить многозарядное магазинное ружье без унитарного патрона.

В его конструкции круглые пули и порох хранились раздельно в паре длинных трубок (одна в прикладе, другая вдоль ствола) и подавались в ствол при помощи диска с полостями. Его вращает стрелок, держась за специальную рукоятку. Она же взводит курок.
Одна беда, у Лоренцони не было современных пружин. Чтобы порох и пуля попали в отведенные им места, ружье приходилось поднимать вертикально перед каждым выстрелом, а затем — направлять стволом в землю.

О жизни Лоренцони ничего не известно, но его конструкцию помнили и повторяли, чуть упростив, аж до конца 18 века. Так, Харви Мортимер (Harvey Walklate Mortimer), оружейник Георга III изготовил для для Горацио Нельсона пистолет с магазинами в рукояти. Перезаряжать его было заметно проще, чем оригинальные итальянские ружья. Впрочем, стоил он также чудовищно дорого.

С изобретением современного патрона система Лоренцони попала в разряд музейных редкостей, но один наш современник вдохновился и переизобрел ее на современной технической базе.
В этом самодельном пистолете за загрузку пороха и пуль отвечает небольшая скользящая планка. Порох поджигает искра от батареи, встроенной в рукоять, которая напечатана на 3D-принтере. Хай-тек, пускай и родом из 17 века.
▍ Магазин с переподвыподвертом

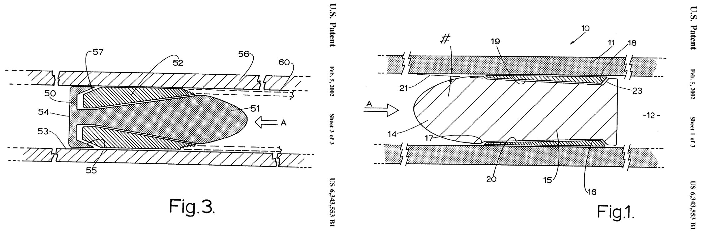
В 1948 году инженер-нефтяник без формального образования, Джон Хилл (John L. Hill) показал военным пистолет-пулемет с плоским прямоугольным магазином, который крепился поверх ствольной коробки. Это решение позволило заметно увеличить боезапас. Вот только патроны в магазине лежали перпендикулярно стволу оружия.

В корпусе пистолета-пулемета был механизм, похожий на миниатюрную танковую башню, который разворачивал каждый патрон в правильное положение перед выстрелом.

Патент дает хорошее представление об этой конструкции
Прототипы попали к военным и даже в ФБР, но те не заинтересовались. Тогда Хилл продал права на производство компании H&B Enterprises. Она выпустила небольшую партию ПП (от силы 100 штук), и даже отправила один на испытания в Бельгию. Тоже без особых результатов.

На youtube есть подробный видеообзор этого оружия
В послевоенное время пистолет-пулемет Хилла оказался никому не нужен, но он просто появился в неудачное время. К 80-м теоретики НАТО задумались о том, чтобы получше вооружить бойцов «второй линии»: артиллеристов, связистов, водителей грузовиков. Так появилась идея PDW (Personal defense weapon) — компактного мелкокалиберного скорострельного оружия.

Прототипы FN Herstal
Бельгийская компания FN Herstal взялась разработать нечто подобное. Тут-то и вспомнили про Джона Хилла. Идею решили докрутить, изготовили несколько странных с виду прототипов, и в 1989 году запатентовали новый, намного более простой способ подачи патронов.

Рене Предазер (Rene Predazzer), автор этой конструкции, не стал заморачиваться с поворотным элементом. Вместо этого он сделал на выходе из магазина спиральный канал. Пружина проталкивала туда патроны, и они постепенно разворачивались в нужное положение. Как это работает, хорошо показано на видео:
В результате появился FN P90. Иронично, но как PDW его используют только в Бельгии. НАТО не приняло этот пистолет-пулемет на вооружение из-за нестандартного калибра. Зато, за компактность и магазин на 50 выстрелов P90 полюбился спецназу. Сейчас его закупают в десятках стран мира

До недавнего времени FN P90 был единственным серийным оружием, в котором используется эта поворотная схема подачи патронов, но в прошлом году ее приспособили к еще одному пистолету-пулемету.

Kel-Tec P50 примечателен еще более необычной, «бутербродной» схемой крепления магазина. Он зажимается между цевьем и стволом и подает патроны вверх. Для перезарядки оружие буквально разламывают на две части. Механизм со свободным затвором и двойной возвратной пружиной остается в верхней половине, а в нижней оказываются рукоять со спусковым крючком.
▍ Скованные одной цепью
Вновь вернемся в прошлое, на этот раз в 1838 год, в США. Там Эпентус Беннет (Epenetus Bennett) и Фредерик Хэвиленд (Frederick Haviland) придумали Many Chambered Gun.

Внутри ствольной коробки их ружья находилась пара зубчатых роликов, на которые натянута цепь из 12 прямоугольных блоков, соединенных шарнирами. В блоках проделаны отверстия для пороха и пуль, снизу прикреплены трубки для капсюлей. Цепь вращалась вручную при помощи диска с четырьмя рукоятками.

Конструкторы сделали не больше десяти таких ружей, но продали их с большим трудом. Да, с созданием многозарядного оружия они справились, но блоки в цепи ничем не закрывались. Старательно заряженные пули можно было растерять, просто неудачно наклонив ружье. К тому же, в зазор между блоком и стволом прорывались пороховые газы, и это заметно снижало силу выстрела.

Через 16 лет в Британии разработали чуть более практичный вариант цепного заряжания. У Treeby Chain Gun появился ствол с резьбовым креплением.
Перед выстрелом его слегка отвинчивали и взводили курок, механизм помещал новое звено в боевое положение, ствол завинчивали, и он герметизировал камору с пороховым зарядом. И так после каждого выстрела.

Серийно Treeby Chain Gun не производилось.
Другое дело, цепное оружие Полена Гэя (Paulin Gay) Анри Гено (Henri Guenot), запатентованное 17 января 1879 года. Сейчас оно известно, как Guycot Chain Pistol.

Здесь цепь расположена внутри корпуса. Она изгибается и уходит в рукоять. Каждое звено в ней — миниатюрный патронник, спроектированный под специальные полые пули с пороховым зарядом внутри.

Механика Guycot Pistol работала за счет силы стрелка. При первом нажатии на спусковой крючок цепь проворачивается на одно звено. Второе нажатие заставляет ствол откатиться назад и закрыть зазор, в который могут прорваться пороховые газы, и одновременно спускает курок.

Пистолеты Guycot были рассчитаны на 40 выстрелов без перезарядки, винтовки — аж на 80. Они использовались для развлекательной стрельбы, но в остальном были бесполезны из-за малого калибра и скромной навески пороха.

Последние попытки применить цепь для питания оружия пришлись на первую половину 20 века. Сперва, в 1936 году, Левис Номар (Lewis Nolan Nomar) сконструировал чудовищно сложный магазин для пистолета Colt 1911. Просто взгляните на патент.

На эту штуку тоже есть видеообзор
Чуть позже, в 1934 году сотрудник итальянской оружейной фирмы FNA Brescia Джулио Соссо (Giulio Sosso) собрал с виду вполне обыкновенный пистолет. Разве что рукоять была толще обычного.

Конструктор спрятал внутри цепочку из 21 сегмента с U-образными зажимами, куда вставлялись патроны. Пружин в конструкции магазина не было, вращение цепи обеспечивала система из Г-образного рычага и тяги с крючком. После выстрела затвор пистолета окатывался назад, протаскивал тягу и передавал часть энергии рычагу. Тот, в свою очередь, проворачивал цепь.
Таким образом Джулио Соссо избавился от проблем с усталостью пружины и приобрел целый букет новых. Главной из них было множество мелких, сложных в изготовлении деталей с малыми допусками. Даже фирма, в которой он работал, не бралась наладить серийное производство. Было изготовлено от силы 5 таких пистолетов, и все они были раздарены высокопоставленным итальянским политикам и военным.
На этом история цепных магазинов закончилась. Изобретение Соссо не имеет прямого отношения к современным пулеметным лентам.

Они развивались параллельно и произошли от жестких металлических направляющих типа пачек. Сперва их вытеснили холщовые ленты с кармашками для патронов (типа той, что вы видели на гифке в начале статьи), а затем металлические клипсы, скрепляющие патроны между собой.
▍ Смертельная спираль
История, пожалуй, самого успешного «альтернативного» магазина началась на диком западе, с разработки стоматолога по имени Уоренн Эванс (Warrin Evans). Он на пару со своим братом-инженером Джорджем увлекся оружейным делом и в 1873 году основал Evans Repeating Rifle Company.

Все ради производства собственной рычажной винтовки. Она напоминала классические винчестеры из вестернов, если бы не одно «но», цилиндрический магазин-приклад, в который помещалось 38 патронов.

Эванс догадался использовать в конструкции магазина принцип архимедова винта. Патроны скользили между спиральными направляющими под действием вращающегося толкателя с четырьмя лопастями.
Стрелок дергал за рычаг, а механизм отпирал затвор, выбрасывал гильзу и поворачивал толкатель, который подавал новый патрон. Тренированный ковбой мог расстрелять весь магазин за 19 секунд. А скорострельность тогда ценилась.

Если бы винтовки Эванса лучше переносили грязь и требовали меньше ухода, их взяла бы на вооружение американская армия. Но и без военных заказов Evans Repeating Rifle Company за девять лет продала около 15 тыс. винтовок с новыми магазинами. Укороченный вариант с утяжеленной пулей даже поставляли в Россию во время русско-турецкой войны.
Правда, в конце концов, завод Эванса проиграл в конкурентной борьбе Винчестеру и закрылся. В 1879 году стоматолог вернулся к врачебной практике, а его брат продолжил изобретать, но уже в мирном русле.
Винтовка Эванса достаточно хорошо известна военным историкам, но никто не пытался усовершенствовать ее магазин вплоть до середины 20 века.

Прототип пистолета-пулемета Кучера под патрон 7,62х25 ТТ.
В 1950-х сначала венгерский военный инженер Йозеф Кучер (József Győrik), а чуть позже и канадец Клифард Дуглас (Clifford Douglas) заменили толкатель в цилиндре с патронами на полноценный шнек, как в советской мясорубке.

Непонятно, как именно работал ПП Кучера, а вот о разработке Дугласа известно больше. Принцип оставался тем же, что у Эванса, но магазин был съемным. Из его передней части выступал вал с шестерней. Затвор, откатываясь после выстрела, цеплялся за зубцы и проворачивал шнек на ⅛ оборота. Этого хватало, чтобы извлечь из магазина новый патрон.

Оба прототипа поступили на испытания в войска, но были забракованы, скорее всего, как недостаточно надежные.
Настоящего прорыва добились американцы Майкл Миллер (Michael Miller) и Уоррен Стоктон (Warren Stockton) в 1985 году. Они придумали принцип «шахматной спирали» — заполнили пространство между шнеком и стенкой магазина патронами в два ряда, в шахматном порядке.

Патроны во внешнем ряду выполняли роль роликов, по которым катятся патроны во внутреннем ряду. Это облегчило вращение шнека и позволило использовать для подачи патронов плоскую заводную пружину — решение, отработанное на дисковых магазинах. Заряженный магазин можно было хранить неограниченно долго и завести прямо перед стрельбой, так пружина почти не изнашивалась.
Магазин Миллера и Уоррена не зависел от автоматики оружия. Пластмасса с армированием стекловолокном уменьшила его вес, и внутрь без проблем помещалось от 50 до 100 выстрелов, в зависимости от длины магазина.
Кроме того, конструкторы отказались от торцевой подачи патронов и сделали направляющую, выводившую их сбоку цилиндра. Это позволило сделать оружие с нормальным прикладом, но оно все равно выглядело мягко говоря необычно.

Получилось целое семейство пистолетов-пулеметов, где тубус с патронами крепился поверх ствольной коробки. Миллер и Уоррен назвали их Calico и открыли одноименную компанию.

Механизм ПП во многом копировал проверенные решения. Например, конструкцию полусвободного затвора позаимствовали у H&K MP5, но при этом ход подвижных деталей уменьшили. Благодаря этому, автоматика работала очень быстро.
Теоретический темп стрельбы достигал 2 тыс. выстрелов в минуту. В оружие даже пришлось встроить гидравлический замедлитель. Он тормозил работу механизма до 500-800 выстр./мин, и все равно громадный боезапас можно было расстрелять за считаные секунды.
При этом шнековый магазин наконец-то получился надежным. Calico переживал падения с двухметровой высоты и купание в грязной воде на глубине до 30 метров. Во время одних из первых официальных испытаний шесть полицейских за 2,5 часа выпустили из ПП 1100 патронов без единой осечки.
В 1994 году в США ограничили свободную продажу магазинов большой емкости, и компания оказалась на грани банкротства. Однако, полицейские и военные оценили новинку, и уже два года спустя Calico поставляла оружие силовикам в два десятка стран мира и поставляет до сих пор.

Причем российские и китайские оружейники подхватили идею и приспособили шнековые магазины к потомкам автомата Калашникова — пистолету-пулемету «Бизон» и целому автомату, Type 98-2. В конце концов шнековые магазины стали востребованной, но нишевой штукой.
▍ Перспективы нестандартных магазинов

Спецназ КНДР с автоматами Type 98-2
Магазины от FN и Calico вполне надежны и дают большой боезапас, но армия — основной заказчик военных конструкторов, не очень-то заинтересована в таких новинках. Для вооружения призывников вполне подходят обычные коробчатые магазины.
Считается, что на современном поле боя у солдата достаточно времени, чтобы перезаряжать оружие, например, каждые 30 выстрелов. А там, где требуется непрерывный огонь, разберется пулеметчик. К тому же, магазины на 50-100 выстрелов долго наполнять вручную. Существуют специальные зарядные машинки, но использовать их где-нибудь в окопе неудобно.
Особым магазинам — особые задачи. Подобные технические решения, как правило, оседают в специальных подразделениях. Там ситуация другая, ценится даже малейшее преимущество, события развиваются очень быстро и одного сверхъемкого магазина может хватить на всю спецоперацию. Однако это маленький «рынок», и сейчас у ружейников нет реального стимула конструировать нестандартные магазины.
Вряд ли в ближайшее время мы увидим нечто принципиально новое. Впрочем, история показывает, что всегда может найтись гений-самоучка, который всех переплюнет.
P.S. О многом еще не рассказано. Если сообщество одобрит, я напишу продолжение про то, как оружейники переизобретают револьверы: автоматические, магазинные, снайперские, помповые и двуствольные… или про реальные проекты космического десанта.

Автор: Игорь
