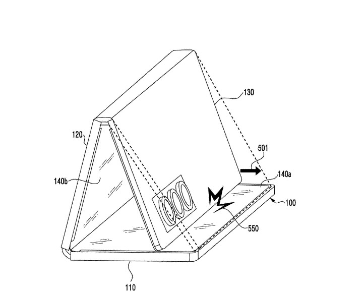
Компания Samsung продолжает эксперименты с трёхсекционными складными смартфонами. Новый патент описывает концепт Galaxy Z TriFold Wide, который отличается более широким форм-фактором.
В сложенном состоянии устройство должно напоминать обычный смартфон, пусть и немного шире, а в разложенном превращаться в полноценный экран планшетного уровня.
Первая попытка Samsung в этом сегменте оказалась дорогой и сложной в производстве, однако интерес пользователей оказался высоким: ограниченные партии быстро раскупались, а цены на вторичном рынке росли.



На фоне усиления конкуренции со стороны Huawei и возможного выхода Apple в этот сегмент Samsung пытается превратить экспериментальную идею в массовый продукт.

