Учитывая, что USB на данный момент является самым распространенным периферийным интерфейсом, можно только догадываться о том, сколько раз ежесекундно в мире звучат проклятия в адрес разработчиков, сделавших разъем Type A чувствительным к ориентации.
Исправить ситуацию и свести число попыток, необходимых в среднем для правильного подключения разъема с 1,5 до 1,0, взялась компания Apple.
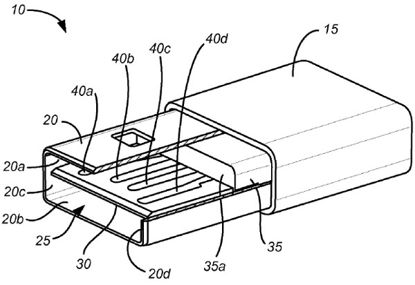
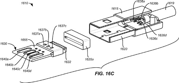
Она подала заявку на патент, в которой описана конструкция симметричного штекера USB, то есть такого, который можно воткнуть в гнездо любой стороной. В заявке сказано, что изобретение «может уменьшить риск повреждения разъема USB и разочарование пользователя вследствие неправильного подключения штекера USB в гнездо USB на электронном устройстве». Отметим, по замыслу изобретателей, двухсторонний разъем полностью совместим со стандартной розеткой USB Type A.
Суть изобретения — в конструкции разъема. Контакты находятся на обеих сторонах центральной части.
Сигналы на них выведены таким образом, что ориентация разъема не имеет значения — при повороте относительно продольной оси на 180° расположение и назначение контактов остается прежним.
Напомним, пока это только заявка. Она была подана 21 января этого года.
Источник: USPTO
