
Среди изобретателей XX века было не так много людей с ограниченными возможностями. И тем примечательнее жизнь и судьба слепого новатора Ральфа Титора.
Свое зрение он потерял в результате трагедии, произошедшей 20 марта 1896 года. Ральф отнесся к этому как к вызову, который нужно преодолеть. По словам его племянника Джека Титора, способность полагаться на себя и преодолевать невзгоды — это две черты, которые привили ему родители. Они наставили на том, чтобы с Ральфом обращались, как с обычным человеком. У семьи был бизнес — производство железнодорожных инспекционных вагонов, они использовали новые технологии, развивая компанию. Титорам принадлежало более 200 патентов.
В центре всего этого находился Ральф, чья жизнь совпала с двумя крупными инновациями: повсеместным внедрением двигателя внутреннего сгорания и электричества.
В 1908 году Ральф предложил своему выпускному классу средней школы установить первую электрическую вывеску в городе, после того как уже подключил к электричеству свою мастерскую благодаря генератору, построенному его дядями на фабрике. В 12 лет он считался «самым молодым успешным электриком в штате».
Ральф подключил провода к дому родителей, к большому удивлению соседей. Дом Титоров был единственным, где горел свет. Университет Пенсильвании принял его в качестве «специального студента» осенью 1908 года. Ральф очень хорошо учился.
Для получения диплома требовалось начертить графики и диаграммы. Он создавал их, используя проволочный экран с похожей на миллиметровую бумагу компоновкой и разноцветными нитями, вплетенными по всему экрану для отметки данных.
Пенсильванский университет начал принимать больше слепых студентов. Американская ассоциация незрячих работников, основанная в 1905 году, помогла стандартизировать и ввести шрифт Брайля. Получив диплом инженера-механика, в 1912 году Ральф вернулся в свой родной город Хейгерстаун, чтобы развивать семейный бизнес.
В 1924 году Ральф получил патент на «Инструмент для сжатия поршневых колец», который помогал закрывать зазоры, образовавшиеся после их литья. Позже он зарегистрировал еще несколько охранных документов на эту тему. Всего в первой половине XX века члены семьи Титор запатентовали около 50 инноваций, связанных с поршневыми кольцами.
В 1918 году Ральф помог решить проблему балансировки роторов турбин в двигателях нового эсминца и торпедных катеров ВМС. Дисбаланс приводил к тому, что двигатели и винты попросту развалились на высоких скоростях. Используя свое вибротактильное восприятие, он смог вращать роторы и вносить постепенные корректировки до тех пор, пока вал не был полностью сбалансирован — проблема была решена.
Ральф использовал слух и тактильные ощущения, чтобы изобретать, стать успешным бизнесменом и просто жить. Эта решимость была продемонстрирована летом 1945 года, когда Ральф обратился к группе слепых ветеранов Второй мировой войны.
«Ничто не помешает вам наслаждаться нормальной счастливой жизнью, как только вы решите, что именно этого вы хотите», — сказал он собравшимся.
Ральф часто использовал осязание, чтобы точно оценить размер механических компонентов. Он однажды заявил, что деталь больше на пару тысячных дюйма, и оказался прав. Это вызвало шутки о том, что Ральф на самом деле не был слепым, а просто притворялся.
Его дочь Марджори не знала, что отец не видит, пока ей не исполнилось 10 лет. Ральф научил ее кататься на роликах, ездить на велосипеде, считывать показания приборов.
Он сам ходил в парикмахерскую, мог мастерски вспомнить маршруты к своему любимому стейк-хаусу и магазину мороженого. Также Ральф редактировал газету The Whitney Engineering Society и публиковал статьи там. Изобретатель в душе, он запатентовал множество вещей: от рукоятки удочки до автоматического переключения передач с гидроприводом. Он даже сам сделал газонокосилку, когда не смог найти ту, которая подстригала бы траву именно так, как он хотел.
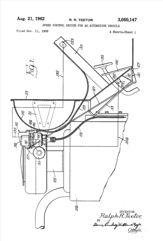
Однако самым известным изобретением Ральфа был круиз-контроль. Технология использует датчики, радары или камеры для отслеживания условий дорожного движения и регулировки скорости автомобиля. Это нововведение повысило комфортность вождения, а главное — его безопасность.
Уже после смерти Ральф был включен в Зал славы автомобилестроения в 1988 году, а в Национальный зал славы США — в 2024-ом. Наследие Ральфа, вдохновляющее изобретателей и инженеров по всему миру, служит напоминанием о том, что инновации не знают границ. И даже самые сложные обстоятельства могут привести к новаторским открытиям, которые формируют тот мир, в котором мы живем сейчас.
О сервисе Онлайн патент:
Онлайн Патент — цифровая система №1 в рейтинге Роспатента. С 2013 года мы создаем уникальные LegalTech-решения для защиты и управления интеллектуальной собственностью. Зарегистрируйтесь в сервисе Онлайн-Патент и получите доступ к следующим услугам:
-
Онлайн-регистрация программ, патентов на изобретение, товарных знаков, промышленного дизайна;
-
Опции ускоренного оформления услуг;
-
Бесплатный поиск по базам патентов, программ, товарных знаков;
-
Мониторинги новых заявок по критериям;
-
Онлайн-поддержку специалистов.
Автор: sokolovps
