Большая часть патентов Tesla Motors, Inc. была заявлена компанией в период с 2010 по 2016 гг. Львиная доля данной интеллектуальной собственности посвящена двум основным темам: конструкции аккумуляторной батареи и оптимизации процесса её заряда.
В данной статье мы рассмотрим три ключевых патента:
-
20110156661 (Методика быстрой зарядки);
-
20120105015 (Система защиты АКБ от перезаряда);
-
20120034497 (Аккумуляторная батарея с защитой ячеек).
Итак. Начнем с первого патента. Внимание, нумерация рисунков начинается с первого для каждого патента.
Методика быстрой зарядки
Данный патент содержит две ключевые идеи. Во-первых, под «быстрой» понимается зарядка не любой ценой, а с максимальным сохранением (продлением) жизненного цикла батареи. В этой связи разработчиком предлагается четрырехэтапная траектория заряда, её мы подробно рассмотрим чуть позже. Во-вторых, для сокращения времени полного заряда батареи второй и третий этапы модифицируются.
Вообще, данное изобретение больше относится исключительно к литий-ионным батареям, используемым в электротранспорте, но может быть применено и к другим типам источников питания.
Традиционно алгоритм заряда аккумуляторной батареи состоит из двух этапов.
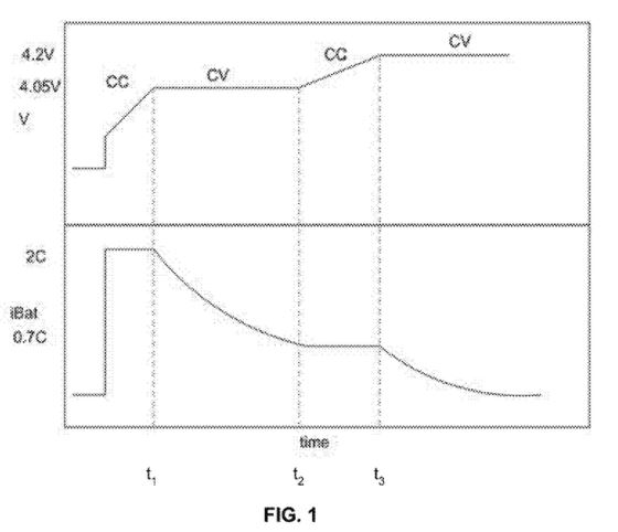
На первом этапе заряд осуществляется в режиме поддержания постоянства тока (иногда постоянства мощности). Напряжение батареи при этом растет с начального до максимально допустимого для используемого типа батарей (4,2 В). На втором этапе заряд производится в режиме поддержания постоянства напряжения, равного требуемому. Ток при этом постепенно спадает. Процесс зарядки останавливается, когда ток становится меньше C/10.
Применение метода двухэтапного заряда для «быстрой» зарядки ведет к значительному снижению ресурса батареи, так как на первом этапе заряд постоянным током 1С длится недопустимо долго. Почему недопустимо мы объясним чуть позже.
Модернизируя процесс заряда до четырех (или более) этапного, мы значительно продлеваем жизненный цикл аккумуляторной батареи. Оптимальным является режим: constant current (CC) 2C — constant voltage (CV) 4В — СС 0,7С — СV 4,2 В. Наглядно данная диаграмма представлена на рисунке ниже.
Первая стадия идет в режиме постоянства тока, равного 2С, что больше традиционного 1С при двухэтапной зарядке. Напряжение при этом увеличивается с начального до 4…4,05 В. Это желаемая величина, реально она будет зависеть от внутреннего сопротивления конкретного элемента. Вторая стадия представляет собой режим постоянного напряжения, равного достигнутому на первом этапе. При этом ток уменьшается с 2С до 0,7С. Третья стадия вновь представляет собой работу в режиме поддержания постоянства тока. Напряжение при этом увеличивается с 4,05 до 4,2 В. Наконец, на четвертой стадии поддерживается постоянным напряжение до тех пор, пока ток не упадет до минимального (заданного) значения.
Наличие промежуточного этапа улучшает скорость зарядки без пагубного влияния на жизненный цикл батарей. Объясняется это физико-химическими процессами, протекающими в АКБ. Рассмотрим данный вопрос подробнее. Для этого введем термин Rbad (это именно то, что Вы подумали, дословно «bad» переводится, как «плохой»), который представляет собой сопротивление ячейки в функции различных физических параметров, которые могут оказывать негативный эффект на жизненный цикл АКБ.

Еще раз подчеркнем, что Rbad — это вымышленная, воображаемая величина. Например, Rbad частично представляет поляризацию отрицательного электрода Ranode. С ростом Ranode вероятность металлизации лития на аноде увеличивается, что приводит к потере проводимости батареи. Rbad высок при низком уровне заряда, что обусловлено высоким внутренним сопротивлением ячейки. Кроме того, Rbad растет по мере приближения уровня заряда батареи к полному. В общем же, с ростом сопротивления Rbad (с «возрастом» АКБ, по истечении большого количества циклов заряд-разряд, при низкой температуре) заданное напряжение падает.

Наличие Rbad в модели батареи это путь математического описания, который используется в контроллере для предотвращения режимов, когда недопустимо высокие токи могут быть причиной необратимого падения емкости ячейки. Учет Rbad позволяет увеличить срок службы АКБ.
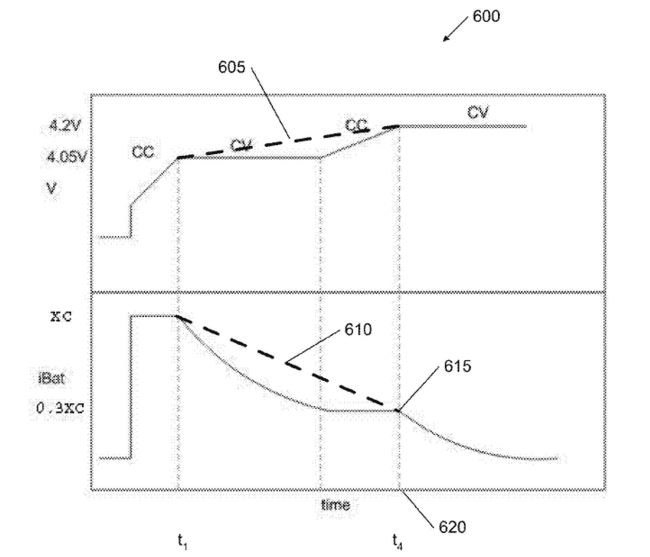
На рисунке выше показана оптимальная диаграмма процесса заряда с учетом Rbad. Изначально в этом случае идет стадия заряда в режиме поддержания постоянного тока, причем с максимальным током (5С, а в некоторых случаях и выше). Таким образом, данное обстоятельство (высокое Rbad на начальном этапе заряда) играет нам на руку, так как дает возможным производить заряд большим током. Напряжение ячейки при этом составляет Vc=VЗад-iBat*Rbad, где iBat — ток заряда батареи. Rbad определяет наклон кривой тока и напряжения (при уменьшении тока, уменьшается и Ubad. Rbad растет с ростом уровня заряда).
С учетом вышесказанного, модифицированный вид оптимальной диаграммы заряда будет выглядеть следующим образом.
В данном случае (по сравнению с обычной четырехэтапной зарядкой, представленной на fig.1) второй и третий этапы получаются объединенными. При этом промежуточный этап позволяет существенно сократить время полного заряда. Другими словами, t4 будет всегда значительно меньше t3. Наклон участка 610 зависит от внутреннего сопротивления ячейки, температуры и «возраста» батареи, иначе говоря от Rbad.
Система защиты АКБ от перезаряда
Данный патент представляет собой не столько конкретное устройство или схему, сколько идею надежной защиты батареи от перезаряда. Перезаряд — это одно из наиболее разрушительных состояний, в котором может находиться батарея. При этом выделяется большое количество тепла, достаточного для воспламенения аккумулятора. По этой причине большинство производимых ячеек наделены собственными защитными механизмами. Но данные механизмы не всегда эффективны, когда ячейка работает в в составе группы. Тогда применяют дополнительные системы, которые можно разделить на две группы: относящиеся непосредственно к аккумуляторной батарее и относящиеся к системе заряда.
При нормальной работе АКБ система «спит». В случае перезаряда, если другие системы не отработали данное событие, система создает в цепи короткое замыкание, которое вызывает срабатывание предохранителя (Fuse), тем самым разрывая путь от зарядного устройства к аккумуляторной батарее, предотвращая её перегрев.
Данная система более надежна, так как не использует микропроцессор или какой-либо другой контроллер, не требует вторичного источника питания и не находится непосредственно в высоковольтной цепи. В общем случае система может быть расположена между модулями АКБ. В силу низкой стоимости и малых габаритов это не является проблемой. Система может сработать только однажды, далее потребуется замена предохранителя.
Как вариант, практическая реализация данного устройства может быть выполнена на базе полупроводникового ключа, например, IGBT-транзистора.
В случае повышения напряжения до уровня порогового (заданного), ключ замыкается и ток начинает протекать через устройство, тем самым блок АКБ закорачивается и ток через него не проходит. Это, в свою очередь, приводит к срабатыванию предохранителя и разрыву цепи, соединяющей модули (по сути всей силовой цепи). На рисунке выше приведен лишь один из вариантов практического исполнения.
Аккумуляторная батарея с защитой ячеек
На «сладенькое» мы оставили наиболее интересное изобретение компании Tesla Motors. Оно связано с устройством аккумуляторной батареи как таковой, точнее с принципом соединения ячеек в группы.
Проблема устойчивого дугового разряда хорошо известна в инженерной практике. Она успешно решается в выключателях и прочих устройствах, от которых требуется выполнение функции размыкания цепи. Сложнее бороться с данной проблемой в случае непреднамеренного разрыва цепи. Для аккумуляторной батареи электромобиля это может быть авария или другое повреждение АКБ.
В аккумуляторных батареях традиционного исполнения предохранитель включают в цепь либо на входе всей группы, либо последовательно с каждой из нескольких параллельно соединенных ячеек.

Однако, в аккумуляторной батарее, состоящей из большого числа плотно упакованных ячеек в случае короткого замыкания может возникнуть перегрев (за счет плотной упаковки, вплоть до 900 градусов), вследствие чего может возникнуть каскадный лавинообразный эффект. Высокая температура внутри упаковки будет только усугублять ситуацию. Батарея в таком случае получит большие повреждения.
Иногда в качестве предохранителей используют сами соединения батарей, выполняя их из плавких материалов. В случае возникновения короткого замыкания в батарее, состоящей из нескольких параллельно соединенных ячеек такие соединения перегорают одно за другим произвольно (малозаметная разница времени перегорания обусловлена отличающимися на небольшую величину внутренними сопротивлениями). Чтобы в этом случае избежать возникновения дуги, необходимо разработать сложную, дорогую и довольно громоздкую систему.
Суть данного изобретения сводится к тому, чтобы выполнить соединение ячеек таким образом, чтобы одна из них гарантированно перегорала последней и для нее обеспечить эффективное и недорогое средство гашения дуги.
Первая задача решается выполнением одного из соединений с меньшим электрическим сопротивлением, чем остальные. Именно оно гарантированно перегорит последним.
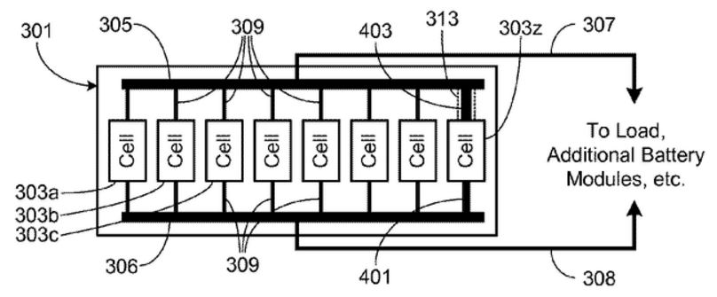
Идея демонстрируется на рисунке. Восемь батарей параллельно соединяются посредством плавких соединителей (физически они похожи на проволоку), причем первые семь соединений 309 имеют одно сопротивление, а соединения 401 и 403 имеют меньшее сопротивление. Причем r401<r309, а r403<r401. В результате соединители ячейки 303z будут гарантированно плавиться последними. Кроме того, по причине того, что соединение 403 будет плавиться самым последним, это приведет к минимизации эффекта искрения. Изолирующий экран 313 позволит избежать образования устойчивой дуги.
Остается открытым вопрос, каким способом сделать сопротивление одного из соединений меньше остальных.


Данная задача решается путем:
— выполнения соединений из материалов с различным удельным сопротивлением. Например, на fig.5 соединения 505 выполнены из алюминия, а 507 — из меди;
— выполнения соединений различной длины (fig.6). В данном случае соединение 603 имеет меньшую длину, чем 601, а значит меньшее сопротивление;
— выполнения соединений различной толщины (fig.7). Соединение 703 имеет большую толщину, чем 701, а следовательно, и меньшее сопротивление;
— выполнения соединений с использованием бОльшего числа элементарных проводников (fig.8).
Вторая задача (гашения дуги в последнем перегорающем соединении) решается различными способами. Наиболее простым и дешевым является использование изолирующего экрана (fig.13).
Однако, иногда применяют и другие способы. Например, параллельное включение конденсатора большой емкости (1601, fig.16). Данный конденсатор выбирают на номинальное напряжение ячейки и при нормальных условиях он никак не влияет на работу батареи. В случае возникновения КЗ, при перегорании плавкого соединения 1005, вся энергия уходит на заряд конденсатора.
Еще одним направлением решения данной проблемы является увеличение длины дуги. Здесь наиболее эффективным оказалось применение постоянных магнитов (1802, fig.18). При гарантированном перегорании последнего по очереди плавкого соединения 703 начинает образовываться дуга, но за счет воздействия магнита, она постепенно выгибается в его сторону и в итоге разрывается.
Комплекс описанных технических решений позволяет создать модуль аккумуляторных ячеек, отличающийся улучшенной производительностью, высокой надежностью и безопасностью, имеющим при этом достаточно низкую стоимость, простоту и малые габариты системы защиты ячеек.
Батарея выполняется таким образом, что плавкие соединения являются единственными соединениями батарей и именно они перегорают в случае короткого замыкания. Риск устойчивого дугового разряда в данном случае сведен к минимуму, как и риск чрезмерного перегрева батареи.
Автор: belous9
