
Для чего только не используется электромагнитное поле — с его помощью записывают и считывают информацию, перемещают тяжёлые грузы и даже стреляют.
Но есть ещё один интересный способ его применения, о котором, наверняка, мало кто слышал, — электромагнитное формование, с помощью которого можно с большой скоростью деформировать токопроводящие предметы. Посмотрим, что же это такое...
Для начала стоит сказать, что если кто-то заинтересуется и будет искать дополнительную литературу по этой теме, то у термина «электромагнитное формование» есть и альтернативные названия, по которым можно найти достаточно много информации (в противовес термину «электромагнитное формование», по которому информации довольно мало): магнитно-импульсная обработка металлов (МИОМ), магнитно-импульсное формование, импульсное магнитное прессование. Также у этого термина есть и иностранное наименование — Electromagnetic Forming (EMF), по которому можно поискать в иностранном сегменте сети.
В описании технологии ниже мы обзорно ознакомимся с ней, умышленно опустив некоторые конкретные детали, так как их подробное рассмотрение выйдет далеко за пределы статьи.
Тем не менее, это позволит желающим обзорно ознакомиться с ещё одним интересным технологическим подходом, и, при наличии интереса, более подробно изучить его по специальной литературе, список которой будет в конце статьи.
▍ Суть технологии
Но для начала — пару видео.
В следующем видео с 3:52 можно увидеть один из примеров, как работает это формование:
Оно может использоваться не только для деформации деталей, но и для ударной сварки деталей друг с другом. Ниже показан интересный пример такого подхода — сварка друг с другом разных металлов для получения биметаллического объекта:
Данная технология представляет собой способ, который позволяет бесконтактным образом производить изменение формы электропроводящего материала без непосредственного контакта и без использования какой-либо среды-посредника (в противовес, например, взрывному или электрогидравлическому формированию, где используется взрывчатка или электрический разряд в водной среде, где уже сама водная среда далее выступает в качестве своеобразного «пресса», деформирующего заготовку, за счёт передачи ей энергии давления от взрыва или электрического разряда).
Возвращаясь к описываемой технологии, можно сказать, что формование материала происходит за счёт того, что к нему прикладываются силы Лоренца, что позволяет производить сжатие или, наоборот, расширение полых профилей, производить их формование и даже осуществлять двух- или трёхмерную резку листовых материалов.
То есть можно сказать, что магнитно-импульсная обработка использует взаимодействие сил между электромагнитным полем вихревых токов, которые наводятся в стенках обрабатываемой детали при воздействии на них внешним импульсным электромагнитным полем — с одной стороны, и этим самым внешним полем — с другой стороны.
Несомненным плюсом такого способа является прямой переход электрической энергии в механическую, когда импульс магнитного поля непосредственно давит на заготовку без каких-либо сред-посредников.
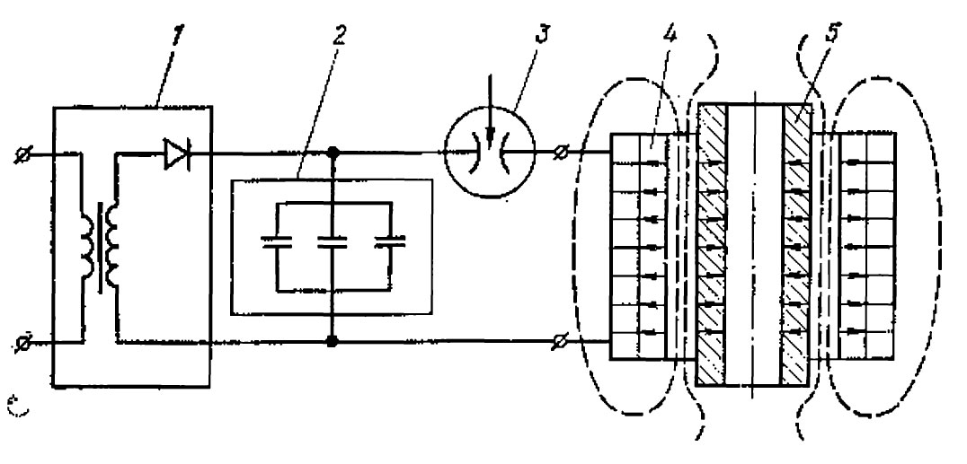
Принципиальная схема установки для осуществления такой обработки показана на рисунке ниже, где: (1) — зарядное устройство с выпрямителем; (2) — батарея высоковольтных конденсаторов; (3) — коммутирующее устройство; (4) — индуктор; (5) — обрабатываемая заготовка.

Картинка: А.А.Дудин «Магнитно-импульсная сварка металлов»
Сразу надо сказать, что вариантов схем этого устройства достаточно много и эта не единственно возможная.
Работает устройство следующим образом: при подаче поджигающего импульса на вспомогательный электрод происходит разряд батареи высоковольтных конденсаторов на индуктор, где проходящий через него ток вызывает в окружающем пространстве электромагнитное поле, которое, в свою очередь, наводит токи в заготовке, что вызывает её деформацию с большими скоростями, измеряющимися метрами в секунду.
Внимательный читатель в описании выше мог заметить такой интересный момент, который «цепляет» глаз, это использование высоковольтных конденсаторов. А почему они здесь вообще нужны?
Дело тут вот в чём: установки такого типа обычно запитываются от диапазона напряжений в 4-30 кВ, и такие высокие напряжения нужны, чтобы «прокачать» большой ток (десятки-сотни кА), за микросекунды.
Другими словами, высокое напряжение помогает преодолеть индуктивность системы, которая ограничивает скорость нарастания тока.
Например, если бы использовалось сетевое напряжение в 220 вольт, то ток через индуктор нарастал медленно, и сила генерирующегося электромагнитного поля была недостаточно большой для деформации заготовок.
То есть, при прочих равных, — чем выше напряжение, тем больше энергии можно запасти и прокачать. Например, конденсатор в 100 мкФ при 10 кВ сможет запасти 5 кДж, в то время как при 220 вольтах — только лишь 2,4 Дж.
Таким образом, высоковольтные конденсаторы являются одним из способов прокачки больших токов, так как в альтернативном случае пришлось бы использовать сверхпроводящие элементы системы, что явно сложнее…
Но тут есть проблема: при прямом подключении конденсаторной батареи и индуктора энергия конденсаторной батареи будет использована всего лишь на 30-50%, в то время как с помощью ещё одного устройства — «кабельного понижающего трансформатора» — энергия конденсаторов может быть использована на 70-90%.
В чём причина такой изначальной неэффективности: при прямом подключении конденсаторной батареи к индуктору разряд конденсаторной батареи происходит за очень короткое время (1-20 мкс), а из-за малой индуктивности при таких больших напряжениях нарастание силы тока, равно как и его спад, происходит моментально.
Это приводит к тому, что большая часть накопленной энергии просто-напросто переводится в тепло, не произведя полезную работу.
Чтобы избежать этого, используют кабельный трансформатор, который позволяет понизить напряжение с, допустим, 10 кВ до 1 кВ, что растягивает по времени разряд, доводя его приблизительно до 50-100 мкс.
Как выглядит этот трансформатор, показано на картинке ниже, где: (1) — батарея высоковольтных конденсаторов; (2) — коаксиальный кабель; (3) — плоские шины (или кабели вместо них).

Картинка: А.А.Дудин — «Магнитно-импульсная сварка металлов»
Как можно видеть, основным элементом такого трансформатора является высоковольтный коаксиальный кабель, который намотан в виде спирали, и у каждого витка спирали в одном и том же месте, так, чтобы это располагалось друг над другом, сделаны разрезы во внешней токопроводящей оболочке, после чего края разрезов соединяются либо с токопроводящими шинами, либо с кабелями, от которых делаются отводы к нагрузке, то бишь, к индуктору.
Далее один конец кабеля соединяется с конденсаторной батареей (на картинке видно слева вверху), а у второго конца оболочка и жила замыкаются друг с другом (на картинке слева внизу).
Количество витков в таком трансформаторе может меняться, что позволяет генерировать импульсы различной частоты: при прочих равных, высокая частота позволяет лучше обрабатывать тонкие материалы, а низкая — толстые (поле глубже проникает в материал — насколько я понимаю, чем выше частота, тем более выражен «скин-эффект» и вихревые токи с окружающим их полем расположены ближе к поверхности и наоборот).
В общем случае можно сказать, что чем больше индуктивность, тем меньше частота следования импульсов.
Обычные трансформаторы для таких целей не используют, так как они рассчитаны на более низкие частоты, в то время как в электромагнитном формовании нужны микросекундные импульсы, и для этого коаксиальные кабели как нельзя лучше подходят.
Кроме того, в схеме выше есть необычный элемент конструкции, который представлен «трёхэлектродным разрядником», где в качестве него могут использоваться устройства, носящие название «игнитрон»*, «тиратрон»*, «тригатрон»*, а также обычные механические двухэлектродные разрядники разнообразных конструкций.
*Насколько я понимаю (могу ошибаться), в настоящий момент все эти элементы в большей или меньшей степени вытеснены полупроводниковыми элементами наподобие тиристоров (если кто-то оставит уточняющий комментарий, то буду рад).
Основное назначение этого устройства — коммутация больших токов с минимальной индуктивностью и сопротивлением цепи.
Показанный на принципиальной схеме индуктор может использоваться тремя разными вариантами, которые описаны ниже (в зависимости от каждого, он будет иметь разные геометрические размеры и пространственное расположение).
▍ Возможные операции
Большинство операций, производимых с применением этой технологии, может быть подразделено всего лишь на три большие группы:
1. Индуктор выполняется в виде цилиндрической спирали, внутри которого располагается (коаксиально) трубчатая заготовка, после чего производится вариант обработки детали типа «обжим»:

Диаметр заготовок при этом варианте может быть от до 2 м (в зависимости от мощности электромагнитной установки).
Этот вариант может производиться как для обжима детали, надетой на некую оправку, либо, во втором случае, для непосредственного соединения деталей без потребности снятия их в дальнейшем с оправки.
Первый вариант с обжимом на оправке не так распространён, так как вызывает некоторые трудности с выниманием оправки после обжима (так как индуктор спиральный, на поверхности детали также возникают спиральные волны, которые зацепляются за любые неровности на оправке, а также частично деформируют и саму оправку, после чего очень сложно её вынуть; с этим борются с разной степенью успешности применяя разборные оправки).
А вот второй вариант может быть интересным, так как после обжима вынимание оправки не требуется, и этот способ может быть использован для обжима кабельных наконечников, соединения проводов с помощью трубки, напрессовки наконечников на канаты, кабели, гидравлические шланги (привет, своему бизнесу на этом, в качестве идеи) и т.д.
При этом прочность соединения деталей получается очень высокой, что в дальнейшем позволяет говорить о таком соединении как о едином объекте, где прочность самого соединения не уступает прочности на разрыв самого кабеля, а электрическое сопротивление места соединения получается в 1,5-2 раза ниже, чем при других способах, например, при гидравлической опрессовке.
Из интересного:
таким способом могут быть соединены не только металлические детали, но и образовано соединение между металлом и, например, керамикой, стеклянными, пластмассовыми и иными деталями (например, используя металлическую трубку снаружи и неметаллический объект внутри неё; при этом, чтобы избежать ударной нагрузки, зазор между ними должен быть минимальным, чтобы неметаллический объект не разрушился и испытывал только сжимающие усилия, а не ударные — особенно это касается стекла или керамики).
2. Точно так же, как и в предыдущем варианте, цилиндрический индуктор в виде спирали располагается (также коаксиально) внутри трубчатой заготовки, а сама обработка называется «раздача»:

Диаметр заготовок при этом варианте может быть от до 2 м (в зависимости от мощности электромагнитной установки).
Однако на практике надо иметь в виду, что растяжка труб диаметром менее 40 мм сопряжена с определёнными трудностями из-за малой механической прочности теоретически возможного индуктора; тем не менее такая обработка тоже возможна, если использовать одноразовые индукторы.
С помощью такого варианта обработки можно производить такие операции, как:
- соединение двух металлов, то есть получение биметаллических соединений. При этом металл, который располагается внутри трубы (т.е. наиболее близко к индуктору, должен обладать большей электропроводностью, чем наружный его слой; то есть, говоря другими словами, к нему предъявляются большие требования — кстати говоря, это требование следует учитывать и по отношению ко всем остальным операциям, перечисленным ниже);
- создание шарнирных соединений;
- сварка труб;
- запрессовка трубчатых заготовок внутри других объектов;
- формовка: придание фигурного рельефа внешней поверхности трубы за счёт размещения её внутри разборной матрицы с рельефом, либо простое растяжение трубы в диаметре.
3. Индуктор в виде плоской спирали располагается над такой же плоской заготовкой, производя её листовую формовку:

С помощью такого подхода могут быть обработаны заготовки площадью от до 0,2
, где толщина обрабатываемой заготовки может доходить до
м.
При этом интересной особенностью этого варианта является то, что в центре обрабатываемой заготовки (на площади в
) давление практически равно нулю, и нужно учитывать это при планировании обработки, проектируя соответствующую деталь.
Этот вариант обработки позволяет производить такие операции как:
- соединение диска с осью;
- отбортовка диска;
- соединение листов металла;
- напрессовка втулок на оси/ запрессовка вкладышей в трубках;
- пробивка отверстий, вырезание листовых заготовок сложной формы.
▍ Преимущества и недостатки технологии
К преимуществам этой технологии, помимо отсутствия потребности в уже названной выше передаточной среды, можно отнести:
- высокую производительность, которая ограничивается (в основном) только предварительными операциями установки/снятия заготовки;
- большие возможности по автоматизации процесса и удалённого управления им;
- технологическую гибкость, которая позволяет формировать с помощью одного и того же индуктора детали разных конфигураций;
- возможность получения достаточно больших давлений: например, до
— с сохранением индуктора или до
— с разрушением индуктора и использованием его одноразовых вариантов;
- практически бесшумную работу, отсутствие необходимости в смазке деталей, так как прямой контакт отсутствует;
- возможность осуществления обработки в труднодоступных местах, используя гибкую проводку, с помощью которой индуктор может быть размещён в труднодоступном месте.
Но, видимо, не бывает «бочки мёда без ложки дёгтя», так что технология имеет и свои известные недостатки:
- при вытяжке материала трудно получить глубокую вытяжку, так как она должна производиться в несколько итераций, где для каждой итерации должны применяться разные индукторы, повторяющие форму детали на текущей итерации;
- не все материалы могут быть обработаны с помощью этой технологии, так как материалы с низкой электропроводностью (даже ряд металлов и сплавов) могут потребовать для воздействия на них применения промежуточного, более токопроводящего материала;
- также могут быть обработаны заготовки не всех форм, так как сам процесс формования представляет собой взаимодействие полей индуцированного в заготовке тока с полем индуктора; это же касается и геометрических размеров заготовок, так как тут тоже есть ряд ограничений;
- из предыдущего пункта вытекает и следующий: долговечность самого индуктора очень сильно зависит от того, какие материалы обрабатываются. В общем случае можно сказать, что чем мягче обрабатываемый материал, тем дольше будет «жить» сам и индуктор; таким образом, обработка относительно мягких материалов, таких как алюминий и медь, позволит обеспечить относительную долговечность индуктора; в то время как обработка стали и сплавов обернётся относительно коротким сроком его службы. Проще говоря: электромагнитным полем мы «плющим/расширяем» не только саму заготовку, но и индуктор одновременно. Если заготовка прочная, то нужно усиливать поле, одновременно будет «плющиться/расширяться» и индуктор, в равной степени — магнитные поля-то отталкиваются...
Если попытаться обобщить и сказать в виде краткого резюме, каким образом можно получить от технологии наибольшие выгоды (и максимально избежать недостатков), то можно это сформулировать приблизительно следующим образом: материал индуктора и материал заготовки должны быть подобраны таким образом, чтобы обеспечить оптимальную скорость производства таких заготовок с приемлемым износом индуктора, а геометрическая форма самих заготовок должна быть выбрана не случайным образом, а специально спроектирована под индуктор этой формы.
Подытоживая рассказ, можно сказать, что технология особенно эффективна для мелкосерийных и опытно-экспериментальных изделий, а желающие ещё более подробно ознакомиться с этой технологией (и поработать самостоятельно над расчётом компонентов), могут обратиться к списку литературы ниже.
▍ Список использованных источников:
- И.В.Белый, С.М.Фертик, Л.Т.Хименко — «Справочник по магнитно-импульсной обработке металлов.
- А.А.Дудин — «Магнитно-импульсная сварка металлов».
- В.А.Глущенков — «Специальные виды штамповки. Часть II. Динамические методы деформирования».
© 2025 ООО «МТ ФИНАНС»
Автор: DAN_SEA
