Сегодня Патентное ведомство Кореи опубликовало патентную заявку Samsung №1020160047958 (номер публикации 1020160129724), в которой раскрыта конструкция гибкого или, скорее даже, складного смартфона Samsung Galaxy X, по слухам, ожидаемого на рынке в следующем году.

Заявка была подана 20 апреля 2016 года с испрашиванием приоритета от 30 апреля 2015 года по более ранней заявке №1020150062065. В ближайшее время должно стать ясно, в каких еще странах поданы заявки-аналоги на это же изобретение.


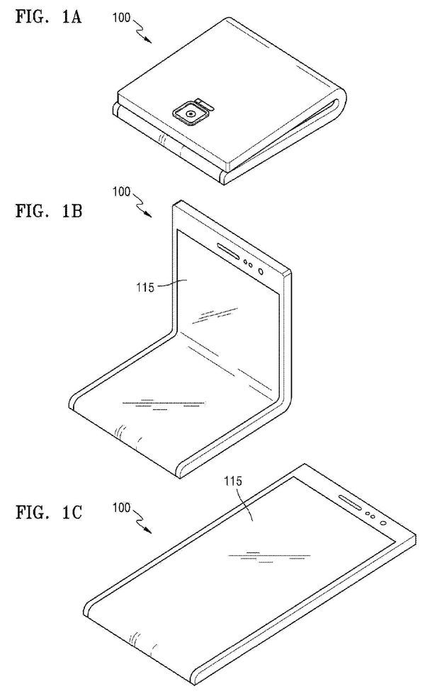
Опубликованная заявка примечательна подробным описанием механизма, обеспечивающего складывание корпуса смартфона, оборудованного гибким экраном.

Качество иллюстраций в заявке (явно полученных из инженерных 3D-моделей, а не из дизайнерских визуализаций) указывает на достаточно тщательную проработку концепта и может быть признаком наличия более-менее отработанной конструкторской документации (как минимум, на уровне engineering sample, или даже production proto) на момент подготовки заявки (начало этого года), а количество раскрытых вариантов сочленения вызывает уважение, ибо разработчики сего агрегата явно не понаслышке знакомы и с DOE (design of experiment), и с DFx (design for manufacturability/testability/usability/etc.).



Что же, тем интересней будет ознакомиться с финальным вариантом, который пойдет в продажу. Но главное — публикация заявки со множеством раскрытых вариантов реализации изобретения перекрывает возможность параллельного патентования конкурентами видоизмененных конструкций.
Напомним, что этим летом была опубликована другая патентная заявка Samsung US14/953,670 (номер публикации US20160187994, входит в патентное семейство WO2016108439), в которой описывалось складное устройство с гибким экраном, но не раскрывались подробности конструкции.

Samsung владеет и целым рядом других патентных заявок, относящихся к подобным устройствам. С их беглым обзором можно ознакомиться, например, из публикаций patentlymobile.com:
Samsung Continues to Work on a Foldable Galaxy Smartphone
Samsung Patent Illustrates a New Round of Foldable Smartphone and Tablet Concepts
Автор: Stanislav_F
