Большинство людей сходятся в том, что Альберт Эйнштейн был одним из величайших ученых, когда-либо живущих на Земле. Но как бывает со всеми известными людьми, некоторые факты из их биографии со временем искажаются или забываются. Копаясь в жизни Эйнштейна, мы обнаружили интересные факты, которые доказывают, что великий ученый может удивлять даже сейчас.
Его авторство общей теории относительности оспаривалось
Открытие теории относительности было окружено серьезными, но малоизвестными обвинениями Эйнштейна в плагиате, Дэвида Гильберта и его сторонников. Все началось с того, что Гильберт заявил о том, что первым пришел к общей теории относительности и что его работу скопировал Эйнштейн без должных ссылок. Эйнштейн опроверг обвинения, заявив, что именно Гильберт скопировал несколько более ранних работ Эйнштейна.
Сначала большинство людей решило, что оба ученых независимо друг от друга работали над общей теорией относительности и что Гильберт подал статью с правильными уравнениями за пять дней до Эйнштейна. Тем не менее после того, как историки решили разобраться в вопросе, они обнаружили, что именно Гильберт позаимствовал несколько идей у Эйнштейна, не упомянув его имени.
Судя по всему, доказательствам, изначально представленным Гильбертом, не хватало важного шага, без которого они были неправильными. К тому времени, когда работу Гильберта опубликовали, он уже исправил ошибку. И противопоставил свою работу эйнштейновской, которая была опубликована намного раньше.
Он отлично учился в средней школе

Эйнштейн был отличным учеником средней школы. Более того, он был настолько хорош в математике, что изучал математический анализ в возрасте 12 лет, на три года раньше обычного. В возрасте 15 лет Эйнштейн написал продвинутое эссе, которое стало основой для его дальнейшей работы в теории относительности.
Миф о том, что Эйнштейн ужасно учился в школе, родился из-за различия в системах маркировки между немецкими и швейцарскими школами. Когда Эйнштейн сменил немецкую школу на школу в кантоне Ааргау в Швейцарии, система классификации — от 1 до 6 (как от 5 до 1 у нас) — была перевернутой. Оценка 6, обозначавшая низший балл, стала высшей, а единица, обозначавшая высшую оценку, стала низшим баллом.
Впрочем, Эйнштейн завалил вступительный экзамен в колледж. Прежде чем попасть в Ааргау, откуда и пошел миф о плохой учебе, он пытался поступить в Федеральную политехническую школу в Швейцарии. И хотя экзамены по математике и физике он сдал замечательно, по некоторым ненаучным предметам, особенно по французскому языку, он набрал мало баллов.
Его изобретения

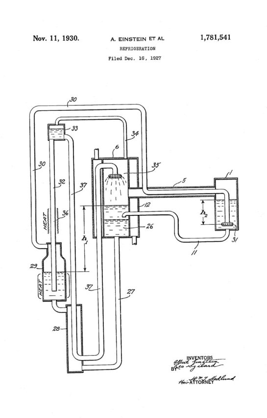
В течение жизни Эйнштейна ему приписывались некоторые изобретения, включая холодильник Эйнштейн, который он изобрел вместе со своим другом и коллегой физиком Лео Сцилардом. В отличие от обычных холодильников, холодильник Эйнштейна не использовал электричество. Он охлаждал пищу в процессе абсорбции, использующего изменения давления между газами и жидкостями для снижения температуры в пищевой камере.
Эйнштейн захотел придумать свой холодильник после того, как услышал о гибели немецкой семьи, отравившейся токсичными газами, утекшими из обычного холодильника. В 1800-х годах механические компрессоры в холодильниках могли иметь дефектные пломбы, через которые утекали ядовитые газы, двуокись серы и хлористый метил.
Эйнштейн также изобрел насос и блузку. Блуза имела два набора кнопок, пришитых параллельно друг другу. Один набор кнопок подошел бы худому человеку, а другой подошел бы человеку потяжелее. Худенькая персона, которая купила бы блузку Эйнштейна, могла прибавить в весе и просто перейти на другой набор кнопок. Так же, как и пышный человек, потерявший в весе. Экономия.
Лазейка, которая могла сделать США диктатором

Курт Гедель был среди ученых, бежавших в США с подконтрольных нацистам территорий во время Второй мировой войны. В отличие от Эйнштейна, Гедель с трудом получил американское гражданство. Когда его, наконец, пригласили на собеседование по поводу гражданства, он должен был привести двух человек с собой, которые могли бы поручиться за его поведение. Гедель взял друзей, Оскара Моргенштерна и Эйнштейна.
Гедель много читал, готовясь к собеседованию, которое совершенно случайно проводил судья Филипп Форман, друг Эйнштейна. Когда Форман выразил надежду на то, что США не были и никогда не станут диктаторским государством, Гедель возразил, сказав, что США вполне может обзавестись диктатурой из-за лазейки в Конституции.
Он собирался объяснить, но Эйнштейн перебил Геделя, поскольку его ответ мог лишить его шансов на получение гражданства. Судья Форман быстро продолжил интервью, и Гедель стал гражданином США.
Этот инцидент стал известен лишь благодаря записи Моргенштерна в дневнике. Тем не менее в ней не сказано, какой была лазейка или как США могли стать страной с диктатурой. Никто не знает, какая часть Конституции содержит очевидную лазейку, но ходят предположения, что Гедель думал о Статье 5, которая позволяет вносить изменения в Конституцию. Вполне возможно, что некоторые поправки могли юридически уничтожить ее.
ФБР считало Эйнштейна советским шпионом

ФБР следило за Эйнштейном с 1933 года, когда он приехал в США, до его смерти в 1955 году. Бюро прослушивало его телефон, перехватывало письмо, обыскивало его мусор в поисках свидетельств, которые могли бы указать на подозрительную группу или активность, включая шпионство на Советский Союз. Однажды ФБР даже объединилось со службой иммиграции в поисках причины для депортации ученого. В Эйнштейне подозревали антиправительственного радикала или коммуниста ввиду его политических взглядов и связей с пацифистскими и правозащитными группами.
До приезда Эйнштейна в США Женская патриотическая корпорация направила 16-страничное письмо в Госдепартамент, протестуя против въезда ученого в страну. Она утверждала, что даже Иосиф Сталин был меньше связан с группами коммунистов, чем Эйнштейн.
В результате Госдепартамент тщательно допросил Эйнштейна на тему его политических убеждений до выдачи визы. Разозлившись, Эйнштейн сердите отвечал своим интервьюерам, что американский народ умолял его приехать в США и он не потерпит отношения к себе как к подозреваемому. Уже получив гражданство, Эйнштейн оставался в США, даже зная, что находится под наблюдением. Однажды он даже сказал польскому послу, что их разговор тайно записывался.
Он пожалел о своей причастности к атомной бомбе

Эйнштейн никогда не принимал участие в Манхэттенском проекте, правительственной программе США, в рамках которой были созданы первые ядерные бомбы во время Второй мировой войны. Даже если бы он захотел участвовать, ему бы отказали из соображений безопасности. Ученым, принимавшим участие в проекте, также запрещалось с ним встречаться.
Единственным вкладом Эйнштейна стало подписание письма с просьбой к президенту Рузвельту о разработке атомной бомбы. Вместе с физиком Лео Сцилардом Эйнштейн написал письмо после того, как узнал, что немецкие ученые расщепили атом урана.
Хотя Эйнштейн и знал о чрезвычайно разрушительной силе атомной бомбы, он ввязался в первую очередь потому, что боялся, что немцы первыми сделают бомбу. Но впоследствии он пожалел о том, что написал и подписал письмо. Услышав, что США сбросили первую атомную бомбу на Хиросиму, он ответил: «Горе мне». Позже Эйнштейн признался, что не подписал бы письмо, если бы знал, что немцы никогда не сделают бомбу.
Эдуард Эйнштейн

Рожденный в 1910 году, Эдуард был вторым сыном Эйнштейна и его жены Милевы Марич. Эдуард (по прозвищу «Тете» или «Тетель») в детстве часто болел и получил диагноз шизофреника в возрасте 20 лет. Милева, которая развелась с Эйнштейном в 1919 году, сначала заботилась об Эдуарде, но позже поместила его в психиатрическую лечебницу.
Эйнштейн не был удивлен, когда Тете поставили такой диагноз. Сестра Милевы страдала от шизофрении и Тете часто проявлял поведение, которое указывало на болезнь. Эйнштейн бежал из Германии в США через год после того, как Тете попал в больницу. Хотя Эйнштейн часто навещал своих сыновей, когда все они жили в Европе, попав в Америку, он ограничился одними письмами.
Письма Эйнштейна к Эдуарду были редкими, но очень душевными. В одном письме Эйнштейн сравнил людей с морем, отметив, что они могут быть «приветливыми и дружелюбными» или «бурными и сложными». Он добавил, что хотел бы увидеть своего сына грядущей весной. К сожалению, разразилась Вторая мировая война, и Эйнштейн больше никогда не увидел Тете.
После смерти Милевы в 1948 году, Тете оставался в госпитале еще девять лет. Восемь лет он провел с приемной семьей, но вернулся в больницу, когда его приемная мать заболела. Умер Тете в 1965 году.
Эйнштейн был заядлым курильщиком
Больше всего на свете Эйнштейн любил свою скрипку и трубку. Будучи заядлым курильщиком, он однажды сказал, что считает курение необходимым для спокойствия и «объективного суждения» в людях. Когда его врач прописал ему избавление от вредной привычки, Эйнштейн засунул в рот трубку и закурил. Иногда он также поднимал окурки на улицах, чтобы раскурить в своей трубке.
Эйнштейн получил пожизненное членство в Монреальском клубе курильщиков трубок. Однажды он упал за борт во время поездки на лодке, но сумел спасти заветную трубку от воды. Помимо множества рукописей и писем, трубка остается одной из немногих личных вещей Эйнштейна, которые у нас есть.
Он любил женщин

Когда Эйнштейн не работал на E = mc^2, не курил, не писал письма и не проектировал блузку, он развлекал себя женщинами. Его письма показывают, как сильно он любил женщин, или, по словам самого Эйнштейна, как сильно женщины любили его.
В интервью NBC News, Ханох Гутфройнд, председатель Всемирной выставки Альберта Эйнштейна в Еврейском университете, описал брак Эйнштейна с его второй женой Эльзой как «брак по расчету». Гутфройнд также считает, что 3500 страниц писем Эйнштейна, изданных в 2006 году, свидетельствуют о том, что Эйнштейн был не таким уж плохим отцом и мужем, как считалось изначально.
Признав, что не может оставаться с одной женщиной, Эйнштейн был откровенен с Эльзой о своих внебрачных связях. Он часто писал ей в письмах о том, что вокруг него собирается множество женщин, что он сам охарактеризовал как нежелательное внимание. Будучи в браке, он сменил по меньшей мере шесть подружек, включая Эстеллу, Этель, Тони и Маргариту.
В письме своей падчерице Марго от 1931 года, Эйнштейн писал: «Это правда, что М. последовала за мной в Англию, и ее преследование выходит из-под контроля. Из всех дам я на самом деле привязан только к г-же Л., абсолютно безвредной и порядочной».
Крупнейшая ошибка Эйнштейна

Эйнштейн мог быть блестящим ученым, но он был далеко не идеальным. На самом деле он сделал по меньшей мере семь ошибок в различных доказательствах E = mc^2. Тем не менее в 1917 году он признал свой «самый большой промах». Он добавил космологическую постоянную — представленную греческой буквой лямбда — в уравнения общей теории относительности. Лямбда представляла силу, противодействующую притяжению гравитации. Эйнштейн добавил лямбду, поскольку большинство ученых считало, что Вселенная была стабильна в то время.
Позже Эйнштейн убрал постоянную, когда обнаружил, что его предыдущие уравнения были корректны и Вселенная на самом деле расширяется. Но в 2010 году ученые выяснили, что уравнения с лямбдой вполне могут оказаться верными. Лямбда может объяснять «темную энергию», теоретическую силу, которая противостоит гравитации и заставляет Вселенную расширяться с ускоряющимся темпом.
