Компания Twitter подала заявку на патент беспилотного летательного аппарата, управляемого с помощью твитов. Дрон будет способен делать фотографии и видео и публиковать их в аккаунты пользователей. Будет ли сама компания производить такие дроны — неизвестно, но патент может послужить началом создания подобных аппаратов.

Фото: The Verge
В заявке компания упомянула, что лайки, ретвиты и реплаи будут контролировать направление движения беспилотника и момент фотографирования. В этом году Twitter запустил видео-стриминговое приложение Periscope, и оно вместе с беспилотниками и множеством его пользователей сможет составить интересный продукт. Тем более, что одним из трендов 2014 года была фото- и видеосъёмка с беспилотников.
Представитель Twitter на запрос о комментарии от CNBC ответил: «Два слова: селфи с дронов».

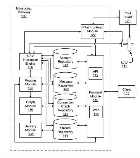
Беспилотный летательный аппарат оснащён камерой, посылает данные с неё и получает команды. Беспилотник связан с платформой микроблогов. Изображения и видеоклипы с беспилотника отбираются и размещаются в сообщениях аккаунтов, ассоциированных с устройством. Владельцы аккаунтов могут контролировать БПЛА с помощью команд в своих сообщениях. Контролировать можно будет локацию БПЛА, направление камеры, встроенную подсветку или дисплей, проектор или спикеры. Кроме того, Twitter упоминает управление дополнительным грузом. Наличие дисплея и/или микрофона позволит брать интервью.
Автор: ivansychev
