
Все, кто более-менее знаком с электротехникой, знают, насколько это консервативная сфера: большинство законов, принципов (и даже устройств!) были разработаны чуть ли не сто, а то и более лет назад!
Тем не менее, иногда даже в такой консервативной сфере случаются серьёзные прорывы и, одному из них, многие из нас, были свидетелями: на рубеже между 1980 и 1990 годами благодаря открытию и широкому внедрению редкоземельных магнитов NdFeB (неодим-железо-бор) , SmCo (самарий-кобальт) произошла тихая революция в электродвигателях, где, благодаря таким магнитам удалось кардинально улучшить их характеристики: в те годы даже ходила поговорка, что «электродвигатель никогда не будет летать», из-за большого веса старого типа двигателей (особенно это поговорка касалась малой, беспилотной авиации), а повсюду властвовали исключительно двигатели внутреннего сгорания.
И вот, нынешнее поколение уже даже, наверное, и не представляет, что «а разве когда-то было иначе?», видя, как лавинообразно распространяется беспилотная авиация, дроны.
В свете всего этого, имеет смысл ещё раз взглянуть на историю электродвигателей, как таковых…
«У истоков»
Сложно сказать, кто явился первооткрывателем электродвигателя, однако, принято считать, что это открытие относится к XIX веку, так как именно тогда сложились все научно-технические предпосылки для разработки подобного устройства.
Так как те годы были годами активный научной работы Майкла Фарадея, и он интересовался электричеством (в том числе), то, благодаря дошедшей до нас информации, принято считать, что именно прообраз электродвигателя работы Фарадея и является первым устройством, из последующей череды разработок, где было продемонстрировано преобразование электрического тока, во вращательное движение.
Суть эксперимента Фарадея заключалась в следующем: он подвесил проводник-проволочку, на специальной стойке, таким образом, чтобы свободный конец проволочки был опущен в ёмкость, куда была налита ртуть, а в центре ёмкости располагался магнит.
В ходе эксперимента, один из контактов гальванического элемента питания (вольтова столба) был подключен к проволочке, а второй был окунут в ртуть:

Как только оба контакта были подключены таким образом, проволочка немедленно начинала круговое движение вокруг магнита, расположенного в центре.
Таким образом, эксперимент показал возникновение кругового магнитного поля вокруг проводника (проволочки).
Из-за токсичности ртути, при необходимости повторения подобного эксперимента в наши дни, ртуть в нём обычно заменяется соляным раствором, что, впрочем, ничуть не ухудшает наглядность опыта:
В дальнейшем, опыт Фарадея был усовершенствован благодаря работам английского физика Питера Барлоу, который создал, так называемое «колесо Барлоу», в котором звездообразное колесо, было подвешено таким образом, чтобы зубцы колеса проходили между полюсами подковообразного магнита, в процессе этого окунаясь в продолговатый жёлоб с ртутью, расположенный между полюсами подковообразного магнита.
Теперь, если подключить один полюс источника тока к подвесу колеса (например, к его оси), а второй контакт опустить в ртуть, то, благодаря силе Лоренца, колесо начинает вращаться.
При этом, звездообразная форма не обязательна, а эксперимент получится даже с круглым колесом:
Буквально через 6 лет, благодаря работам венгерского физика Аньоша Едлика, который проводил свои эксперименты с электромагнитными катушками, появился двигатель, в котором магнитов уже не было, а стационарная катушка и вращающийся ротор представляли собой намотки из проволоки, взаимодействующие друг с другом за счёт своих магнитных полей, возникающих из-за протекания по ним электрического тока:

Тем не менее, все перечисленные выше экспериментальные образцы были всего лишь демонстраторами технологии, и их было невозможно применить в практических целях.
Описанные выше эксперименты относились к 1820-м годам XIX века, а первый электродвигатель, появился только 1832 году, благодаря работам английского учёного Уильяма Стёрджина, который имел потенциал быть применённым на практике, обладал коммутатором, однако был всё ещё достаточно маломощным…
Считается, что первый мощный электродвигатель постоянного тока, использованный в реальной жизни, был создан в России, Борисом Якоби, в 1834 году, что стало мировой сенсацией, так как мощности его было достаточно чтобы перевозить лодку с пассажирами, а сам факт такого применения стал первым в мировой практике.
Дальнейшее развитие двигателей постоянного тока будет связано с именами многих известных учёных, среди которых, например, такие как Тесла и Эдисон, вписавшие свои имена этими работами в историю.
Тем не менее, такого рода двигатели были весьма несовершенными (что не является секретом для любого, кто пытался с ними работать в реальной жизни) — основным элементом в таких двигателях является узел из коллектора и щёток, где щётки отвечают за передачу питания на ротор, а коллектор — за переключение питания между обмотками.
И именно этот узел и является источником всех проблем: физическое трение щёток о пластины коллектора приводит к их износу, а быстрое включение и выключение обмоток, за счёт того, что они имеют индуктивность, вызывает возникновение мощных электромагнитных помех — после отключения питания обмотки и пропадания электрического тока, магнитное поле, окружающее обмотку, начинает схлопываться, генерируя мощный импульс электрического тока, который, протекает через все отрезки цепи, превращая их в радиоантенну — пластины коллектора, прямые проводники до них, которые и излучают краткий мощный импульс широкополосных радиочастотных помех.
Несмотря на описанные проблемы, эти двигатели являются привлекательными, благодаря своей простоте, большому пусковому моменту и лёгкости в регулировке скорости.
Однако, из-за потерь, их КПД не превышает примерно 85%.
Интересный факт: мы привыкли к тому, что, как минимум, малого размера хобби-двигатели постоянного тока имеют постоянные магниты на статоре (или роторе), поле которых используется для создания движения.
Однако, так было не всегда, например, тот же самый двигатель Якоби, который использовался для первой в мире электрической лодки, для создания магнитного поля имел обмотки и на статоре, и на роторе!
Почему? Потому что на тот момент в мире просто-напросто не существовало магнитов, достаточно мощных, чтобы их можно было применить в электродвигателях!
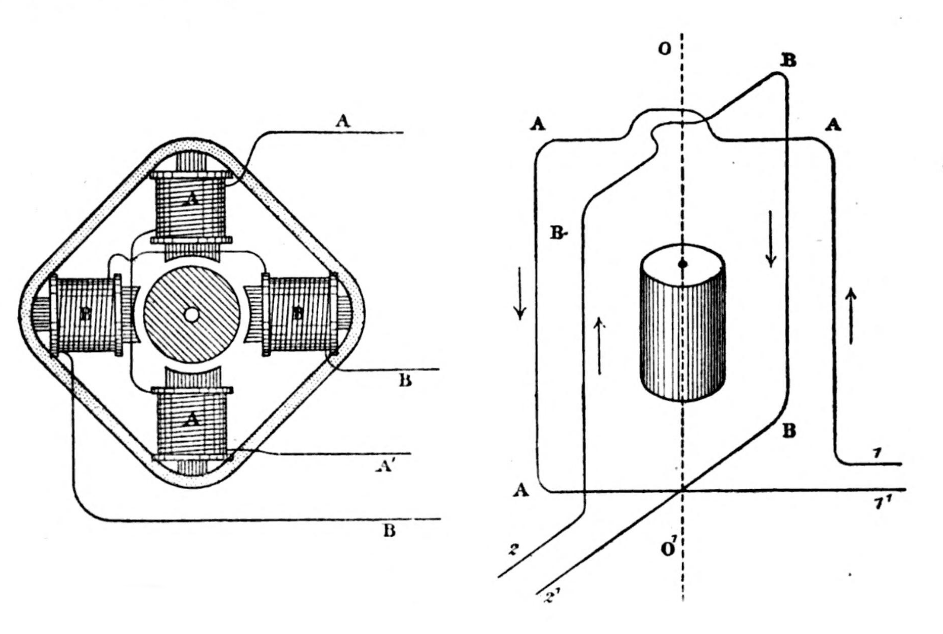
Ниже, вы можете видеть одну из версий этого двигателя:

Как показано выше, он состоит из 8 П-образных электромагнитов, 4 из которых расположены на статоре, а 4 на роторе. Для изменения полярности электромагнитов на роторе, служил коммутатор, принцип которого, используется и по сей день в электродвигателях.
Однако, этот двигатель был достаточно слабеньким, и мог передвигать только груз порядка 5 кг, со скоростью около 30 см/с.
Тем не менее, даже это было прорывом, так как ничего подобного на тот момент ещё не существовало!
Однако, этот двигатель был слишком слабым, и, чуть позже он сделал апгрейд, специально для той самой, знаменитой будущей моторной лодки: изменил конструкцию таким образом, чтобы подвижные и неподвижные электромагниты располагались в одной плоскости (получился эдакий «блинчик», он показан на картинке ниже), после чего, из таких блинчиков он собрал сборку из 40 их штук:
Тем не менее, на тот момент, электродвигатели были весьма проблемным элементом конструкций, из-за отсутствия ёмких и компактных элементов питания — стоит только отметить, например, такой момент: для работы этой моторной лодки, требовалось применить аж 320 гальванических элементов (надо думать, что с огромным совокупным весом, однако, уже об этом, история умалчивает).
В процессе работы над темой электродвигателей, Б.Якоби заметил и принципиальную проблему, которая имеет отношение ко всем двигателям, с включаемыми и отключаемыми электромагнитными катушками: на образование магнитного поля тратится энергия, которая, после отключения катушки, преобразуется в теплоту, вызывая потери — то есть, появилось осознание, что здесь нужно что-то другое, без пропадания и появления магнитного поля…
Таким образом, мы видим, что «по кирпичикам», возникала ситуация, вынуждающая перейти к принципиально иному типу двигателя (про него будет ниже).
Также, глядя на это всё, складывается впечатление, что двигатели постоянного тока изначально были с электромагнитами на статоре и электромагнитами на роторе, после чего, видоизменились во что-то другое (это мы ещё увидим сейчас), будучи полностью «выметенными» метлой истории.
Тем не менее, многие, наверное, в курсе, что двигатели постоянного тока никуда не исчезли из нашей жизни и широко представлены в виде микродвигателей для хобби, дронов и не только. Мало того: в этих двигателях появились постоянные магниты!
Есть и весьма широкий диапазон макродвигателей, но уже переменного тока, с магнитами в своей конструкции!
Пока сохраним интригу, и запомним этот момент (в дальнейшем, мы ещё к этому вернёмся), а сами перейдём к следующему эволюционному типу двигателя... ;-)
Асинхронные двигатели
Если работы Б.Якоби относились к 1834-1840 годам, то, исходя из описанных выше предпосылок, наверное, никого уже и не удивит, что, начиная с 1879 года, целый ряд учёных показали свои версии нового типа двигателя, среди которых был и Никола Тесла: такой двигатель отличался отсутствием щёточно-пластинчатого узла (соответственно, пропало и искрение, с радиопомехами), магнитное поле не пропадало и исчезало, а присутствовало постоянно (соответственно, уменьшились и потери на нагрев), с постоянно изменяющейся направленностью линий — и это был Его Величество, Асинхронный Двигатель.
Двигатели подобного типа представляли собой стационарно расположенную обмотку, и обмотку на роторе: при протекании электрического тока по обмотке на статоре, магнитное поле возбуждало ток и, соответственно, ответное магнитное поле в обмотке ротора.
Таким образом, из-за отсутствия недостатков предыдущего типа двигателя, подобный двигатель отличался хорошей мощностью, долговечностью, низкими потерями.
При этом, двигатели этого типа прошли целый ряд эволюционных этапов: от однофазного (хотя, фактически, он был двухфазным) Галилео Феррариса, до полноценной двухфазной системы Никола Тесла, а затем и трёхфазной М.О.Доливо-Добровольского.
Здесь под «фазами» подразумевается количество источников напряжения, от которых питается двигатель:
-
В двигателе Галилео Феррариса (1885 г.) фактически присутствовала не одна обмотка, а две на статоре, но, одна из них была запитана через индуктивность, а другая от сети напрямую (причём питались они через одну и ту же сеть), но, запитка через индуктивность создавала сдвиг синусоиды переменного тока, от которого питался двигатель (в одной из обмоток) на 1/4 длины волны (принято говорить на 90°).
Но, его двигатель был слабым и непригодным для практического использования, так как, помимо всего прочего, он не мог стартовать сам — не было устойчивой точки начала вращения.

-
Чуть позже (1888 г.), Никола Тесла создал свой собственный двухфазный двигатель, тоже, со сдвигом в 1/4 волны (т.е. 90°), но, в отличие от предшественника, это был полноценный двухфазный двигатель, питающийся от двух источников: он обладал мощным пусковым моментом и круговым вращающимся полем, в отличие от эллиптического поля, у предшественника.
Это и стало переломным моментом, сделавшим возможным внедрение этих двигателей в жизнь.
Но, до совершенства всё ещё было далеко...

-
Ещё чуть позже (1889 г.), М.О.Доливо-Доброволинский разработал трёхфазную систему питания и свой двигатель, которые в итоге и победили эту гонку: в его двигателе использовалось три источника питания, в которых фазы синусоид переменного тока, были сдвинуты относительно друг друга на 1/3 (т.е. на 120°), а в самом двигателе, обмотки статора были также смещены относительно друг друга, в пространстве, на 120°.

Таким образом, если три фазы такой системы питания подключить к любому трёхфазному двигателю, автоматически возникает вращающееся магнитное поле, которое приводит во вращение ротор!
При этом, ротор вращается несколько медленнее, чем поле в обмотках статора (именно поэтому, он и называется асинхронным, из-за этого запаздывания).
Более подробно можно глянуть, например, ниже:
Благодаря своей дешевизне относительно других типов электродвигателей (в конструкции нет дорогих магнитов, как минимум), высокому КПД (достигающему для современных моделей до 97%), а также лёгкостью в управлении скоростью (благодаря современным частотным преобразователям), асинхронные двигатели занимают вплоть до 90% мирового рынка электродвигателей, будучи применёнными во множестве целевых назначений.
«Двигатели с магнитами»
Выше мы обмолвились о том, что некая интересная ситуация сложилась с электродвигателями, использующими магниты и это действительно так:
-
Первый прорыв в этой области случился в 1930-е годы, когда разработка сплава алюминий-никель-кобальт (AlNiCo) позволила впервые создать дешёвые и достаточно мощные постоянные магниты, которые стало возможным применять в статорах двигателей, существенно упростив их конструкцию.
-
Гораздо позднее, уже в 1950 — 1970-е годы, случился ещё один прорыв, когда появились дешёвые керамические (ферритовые) магниты - их сила была меньше, чем у предыдущего варианта, и, благодаря своей дешевизне, они широко распространились в бытовой технике.
-
Но, как мы выше уже упомянули в самом начале статьи, самый значимый прорыв в этой области случился на рубеже 1980 — 1990-х годов, когда появились редкоземельные мощные магниты, в корне изменившие всё, что было до этого: их мощность в два-три раза превышает ферритовые, предыдущих поколений, значительно улучшились и массогабаритные характеристики, благодаря чему, на базе таких магнитов стало возможным изготавливать компактные и мощные электродвигатели, широко распространившиеся в мобильном транспорте и летательных устройствах (например, дронах).
Проникли такие магниты и в мощные промышленные электродвигатели, благодаря чему, стало возможным их и делать достаточно компактными, не такими сильно греющимися, что, в некоторых применениях, особенно важно — например, подобные магниты используются в двигателях нефтедобывающих погружных насосов, которые, несмотря на свой относительно малый диаметр, обладают достаточной мощностью, чтобы поднимать нефть с глубин, во много километров.
Таким образом, мы видим, что несмотря на широкое использование в мире электродвигателей, основной принцип устройства которых относится аж к 1800-м годам, некоторые локальные технологические революции всё же случаются...
В целом, можно сказать, что вся индустрия электромоторов развивается в сторону эволюции того, что уже существует, без кардинальных революций:
-
Приводы объединяются с контроллерами в один блок;
-
Появляются стали, с малыми потерями;
-
Улучшаются магниты;
-
Развитие электроники делает возможным изготавливать блоки управления бесколлекторными двигателями весьма малого размера, что позволяет их использовать в критических к весу и размеру применениях (как на тех же самых дронах).
При этом, каких-либо кардинальных прорывов пока не видно, хотя, периодически и появляются громкие заголовки, «о разработке революционных двигателей, с КПД более 100%», что, естественно, опровергается независимой экспертизой.
Когда я разбирался и систематизировал всю эту информацию, мне очень хотелось порадовать читателя и сказать: «вооот, уже послезавтра — яблони на Марсе будут цвести, а двигатели, так те вообще, будут такие, что уууу...!»
Но увы: «а воз и ныне там». Мы всё ещё живём в 1800-х годах, господа. Да-с.
:-D
Хотя, это я конечно немного утрирую, потому что некоторые интересные достижения в области электродвигателей всё же имеются, например, это двигатели, у которых нет ни вала, ни ротора: это поезда, где сила магнитного поля поддерживает их в парящем состоянии (maglev), и, ведутся работы в направлении распространения этого опыта, для создания движения, непосредственно самим корпусом транспортного средства — например, колёс, не имеющих стандартного вала и ротора, но, в то же время, вращающихся.
Ещё одним направлением интересных разработок (пока больше гипотетическим, так как требует больше исследований) является попытка переноса квантовых эффектов микромира в «большой» мир — ведутся работы в направлении создания двигателя на базе использования спиновых токов электронов («квантовый двигатель»), то есть, электрический ток, как таковой, отсутствует, а переориентация спинов приводит к возникновению движения (но, это пока находится в области глубоких исследований).
Ну и, завершая, несмотря на весь впечатляющий прогресс, который прошли электродвигатели с момента своего появления — человечество даже близко не находится к достижению производства природного технологического совершенства, электродвигателя бактерий — двигателя «неснижаемой сложности» (т.е. другими словами, с точки зрения технологий, это «совершенство» (по крайней мере, на данный момент, хотя мы знаем, что ничего абсолютного не бывает) ):
-
Единственный известный науке биологический механизм, с реализованным вращением вала на 360°, на неограниченное число оборотов (максимально известная науке скорость вращения: 1500 об/мин);
-
Потрясающая энергоэффективность;
-
Электрическое питание потоком протонов;
-
Реверс вращения;
-
Регулировка скорости вращения;
-
Подвес приводного вала на электростатических подшипниках, в электростатическом поле;
-
Коробка переключения передач, на базе шестерней, с нейтралкой и отключением двигателя от приводного вала (это в биологическом-то объекте!);
-
Шестерня на приводном валу (опять же, речь о биологическом объекте!);
-
Наноразмеры: на ширине человеческого волоса помещается порядка 8 млрд бактерий, где двигатель занимает ничтожную часть каждой из них!
Сможем ли мы такое собрать сейчас? Даже близко нет! :-)
О чём это говорит? О том что мы всё ещё в пути и, достигнув КПД электродвигателей в более чем 90% (как сейчас), нам ещё рано расслабляться, так как, по сути, мы ещё ничего не знаем об этом мире, но, хочется верить, что у нас всё ещё впереди и —
МЫ ОБЯЗАТЕЛЬНО УЗНАЕМ!
Автор: cnet
