По интернету ходят упорные слухи, что с модулями на INA226 всё плохо: поддельные чипы, отбраковка, неправильная схемотехника, откровенный треш типа припайки микросхемы не той стороной и т. д.
В моём распоряжении оказались несколько модулей INA226, так называемых «плохих» и «хороших» по той же классификации из интернета. Сегодня мы их протестируем и посмотрим что же они выдают на самом деле и можно ли их вообще использовать для измерения тока и напряжения в своих проектах.
А заодно попытаемся установить, что же за микросхемы установлены в этих модулях.
❯ Модули INA226
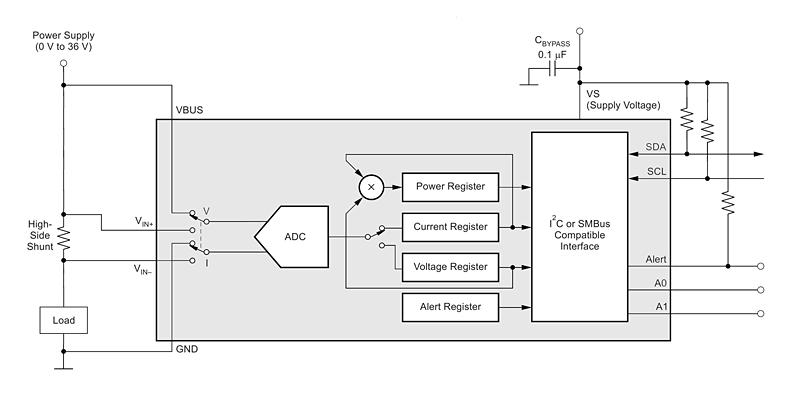
Микросхемы INA226 от Texas Instruments пользуются заслуженной популярностью у любителей и профессионалов благодаря хорошему диапазону измеряемых величин (постоянное напряжение до 36 В и ток в широком диапазоне, в зависимости от используемого шунта), хорошей точности, адекватной работе и лёгкости получения данных с них по I2C интерфейсу.
И всё бы ничего, но наши китайские друзья любят заниматься «оптимизацией бизнеса» и вместо оригинальных микросхем устанавливают в дешёвые модули одному богу известно что. Эта беда коснулась и популярных модулей INA226.
В целом, сложилась легенда о «хороших» и «плохих» модулях INA226, смысл которой можно сформулировать так: модули отличаются установленными микросхемами и имеют внешние признаки по которым можно отличить «хорошие» варианты от «плохих» (которые измеряют напряжение и ток с большой погрешностью).

На самом деле всё несколько сложнее. Нет однозначного соответствия между внешним видом модуля (и установленной на нём микросхемы INA226) и качеством его работы. Кроме того, встречаются варианты с неправильно запаянными резисторами, микросхемой запаянной не той стороной и прочими подобными фатальными проблемами. В некоторых случаях до измерений дело вообще не доходит — модуль сгорает сразу после включения.
Но основной упор в «городских легендах» о INA226 делается на установленную в модуле микросхему. Легенда гласит, что микросхема с «большой объёмной точкой» лучше микросхемы с «маленькой нарисованной точкой». Забегая вперёд, можно сказать, что этот признак не является определяющим и на 100 % верным.

В этом исследовании приняли участие 3 «хороших» модуля и 2 «плохих». Все модули куплены в разное время у разных продавцов. То, что они похожи как близнецы-братья наводит на мысль о том, что модули эти производятся двумя-тремя компаниями, а остальные продавцы на Алиэкспресс «насыпают» их из одного контейнера (какой контейнер приехал — такие модули и пришлёт вам продавец).
Далее мы протестируем эти пять модулей и посмотрим как обстоят с ними дела, как в отношении «хороший»/«плохой», так и по качеству работы разных экземпляров внутри этих групп.
❯ Стенд и методика
В качестве источника эталонного напряжения будем использовать плату на чипе AD584 от ANALOG DEVICES. Эта плата выдаёт рефренсные значения напряжения в диапазонах 2.5, 5, 7.5 и 10 В. Плата запитывается непосредственно от аккумулятора, чтобы избежать наводок от электросети и DC/DC преобразователей.
В качестве контрольного прибора будем использовать протестированный на точность измерений мультиметр UNI-T UT61E+. Показаниям этого прибора можно доверять — они минимально отличаются от значений рефренсного напряжения с платы AD584.

Измерение силы тока будем производить по схеме из даташита на INA226.

В качестве нагрузки будем использовать набор из пяти 100-ваттных резисторов от 10 до 100 Ом.

Итак, приступаем к тестированию.
❯ Тестирование
Подаём на вход VBUS модулей INA226 напряжение с эталонного источника. Для контроля производим замеры уровня напряжения мультиметром UNI-T UT61E+.
Type 1 — это «хорошие» модули, Type 2 — «плохие».
Диапазон 2,5 вольт

Диапазон 5 вольт

Диапазон 7,5 вольт

Диапазон 10 вольт

Ниже представлена сводная таблица по погрешности измерения напряжения всех модулей.

И графическое представление данных из сводной таблицы.

На графике видно, что «хорошие» модули INA226 измеряют напряжение с точностью, близкой к контрольному UNI-T UT61E+. «Плохие» модули действительно дают значительно большую погрешность (серые столбики).
Учитывая, что практически все измеренные значения уходят в отрицательную область, можно сделать предположение, что это является следствием температурного дрейфа выдаваемых напряжений модулем на AD584 и эти значения можно нормализовать на двойное значение наиболее точного измерения UNI-T UT61E+.
Нормализованный график ещё более нагляден:

Тут хорошо видно, что результаты измерений напряжения «плохими» модулями значительно хуже, имеют большую погрешность и уходят в отрицательную область.
А результаты измерений напряжения «хорошими» модулями лучше, имеют меньшую погрешность и уходят в положительную область. Причём у «хороших» модулей прослеживается тенденция увеличения погрешности измерений и ростом величины измеряемого напряжения.
Важный вывод: как минимум, это говорит о том, что микросхемы на «плохих» и «хороших» модулях не только имеют разную маркировку, но и сами чипы там различные. То есть мы действительно имеем дело с разными типами (моделями) микросхем.
А вот что это за микросхемы, мы попытаемся разобраться далее.
❯ Сопротивление и шунты
К этому моменту исследования схемотехники и работы модулей INA226 становится понятным, что запаяно на них может быть что угодно, в частности, установленные шунты могут иметь любую погрешность. А от качества шунта будет непосредственным образом зависеть точность измерения величины тока.

И вот тут нас поджидает сюрприз. Оказывается более точные шунты с погрешностью +-0,3% установлены на «плохих» модулях, а на хороших погрешность достигает 1,7%, что только подтверждает тезис о том, что на модулях может быть установлено что угодно и нет однозначного соответствия между внешним видом модуля и качеством его работы.
В графическом виде это ещё более наглядно. В «хороших» модулях на шунтах явно сэкономили.

❯ Измерение силы тока
Теперь посмотрим как китайские модули справляются с измерением силы тока. В качестве нагрузки будем использовать 100-ваттные резисторы от 10 до 150 Ом при питающем напряжении 5 В. Этот набор нагрузок обеспечивает покрытие тестами диапазона токов примерно от 3 до 50 % (для стандартно установленных на модулях шунтов 0,1 Ом и пределе измерения для них 0,8 А).

В качестве контрольного будем использовать мультиметр UNI-T UT61E+. Микросхема INA226 имеет подстроечный регистр, которым можно скорректировать её показания измеренной силы тока. Выставляем при помощи корректирующего регистра нулевую погрешность для наименьшего тока (резистор 150 Ом). Это около 3 % от всего доступного диапазона (ток 29,25 мА). И проводим все измерения.
Ниже представлены графики измерения силы тока мультиметром UNI-T UT61E+ и одним из тестируемых модулей — Type 1 (1). Результат можно назвать отличным — оба графика практически слились в один, расхождений на этом масштабе вообще не видно.

Но если взглянуть на процентную погрешность измерений, то видно, что она растёт с ростом величины измеряемого тока. Причём величина тока между пределами 167,98 мА и 405 мА растёт скачкообразно, а процентная погрешность измерений — линейно (что несколько странно).

Но в целом, по результатам тестов измерения тока можно сказать, что модули INA226 обеспечивают неплохую точность таких измерений, а при желании можно ещё дополнительно (к настройкам калибровочного регистра INA226) ввести небольшие корректировки в самом программном коде прошивки микроконтроллера (правда вам для этого придётся провести тесты вашего конкретного экземпляра модуля INA226).
❯ Попытка идентификация чипа
Всё это хорошо, но хотелось бы понять, какие чипы на самом деле установлены на этих модулях. В процессе исследования этой темы в интернете мне попалась фраза, которая проливает дополнительный свет на загадку «INA226 на китайских модулях»:
Цитата:
«У INA226 есть минимум два китайских аналога — TPA626 от 3PEAK и SQ52201 от SILERGY. Очень сильно сомневаюсь что в китайских модулях стоит оригинал от TI, скорее перемаркировка одного из аналогов.
Судя по даташитам, они совместимы и программно, и аппаратно. Есть небольшие отличия в точности, ну и похоже у одной из них ноль смещён на значение одного бита, что при общей точности АЦП ни на что не влияет.
Ну и у них есть дополнительный регистр по адресу 0xFE, у SQ52201 там 0x190F, а у TPA626 0x5549. У INA226 этот регистр не описан*, но не факт что его нет».
*Примечание: на самом деле описан.
Я провёл дополнительное исследование и проверил соответствие содержимого регистров 0xFE и 0xFF доступных мне микросхем INA226, полученные данные свёл в следующую таблицу:

Из этих данных невозможно сделать однозначные выводы о принадлежности микросхем, установленных в китайских модулях с Алиэкспресс. Если верить содержимому регистров, то перед нами оригинальные микросхемы от Texas Instruments.
С другой стороны, кто мешает китайским производителям записать любой код в эти регистры, если они не стесняются перепиливать всё подряд, вплоть до транзисторов и конденсаторов? А поскольку ранее мы установили, что чипы на тестируемых модулях относятся к разным типам (моделям), то как минимум половина из них — не оригинальные.
В общем, что там на самом деле установлено — загадка сия велика есть. Я склоняюсь к мнению, что это всё-таки не оригинальные чипы от TI, а тот или иной вариант подделки китайских престидижитаторов от электроники.
❯ Выводы
Но в целом, всё не так плохо — несмотря на китайское происхождение чипов, эти модули, при соответствующей настройке, обеспечивают достаточно неплохой уровень качества измерения постоянного напряжения и тока.
Но покупка подобных модулей на Алиэкспресс остаётся лотерей с непредсказуемым результатом — вам могут прислать как вполне рабочие модули, так и откровенный брак, вплоть до полной неработоспособности присланных экземпляров. Причём один и тот же продавец может прислать один раз качественный товар, а в следующий раз — брак.
Внешний вид модулей и внешний вид установленных на них микросхем INA226 тоже не являются определяющими факторами — всё это нужно проверять и тестировать отдельно, прежде, чем использовать эти модули в своих проектах.
Ну, или нужно покупать оригинальные микросхемы от Texas Instruments у проверенных поставщиков и самостоятельно делать для них печатные платы.
Читайте также:
Автор: smart_alex
