
Компания Amazon старается минимизировать время доставки посылки, используя самые разные способы. Это и скоростные автомобили, и договоренности с транспортными компаниями, и грузовики с 3D принтерами на борту, которые выезжают по локальным заказам, создавая нужные заказчику запасные части и детали.
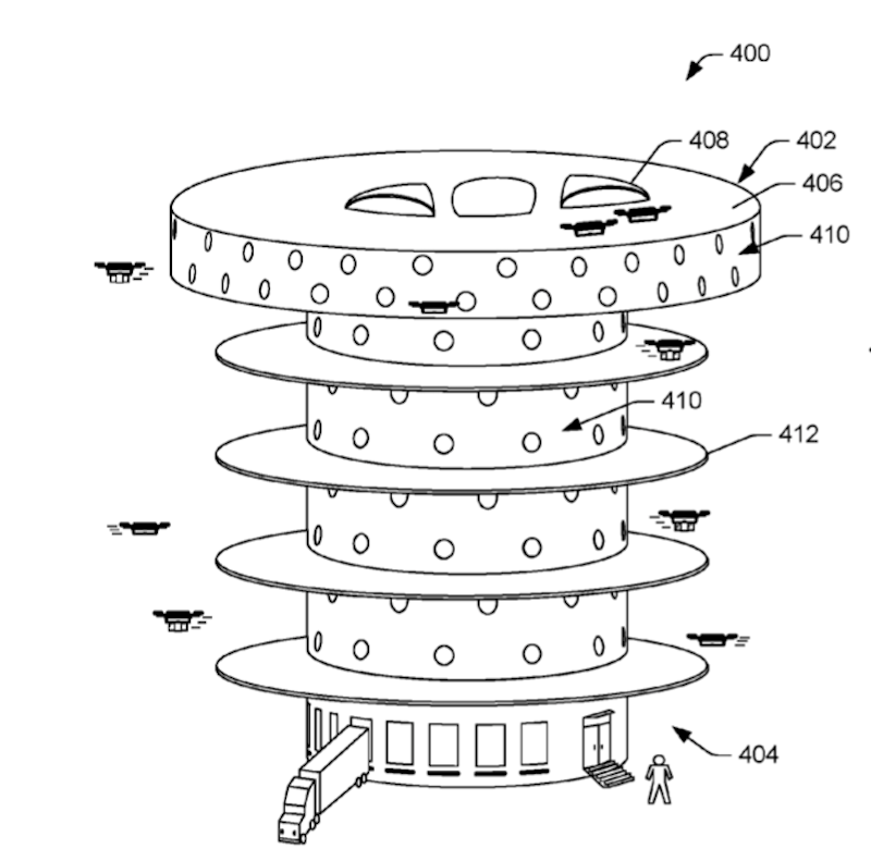
Крупную ставку Amazon делает на дронов, считая, что доставка товаров по воздуху — максимально быстрый и эффективный путь из точки А в точку Б. Для того, чтобы получить возможность работать с коптерами в качестве курьеров, корпорация лоббирует ряд законов в США и других странах, которые позволяет использовать воздушный мини-транспорт для доставки. Кроме того, разрабатываются новые модели таких устройств, а также элементы инфраструктуры. Сейчас стало известно, что компания подала патентную заявку на башню для коптеров-курьеров, откуда дроны будут вылетать с товаром.
Что касается самого способа доставки при помощи дрона, то это не обязательно «курьер до двери». Место доставки может и меняться, например, если получатель посылки двигается. Дроны будут получать информацию о месте доставки, получая данные со смартфона заказчика. Всего предусматривается четыре типа доставки: «Привезите мне», «Домой», «На работу» и в «Мою лодку».
Дроны будут создавать самых разных размеров, размер будет зависеть от планируемой грузоподъемности. Сейчас типичный «летающий курьер» от Amazon представляет собой коптер с восемью пропеллерами и компьютерной системой управления, которая устанавливается в середине и верхней части рамы. Максимальная высота полета для разрабатываемых компанией дронов составляет 120 метров. Скорость устройства в воздухе достигает 80 километров в час.
Окончательный дизайн коптеров еще не готов. В компании объясняют это следующим образом: «Мы тестируем несколько типов летательных аппаратов и механизмов доставки для того, чтобы определить оптимальный способ в условиях различного окружения». Кроме того, так после того, как дизайн дронов будет утвержден, и они отправятся в производство, конструкция беспилотников может изменяться с течением времени.

Что касается башни для дронов, то она будет представлять собой многоуровневое здание, со входами для людей, въездами-выездами для автомобилей (в том числе, грузовых) и множественными «лотками» для вылета и возвращения дронов. По словам представителей компании, башни будут устанавливаться в крупнейших населенных центрах, где доставка любыми другими способами затруднена. Такими центрами могут быть Нью-Йорк, Лондон, Токио и другие мегаполисы.
Правда, здесь есть несколько сложных моментов юридического характера. Дело в том, что в крупных городах в большинстве стран полеты дронов запрещены. Дело в том, что власти опасаются поломок их в процессе полета. Ведь даже небольшой дрон может представлять собой значительную опасность, если упадет на головы идущих внизу людей с высоты в 200-300 метров и выше. Так что, прежде, чем строить башни, компании придется уладить все эти моменты.

В патентной заявке компании говорится следующее: «Многоуровневый центр создан для обеспечения взлета и посадки беспилотных летательных аппаратов (БПЛА), вероятно, в черте города, включая густонаселенные регионы».
Несколько уровней в таком центре нужно для того, чтобы работать могло сразу несколько коптеров одновременно. Это будет похоже на аэродром в миниатюре — какие-то аппараты взлетают, какие-то возвращаются и садятся на свою площадку. В компании заявляют, что патенты вроде этого не просто похожи на зарисовки из будущего, такие документы это будущее делают реальностью.

Количество патентных заявок, поданных компанией, которые имеют отношение к логистике при помощи БПЛА и других автономных систем
Amazon тестирует свои системы на секретном полигоне в Кембридже, испытания также проводятся на нескольких площадках в других местах, включая Израиль и Канаду.
Автор: marks
