
Porsche
Несколько месяцев назад стало известно о намерении Porsche и Boeing совместно разрабатывать летающий автомобиль. Недавно же в Сети нашли патент немецкого автопроизводителя, описывающий подобную машину.
Документ был обнаружен пользователем Taycan EV Forum; он был подан Porsche в Бюро по регистрации патентов и торговых марок США в июле 2019, а опубликован в январе 2020-го. Патент описывает электрический летающий аппарат вертикальных взлета и посадки (eVTOL).
Porsche
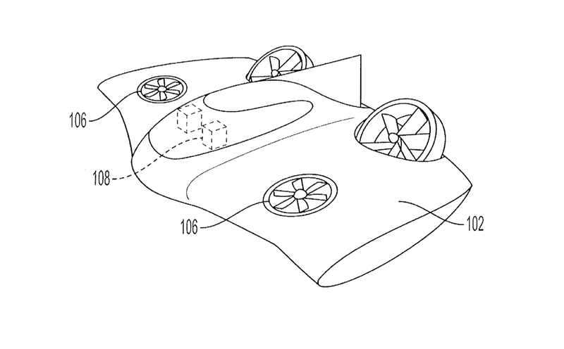
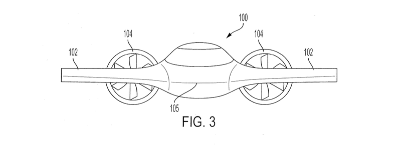
Патент включает схематичные изображения описываемого аппарата. Можно заметить, что машина оснащена четырьмя крупными пропеллерами (двумя спереди и двумя — более крупными — сзади), а также небольшой кабиной, где могут расположиться двое людей. Патент описывает аппарат как полностью электрический.
Известно, что Porsche и Boeing совместно готовят аэротакси, однако является ли аппарат, описываемый в патенте Porsche, тем самым концептом, над которым сейчас ведется работа, неясно.
