
В компьютерах уже давно есть шина PCI Express v3.0 x16; Тесты современных видеоадаптеров показывают на этой шине скорость около 12 Гбайт/с. Хотелось бы сделать модуль на ПЛИС который обладает такой же скоростью. Однако доступные ПЛИС имеют HARDWARE контроллер только для PCIe v3.0 x8; Реализации SOFT IP Core есть, но очень дорогие. Но выход есть.
ПЛИС Virtex 7 VX330T имеет два контроллера PCI Express v3.0 x8; Очевидным решением является размещение коммутатора, который имеет на стороне разъёма x16 и две шины x8 которые подключены к ПЛИС. Получается вот такая структура:

По такой схеме построен модуль HTG-728 компании HighTechGlobal.
По другому пути идёт комания Alpha-Data. Модуль ADM-PCIE-KU3-X16 не имеет коммутатора. Но на разъём x16 выводятся две шины x8. В ПЛИС возможна реализация двух независимых контроллеров. Для этого на ПЛИС заведены два сигнала сброса и две опорных частоты. Но работать это модуль будет только в специальных системных платах, где так же на разъём x16 выводятся два x8. Таких системных плат я не встречал, но видимо они есть.
В нашей компании было принято решение по реализации модуля FMC122P с внутренним коммутатором. Главной задачей была проверка максимальной скорости обмена. Другой, не менее важной задачей, является достижение совместимости с существующим программным обеспечением и компонентами ПЛИС.
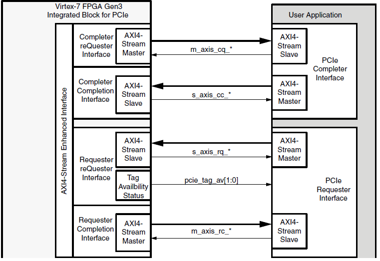
Контроллер PCI Express для Virtex 7 кардинально отличается от контроллеров для Virtex 6, Kintex 7. Он стал более удобным, но он другой. На рисунке представлена структурная схема контроллера:

Контроллер имеет две части Completer и Requester, каждая из которых имеет две шины AXI_Stream. Через узел Completer приходят запросы со стороны шины PCI Express. Эти запросы передаются на шину m_axis_cq. По шине s_axis_cc должен прийти ответ со стороны User компонента. Обычно это узел доступа к внутренним регистрам ПЛИС.
Через узел Requester по шине s_axis_rq контроллер DMA посылает запросы на шину PCI Express. Ответы приходят через шину m_axis_rc.
Моделирование шины
В состав IP Core входит example проект по которому можно понять как это работает. Проект написан на Verilog и, к сожалению, он также может служить примером того как не надо разрабатывать. Давайте рассмотрим структурную схему примера.

Эта диаграмма взята из описания IP Core. На первый взгляд всё прекрасно – это замечательная картинка, её можно показать менеджерам, руководителям проектов, клиентам. Проблемы начинаются в реализации. В этой системе очень много мест где используется возможности Verilog для доступа к объектам по абсолютному пути. На мой взгляд, в данной системе это оправдано только в одном месте – это обход узлов GTP для моделирования на уровне PIPE. А вот делать связь между userapp_tx и userapp_rx с использованием абсолютных путей совершенно не нужно.
В проекте это выглядит так:
В компоненте pci_exp_usrapp_tx есть функция TSK_SYSTEM_INITIALIZATION которая вызывает через абсолютный путь функцию из pci_exp_userapp_cfg:
board.RP.cfg_usrapp.TSK_WRITE_CFG_DW (здесь и далее я называю функцией то что в Verilog описывается через task). Смотрим компонент pci_exp_userapp_cfg, что видим: cfg_ds_bus_number <= board.RP.tx_usrapp.RP_BUS_DEV_FNS[15:8];
Смотрим компонент pci_exp_userapp_rc, там тоже самое: board.RP.com_usrapp.TSK_PARSE_FRAME(`RX_LOG);
Это не только стилистически не правильно. Это мешает применить модель в своём проекте. Во первых совершенно не обязательно, что в собственном проекте файл верхнего уровня будет называться board и там останется та же самая иерархия. Во вторых может быть два компонента. У нас как раз произошли оба случая. Пришлось поработать с Verilog, хотя мне он совершенно не нравиться. Как оказалось, путём небольшой перестановки весь компонент root_port можно привести к полностью иерархическому виду. В итоге получились файлы компонентов:
- xilinx_pcie_3_0_7vx_rp_m2.v
- pci_exp_usrapp_tx_m2.v
- pci_exp_usrapp_cfg_m2.v
И файлы с функциями:
- task_bar.vh
- task_rd.vh
- task_s1.vh
- task_test.vh
Это позволило включить в модель два компонента root_port. В компоненте VHDL включение двух root_port выглядит так:
gen_rp0: if( is_rp0=1 ) generate
rp0: xilinx_pcie_3_0_7vx_rp_m2
generic map(
INST_NUM => 0
)
port map(
sys_clk_p => sys_clk_p,
sys_clk_n => sys_clk_n,
sys_rst_n => sys_rst_n,
-- Передача команд
cmd_rw => cmd_rw, -- Признак чтения-записи: 0 - чтение, 1 - запись
cmd_req => cmd_req, -- 1 - Запрос операции
cmd_ack => cmd_ack, -- 1 - подтверждение опреации
cmd_adr => cmd_adr, -- адрес для команды чтения-записи
cmd_data_i => cmd_data_i, -- данные для записи
cmd_data_o => cmd_data_o, -- прочитанные данные
cmd_init_done => cmd_init_done_0 -- 1 - инициализация завершена
);
end generate;
gen_rp1: if( is_rp1=1 ) generate
rp1: xilinx_pcie_3_0_7vx_rp_m2
generic map(
INST_NUM => 1
)
port map(
sys_clk_p => sys_clk_p,
sys_clk_n => sys_clk_n,
sys_rst_n => sys_rst_n,
cmd_init_done => cmd_init_done_1 -- 1 - инициализация завершена
);
end generate;
Через компонент rp0 производятся обращения по записи или чтению 32-х разрядных слов. Компонент rp1 только проводит инициализацию.
К сожалению это моделируется очень долго, даже если проводить моделирование на уровне PIPE. Типичный сеанс моделирования это около десяти минут (а может и больше, я уже не помню). Для оперативной работы с DMA каналом это не подходит. В данной ситуации было принято совершенно естественное решение это удалить из модели контроллер PCI Express. Тем более, что он уже был изучен.
Структурная схема контроллера
Обобщённая схема контроллера представлена на рисунке.

Два одинаковых компонента core256_top_engine обеспечивают доступ к двум контроллерам EP0, EP1. core256_top_engine обеспечивает обращение к регистрам со стороны PCI Express, для этого используется только EP0 и компонент reg_access. Компонент dma_access содержит главную логику управления контроллером. Его структурная схема на рисунке ниже:

Всем управляет узел ctrl_main. Узел ctrl_dsc содержит блок дескрипторов. Узел ctrl_adr преобразует дескриптор в последовательность адресов четырёхкилобайтных блоков. Адреса поступают на узлы cmd0 и cmd1 для обмена с узлами core256_top_engine;
Со стороны пользовательской части ПЛИС есть две шины шириной 512 бит. Но данные по этим шинам должны передаваться блоками по 4 килобайта и строго по очереди. Это требуется для поочерёдного заполнения узлов памяти ram0, ram1. Каждый узел памяти содержит четыре блока по 4 килобайта. На этих узлах памяти происходит расщепление исходного потока шириной 512 бит на два потока по 256 бит. В дальнейшем два потока по 256 бит уже полностью независимы. Данные потоков встретятся только в оперативной памяти компьютера, где они окажутся по соседним адресам.
Моделирование dma_access
Узел dma_access является самой сложной частью контроллера. Соответственно, он должен быть промоделирован особенно тщательно. Как я уже написал выше, моделировать два ядра PCI Express очень долго. Для ускорения разработана модель которая подключается вместо core256_top_engine. Для dma_access остался тот же самый интерфейс, а скорость моделирования выросла на порядок. В этом проекте, так же как и в проекте PROTEQ используется автоматический запуск тестов через tcl файл.
Вот фрагмент tcl-файла:
run_test "stend_m4" "test_read_8kb " 6 "50 us"
run_test "stend_m4" "test_read_16kb " 7 "100 us"
run_test "stend_m4" "test_read_49blk " 8 "150 us"
run_test "stend_m4" "test_read_8x4_cont " 9 "150 us"
run_test "stend_m4" "test_read_128x1_cont " 12 "200 us"
run_test "stend_m4" "test_read_16kbx2 " 13 "150 us"
run_test "stend_m4" "test_read_step " 14 "200 us"
run_test "stend_m4" "test_read_8kb_sg_eot " 15 "100 us"
run_test "stend_m4" "test_read_64x1 " 16 "100 us"
Это автоматический запуск девяти тестов. Для примера приведу код одного теста:
procedure test_read_4kb (
signal cmd: out bh_cmd; --! команда
signal ret: in bh_ret --! ответ
)
is
variable adr : std_logic_vector( 31 downto 0 );
variable data : std_logic_vector( 31 downto 0 );
variable str : line;
variable L : line;
variable error : integer:=0;
variable dma_complete : integer;
variable data_expect : std_logic_vector( 31 downto 0 );
begin
write( str, string'("TEST_READ_4KB" ));
writeline( log, str );
---- Формирование блока дескрипторов ---
for ii in 0 to 127 loop
adr:= x"00100000";
adr:=adr + ii*4;
int_mem_write( cmd, ret, adr, x"00000000" );
end loop;
int_mem_write( cmd, ret, x"00100000", x"00008000" );
int_mem_write( cmd, ret, x"00100004", x"00000100" );
-- int_mem_write( cmd, ret, x"00100080", x"00008000" );
-- int_mem_write( cmd, ret, x"00100084", x"00000100" );
int_mem_write( cmd, ret, x"001001F8", x"00000000" );
int_mem_write( cmd, ret, x"001001FC", x"762C4953" );
---- Программирование канала DMA ----
block_write( cmd, ret, 4, 8, x"00000025" ); -- DMA_MODE
block_write( cmd, ret, 4, 9, x"00000010" ); -- DMA_CTRL - RESET FIFO
block_write( cmd, ret, 4, 20, x"00100000" ); -- PCI_ADRL
block_write( cmd, ret, 4, 21, x"00100000" ); -- PCI_ADRH
block_write( cmd, ret, 4, 23, x"0000A400" ); -- LOCAL_ADR
block_write( cmd, ret, 4, 9, x"00000001" ); -- DMA_CTRL - START
wait for 20 us;
block_read( cmd, ret, 4, 16, data ); -- STATUS
write( str, string'("STATUS: " )); hwrite( str, data( 15 downto 0 ) );
if( data( 8 )='1' ) then
write( str, string'(" - Дескриптор правильный" ));
else
write( str, string'(" - Ошибка чтения дескриптора" ));
error := error + 1;
end if;
writeline( log, str );
if( error=0 ) then
---- Ожидание завершения DMA ----
dma_complete := 0;
for ii in 0 to 100 loop
block_read( cmd, ret, 4, 16, data ); -- STATUS
write( str, string'("STATUS: " )); hwrite( str, data( 15 downto 0 ) );
if( data(5)='1' ) then
write( str, string'(" - DMA завершён " ));
dma_complete := 1;
end if;
writeline( log, str );
if( dma_complete=1 ) then
exit;
end if;
wait for 1 us;
end loop;
writeline( log, str );
if( dma_complete=0 ) then
write( str, string'("Ошибка - DMA не завершён " ));
writeline( log, str );
error:=error+1;
end if;
end if;
for ii in 0 to 3 loop
block_read( cmd, ret, 4, 16, data ); -- STATUS
write( str, string'("STATUS: " )); hwrite( str, data( 15 downto 0 ) );
writeline( log, str );
wait for 500 ns;
end loop;
block_write( cmd, ret, 4, 9, x"00000000" ); -- DMA_CTRL - STOP
write( str, string'(" Прочитано: " ));
writeline( log, str );
data_expect := x"A0000000";
for ii in 0 to 1023 loop
adr:= x"00800000";
adr:=adr + ii*4;
int_mem_read( cmd, ret, adr, data );
if( data=data_expect ) then
fprint( output, L, "%r : %r - Okn", fo(ii), fo(data));
fprint( log, L, "%r : %r - Okn", fo(ii), fo(data));
else
fprint( output, L, "%r : %r Ожидается: %r - Error n", fo(ii), fo(data), fo(data_expect));
fprint( log, L, "%r : %r Ожидается: %r - Error n", fo(ii), fo(data), fo(data_expect));
error:=error+1;
end if;
data_expect := data_expect + 1;
end loop;
-- block_write( cmd, ret, 4, 9, x"00000010" ); -- DMA_CTRL - RESET FIFO
-- block_write( cmd, ret, 4, 9, x"00000000" ); -- DMA_CTRL
-- block_write( cmd, ret, 4, 9, x"00000001" ); -- DMA_CTRL - START
fprint( output, L, "nTest time: %r n", fo(now) );
fprint( log, L, "nTest time: %r n", fo(now) );
-- вывод в файл --
writeline( log, str );
if( error=0 ) then
write( str, string'("TEST finished successfully" ));
cnt_ok := cnt_ok + 1;
else
write( str, string'("TEST finished with ERR" ));
cnt_error := cnt_error + 1;
end if;
writeline( log, str );
writeline( log, str );
-- вывод в консоль --
writeline( output, str );
if( error=0 ) then
write( str, string'("TEST finished successfully" ));
else
write( str, string'("TEST finished with ERR" ));
end if;
writeline( output, str );
writeline( output, str );
end test_read_4kb
Команды int_mem_write обеспечивают запись в ОЗУ HOST компьютера. В данном тесте туда записывается блок дескрипторов. Команды block_write и block_read обеспечивают обращения к регистрам DMA контроллера. Производится программирование контроллераю, его запуск и завершение обмена. После этого командами int_mem_read производится считывание и проверка принятых данных. Код этого теста практически полностью совпадает с тестом от контроллера PCIe_DS_DMA, который я опубликовал как open source проект на opencores.org; По сравнению с оригиналом добавлена проверка принятых данных.
Логическая организация контроллера
На уровне регистров контроллер полностью повторяет наши предыдущие контроллеры для ПЛИС Virtex 4, Virtex 5, Virtex 6, Kintex 7; С организацией можно ознакомиться в проекте PCIe_DS_DMA.
Особенностью всех контроллеров является объединение одиночных дескрипторов в блок дескрипторов. Это даёт резкое увеличение скорости при использовании фрагментированной памяти.
Подключение к тетрадам
Для нас важно подключить данный контроллер к нашим тетрадам. Что такое тетрады я написал в предыдущей статье: «Интерфейс ADM: Что такое тетрада». Работа с шиной 512 бит потребовала изменение подхода. Для подключения тетрады пришлось использовать дополнительный узел перепаковщика. Структураная схема — на рисунке.

Перепаковщик решает две задачи:
- трассировку шины по кристаллу, для этого можно задать число дополнительных стадий конвейера
- подключение к тетрадам с шинами 64 и 128 разрядов
Использование памяти
Конечной целью разработки контроллера и подключения к тетрадам является получение непрерывного потока данных от АЦП на компьютер. И здесь мы сталкиваемся с тем, что шина PCI Express не обеспечивает стабильной скорости. На шине возможны задержки. Это особенно заметно проявляется на высоких скоростях обмена. Задержки возникают из-за работы других устройств. Величина задержки может быть разной, это может быть 5 – 10 мкс, а может и больше. Задержка в 10 мкс на скорости 11 Гбайт/с соответствует блоку памяти в 110 килобайт. Для внутренней памяти даже современных ПЛИС это очень много. А ведь задержка может быть и больше. Если поток данных нельзя приостановить, а это как раз тот случай, когда используются АЦП, то единственным выходом является буферизация во внешней памяти. Причём память должна уметь работать на скорости 22 Гбайта/с. У нас на модуле установлены два SODIMM DDR3-1600. Память работает на частоте 800 МГц. Это соответствует непрерывному потоку данных 8400 Мбайт/с. Это цифра подтверждена экспериментом. Хочу заметить, что скорость 8400 Мбайт/с превосходит скорость выдачи данных от нашего самого быстрого субмодуля в котором установлены два АЦП на 1800 МГц.
Трассировка
На скриншоте представлен результат трассировки в программе PlanAhead:

На картинке видно два контроллера PCI Express (подсвечены жёлтым и зелёным) и два контроллера памяти (рядом с PCI Express).
Как оказалась, такой проект является очень сложным для Vivado, она с ним справляется очень плохо. Проект в Vivado разводится плохо и часто просто не работает. ISE показывает гораздо более стабильные результаты. Узлы PCI Express разведены в соответствии с рекомендациями Xilinx, при этом оказалось что они разнесены по кристаллу. А это уже создаёт проблему для совместного использования остальных мультигигабитных линий.
Результаты
Работа модуля проверялась на нескольких компьютерах. Результаты довольно интересные.
| Intel Core i7 4820K | P9X79 WS | DDR3-1866 | 11140 МБайт/с |
|---|---|---|---|
| Intel Core i7 5820K | X99-A | DDR4-2400 | 11128 МБайт/с |
| Intel Core i7 3820K | P9X79 | DDR3-1600 | 11120 МБайт/с |
Это скорость ввода данных без проверки. Производится непрерывный ввод данных в буфер размером 1 Гбайт выделенный в системной области памяти, т. е. непрерывный по физическим адресам. Измеряется средняя скорость ввода на интервале не менее 1 минуты.
На компьютере с памятью DDR3-1600 при включении проверки скорость падает до 8500 Мбайт/с.
На компьютере с DDR3-1866 скорость при одном модуле и включённой проверке скорость не уменьшается.
Два модуля FMC122P в компьютере с DDR3-1866 без проверки также показывают максимальную скорость около 11000 Мбайт/с для каждого модуля. Но при включении проверки скорость падает.
При данных измерениях принято что 1 Мбайт это 1024 кбайт, а 1 кбайт это 1024 байта.
Я бы хотел отметить, что в данной работе я представляю результат работы большого коллектива. Особая благодарность — Дмитрию Авдееву, который проделал огромную работу в этом проекте.
P.S. Пока шла разработка Virtex 7 успел устареть. Kintex Ultrascale уже удобнее в работе. А Kintex Ultrascale+ уже имеет HARD блок PCI Express v3.0 x16 – так что такое разделение уже не нужно.
P.S.S. Но Kintex Ultrascale+ также имеет HARD блок PCI Express v4.0 x8 – может всё таки разделение пригодится?
Автор: dsmv2014
