Intel изучала возможность выпуска «модульного» фитнес-трекера

в 1:45, , рубрики: Гаджеты и устройства для гиков

Intel изучала возможность выпуска «модульного» фитнес-трекера

Всемирная организация интеллектуальной собственности (World Intellectual Property Organization, WIPO) обнародовала патентную документацию Intel на фитнес-трекер с «модульной» конструкцией.

Как сообщают сетевые источники, «модульность» в случае разработки Intel не предполагает, что пользователи смогут самостоятельно менять конфигурацию гаджета. Вместо этого, по задумке IT-гиганта, производители могли бы предоставлять покупателям возможность выбора оснащения устройства во время оформления заказа.

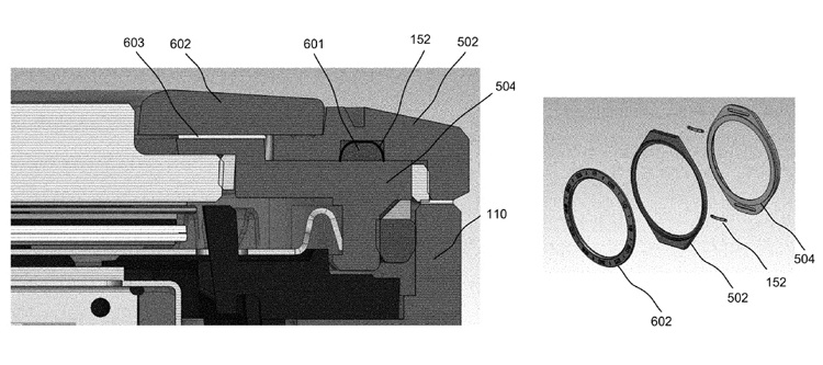
Так, скажем, пользователи могли бы по своему усмотрению выбирать набор сенсоров и модулей беспроводной связи: кому-то необходим датчик частоты сердечных сокращений, а кому-то в большей степени требуется микрочип NFC.

Intel изучала возможность выпуска «модульного» фитнес-трекера

Кроме того, потребители могли бы выбирать опции внешнего исполнения: например, заказать корпус из углеродного волокна и титановый ободок вокруг циферблата.

Увы, в обозримом будущем ждать выхода подобного «модульного» фитнес-трекера не стоит. Дело в том, что Intel расформировала подразделение носимых устройств. Как мы сообщали, соответствующее направление бизнеса столкнулось с трудностями, и корпорация решила переключить внимание на более перспективные проекты.

Источник

Источник

* - обязательные к заполнению поля


https://ajax.googleapis.com/ajax/libs/jquery/3.4.1/jquery.min.js