
Управление США по патентам и торговым маркам (USPTO) обнародовало патентную заявку Apple на любопытную разработку в области компьютерных устройств.
Документ носит название «Система беспроводной зарядки с радиочастотными антеннами» (Wireless Charging System With Radio-Frequency Antennas). Заявка была подана ещё в сентябре 2017 года, но на сайте USPTO она обнародована только сейчас.
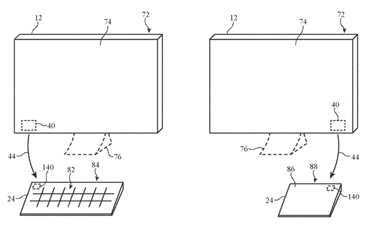
Apple предлагает интегрировать в настольные компьютеры специальную систему беспроводной передачи энергии на периферийные устройства. Речь идёт прежде всего о клавиатуре, мыши и сенсорной панели управления.
Энергетическое поле будет формироваться в определённой области на рабочем столе, где традиционно располагаются устройства ввода. Таким образом, беспроводные клавиатура и мышь теоретически вообще не будут нуждаться в проводном подключении для подзарядки встроенной аккумуляторной батареи.
Вполне вероятно, в перспективе именно такая система будет реализована в настольных компьютерах iMac и, возможно, в мониторах Apple. Впрочем, пока о сроках коммерческой реализации предложенного решения ничего не сообщается.
