
Управление США по патентам и торговым маркам (USPTO) выдало корпорации Microsoft патент на так называемый «носимый на голове адаптивный дисплей» (head-worn adaptive display).
Reuters
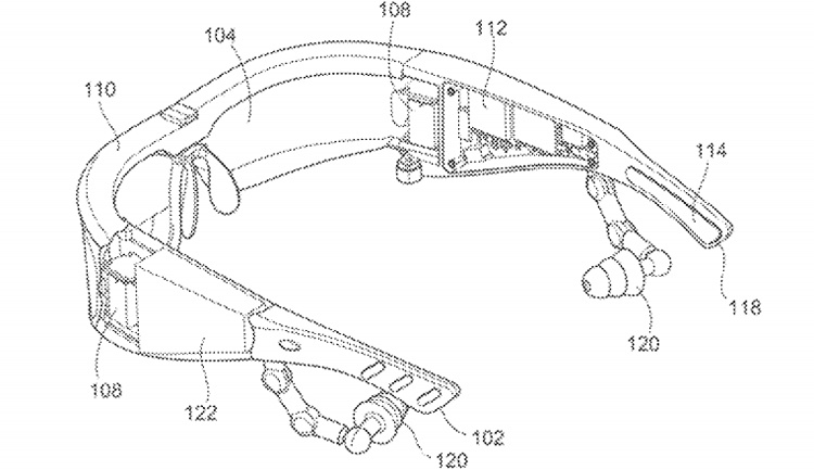
Как можно видеть на иллюстрациях, сопровождающих документ, речь идёт об «умных» очках. Сообщается, что для устройства планируется использование технологии дополненной реальности: владелец сможет видеть окружающее пространство и сгенерированное компьютерное изображение.
Гаджет получит интегрированные камеры, различные датчики, модули визуализации, процессор, наушники, аккумуляторную батарею и пр. Большинство электронных компонентов будет располагаться в области дужек и оправы.
Отмечается, что устройство сможет распознавать объекты, попадающие в поле зрения камер, и выводить полезную информацию. Кроме того, пользователи смогут видеть сведения о входящих звонках, поступающих сообщениях и пр.
Для гаджета предлагается использование носимых контроллеров. Они могут быть выполнены, скажем, в виде браслета для запястья или смарт-кольца для пальца.
Впрочем, пока новые очки дополненной реальности существуют только на бумаге. О сроках создания рабочей версии такого устройства ничего не сообщается.
