
Интернет-источники обнаружили патентную документацию компании Apple на весьма любопытное мобильное устройство — смартфон со складной конструкцией.
Reuters
Сообщается, что «яблочная» империя изучает возможность выпуска гаджета в стиле Microsoft Surface Duo. Этот складной смартфон был анонсирован в октябре прошлого года. Устройство выполнено в формате книжки с двумя 5,6-дюймовыми дисплеями, соединёнными при помощи шарнира. В раскрытом состоянии диагональ сдвоенного экрана составляет 8,3 дюйма.
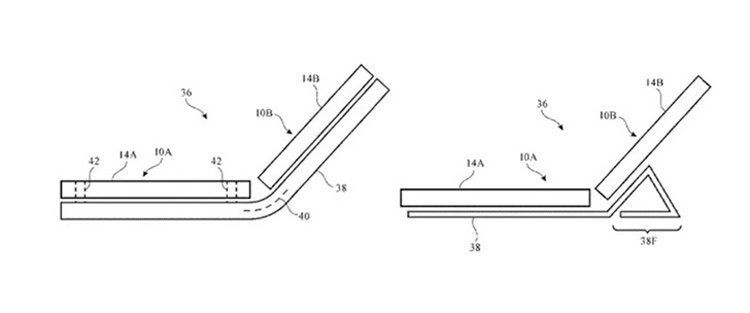
Гаджет Apple имеет схожую конструкцию. Как можно видеть на патентной иллюстрации, аппарат будет состоять из складного основания и двух дисплеев одинакового размера.
В закрытом состоянии экраны окажутся внутри корпуса, что защитит их от повреждений. Разложив устройство, владелец получит в своё распоряжение небольшой планшет с двухсекционной сенсорной панелью.
Очевидно, пользователи смогут раскрывать устройство как на 180 градусов, так и на меньший угол. Во втором случае гаджет можно будет установить на столе, скажем, для просмотра видеоматериалов или организации презентаций.
Увы, пока складной смартфон Apple существует только на бумаге. Появится ли подобное устройство на коммерческом рынке, не ясно.
