Поисковый гигант получил несколько патентов, описывающих методы управления высотой воздушных шаров. Патенты будут применяться в известном проекте Google под названием Project Loon, который представляет собой группировку воздушных шаров, перемещающихся в стратосфере на высоте 20 км. Они будут использоваться для обеспечения покрытия LTE-связью недоступных районов.
Патенты описывают давно известный принцип управления высотой воздушного шара — увеличение объёма газа в оболочке шара приводит к увеличению высоты и наоборот. Только теперь всё будет происходить в автономном режиме без непосредственного участия человека и при помощи генераторов солнечной энергии.
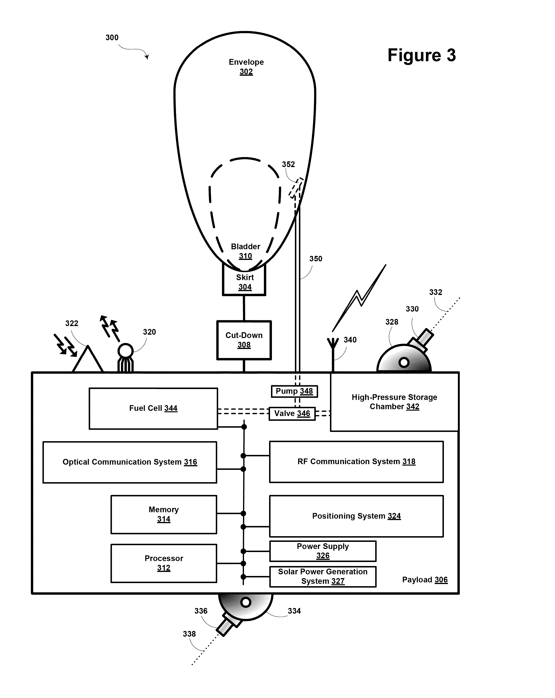
Принципиальная схема выглядит следующим образом:
В гондоле шара установлены емкости высокого давления (342) для хранения водорода и генератор солнечной энергии (327). Когда программное обеспечение шара решает, что его высота должна быть уменьшена, то газ из оболочки закачивается в емкость для хранения. Шар опускается ниже. Обратный процесс приводит к увеличению его высоты.
Автономность в получении водорода шаром обеспечивается специальной топливной ячейкой (344), в которой в результате химический реакции образуется водород. При необходимости он закачивается в оболочку шара, а обратная реакция — взаимодействия водорода с кислородом — будет приводить к образованию некоторого количества воды. В результате шар станет тяжелее, и его высота также изменится.
Ещё более простой способ изменения высоты шара заключается в том, что его оболочка окрашена в разные цвета, которые по-разному отражают солнечное излучение. Если возникает необходимость увеличить высоту шара, то программное обеспечение определяет положение солнца и поворачивает оболочку к нему тёмной стороной. Солнечные лучи поглощаются, что приводит к изменению температуры газа и увеличению его высоты.
В конце прошлого года команда инженеров Project Loon описала результаты своей работы. Одна из главных проблем — время жизни шара в агрессивной среде верхних слоёв атмосферы — была решена успешно. Сейчас шар под кодовым именем «Марафонец» оказался «долгожителем». Он смог продержаться в воздухе 134 дня, стартовав в Новой Зеландии и приземлившись в Чили. Также отмечены удовлетворительные результаты и по другим показателям: скорости движения шара и времени воздействия на него низкой температуры.
Автор: jeston
