Компания Apple получила повторно выданный патент на компьютер в виде ручки для письма.
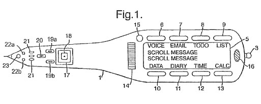
Устройство оснащено дисплеем для отображения сообщений, полученных по электронной почте и других текстов. Экран — сенсорный. По замыслу Apple, устройство должно иметь подключение к сотовой сети для голосовой связи передачи данных. В его оснащение входит приемник GPS, микрофон, громкоговоритель и акселерометр, позволяющий реализовать функцию распознавания рукописного текста. Для голосового взаимодействия есть функции преобразования текста в устную речь и наоборот. Питается аппарат, описанный в патенте, от аккумуляторной батареи.
Уточним, что соответствующий патент №6956564 был получен British Telecommunications PLC еще в 1998 году, а Apple права на него были переданы в 2008 году. В данном случае речь идет о так называемой повторной выдаче патента (патент имеет номер RE44103) с несколько расширенной формулировкой.
Источник: The Motley Fool
