Ведомство по патентам и товарным знакам США (англ. United States Patent and Trademark Office, PTO или USPTO) опубликовало изображение, которое касается следующего флагманского смартфона Samsung Galaxy Note.
Высказывается предположение, что Samsung рассматривает возможность сделать экран смартфона полностью безрамочным, при этом он сохранит конструкцию моноблока и у него не будет вырезов в экране под фронтальную камеру или камеры.
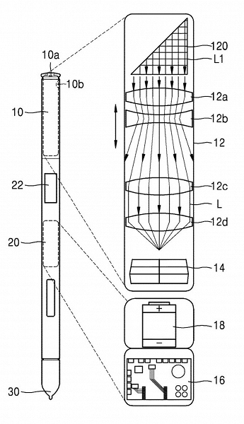
Если верить информации, указанной на эскизе, то радикальным изменениям в этот раз подвергнется стилус. Да, смартфон вполне может лишиться фронтальной камеры, которую перенесут в стилус.
Управление будет осуществляться при помощи двух кнопок. Первая будет отвечать за спуск затвора, а вторая позволить управлять приближением. PatentlyMobile подтверждает, что этот стилус S Pen предназначен для будущего смартфона семейства Galaxy Note, но не уточняет, для какого именно.
Идея кажется довольно интересной, посмотрим, пойдет ли Samsung на такие перемены в Samsung Galaxy Note 10.

