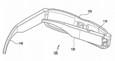
Судя по одной из недавних заявок на патент, компания Samsung изучает возможность разработки складных очков дополненной реальности. На иллюстрации, приложенной к заявке, показано устройство, которое похоже на обычные очки, но с более толстой оправой и дужками, где располагаются электронные компоненты. Конечно, серийное устройство, если оно будет выпущено, может сильно отличаться.
Ключевая особенность очков — складная конструкция. Она облегчает хранение и транспортировку устройства, делая его более практичным и удобным по сравнению с нынешними гарнитурами дополненной реальности, имеющими жесткую, монолитную конструкцию. Необходимость в жесткой конструкции обусловлена тем, что по ней проходит световод, связывающий проектор и элементы в стекле, направляющие формируемое проектором изображение в глаз. В патентуемой гарнитуре монолитная конструкция заменена составной, возможно — включающей призму в месте спряжения участков световодов, которое находится на стыке оправы и дужки.


По замыслу изобретателей, проектор, находящийся в дужке, включается только тогда, когда очки раскрыты, то есть дужка отведена на максимальный угол и световодная система образует единое целое.
Поскольку это только патентная заявка, неизвестно, как скоро разработка будет воплощена в жизнь.


