Смартфону Samsung Galaxy S11 слухи упорно приписывают наличие перископной камеры с пятикратным оптическим зумом. На данный момент подобные есть только в двух моделях на рынке: Huawei P30 Pro и Oppo Reno 10x zoom.
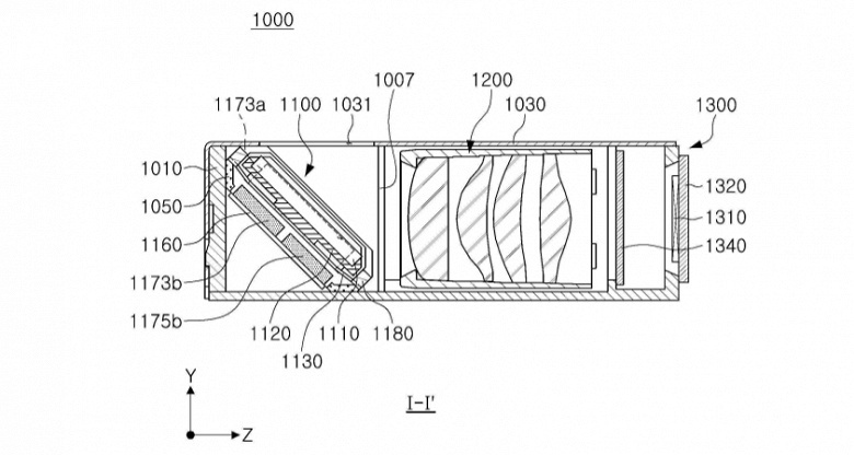
Новые данные указывают на то, что Galaxy S11 может получить не просто перископную камеру, а камеру с оптической стабилизацией. На это указывает поданный на этой неделе компанией Samsung Electro-Mechanics патент.
Само собой, как всегда, сам по себе патент ещё ничего не означает, но как минимум у нас есть основания для того, чтобы надеяться на появление в грядущем флагмане Samsung именно такой камеры.


