Интересные подробности вскрылись в недавних патентах компании Apple, опубликованных в базе данных ведомства по патентам и товарным знакам США. Описываемые в них технологии позволят сделать фирменный стилус Apple Pencil намного более функциональным.

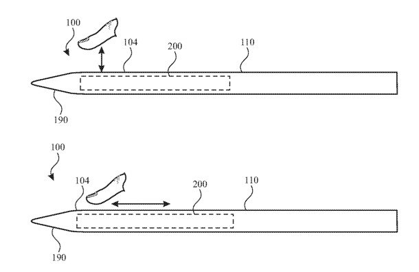
Во-первых, на стилусе может появиться сенсорная область, которая сможет распознавать различные жесты, выполняемые пользователем кончиками пальцев, включая свайпы по поверхности.

Во-вторых, Apple Pencil может получить функцию тактильной отдачи, чтобы придать большее сходство с рисованием на обычной бумаге. Ещё одно возможное новшество — встроенная в кончик стилуса камера, которая позволит записывать символы, практически, на любой поверхности и затем визуально воспроизводить их на iPad или iPhone.
Как это обычно бывает с патентами, пока нельзя точно сказать, когда будет реализована такая функциональность, да и будет ли вообще.
