Компании Intel придётся заплатить почти 1 млрд долларов за нарушение патентов, причём речь идёт о выплате патентному троллю.
Техасский суд вынес решение в пользу VLSI — недействующей компании, принадлежащей частной инвестиционной компании Fortress Investment Group. Intel обязали выплатить 949 млн долларов штрафа за нарушение патента, выданного почти 20 лет назад.
Рассматриваемый патент был приобретен VLSI у NXP Semiconductors, и, по словам истца, он вызывает «миллионы и миллионы нарушений в секунду» в процессорах Intel.
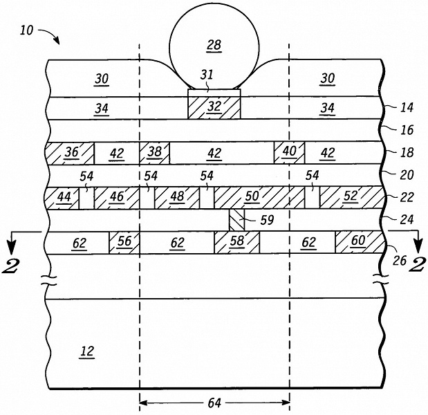
Патент US7247552B2 описывает метод устранения проблем, связанных с дефектами, вызванными напряжением, прикладываемым к соединительным площадкам. Запатентованная технология улучшает конструкцию микросхемы, добавляя фиктивные металлические линии в слои межсоединений, чтобы увеличить плотность металла.
VLSI утверждает, что Intel использовала технологию многих годы вплоть до поколения Cascade Lake, вышедшего в 2019 году. Intel же говорит, что вообще не использовала данную разработку, а указанные в иске поколения CPU Skylake и Cascade Lake используют технологию собственной разработки Intel. Более того, Intel утверждает, что технология из патента вообще не будет работать в современных CPU.
Стоит отметить, что это не первое и не последнее разбирательство между Intel и VLSI. В марте прошлого года VLSI выиграла дело почти на 2,2 миллиарда долларов, но Intel уже подала апелляцию. В апреле VLSI проиграла другое патентное разбирательство против Intel. Кроме того, своего часа ждут ещё два иска.


