
Мы продолжаем рассказывать об истории создания первых цифровых камер. В предыдущем материале речь шла о первых цифровых снимках. Хотя цифровая фотография Рассела Кирша отвечала всем требованиям компьютерного управления ею, ее можно было хранить в памяти компьютера, снижать или повышать ее резкость, передавать по локальным сетям, видеть на экране монитора (тогда осциллографа), но она была вторична. Она была цифровой копией уже существующего снимка на бумаге или пленке или ее аналоговой записи на магнитной ленте видеомагнитофона. Сейчас это выглядит символично, но, чтобы избежать промежуточного этапа, пришлось вернуться в доцеллулоидное младенчество фотографии, когда негативы снимали на стеклянную пластинку, покрытую слоем светочувствительных крупинок галогенидов серебра, размазанных по стеклу и приклеенному к нему яичным белком. Разумеется, это был не целенаправленный поиск в далеком прошлом инженерно-изобретательской мысли, для подобного современная наука и инженерия чересчур высокомерны, просто так получилось, причем в высокой степени случайно.
Светочувствительные крупинки серебра на стеклянной фотопластинке в фотокамере Абеля Ньепса образца 1847 года были химическими «пикселями», темневшими в разной степени под действием квантов света, отраженного от снимаемого объекта и попадающего на фотопластину через объектив фотокамеры. Проще говоря, требовалось такая же фотопластинка, только с покрытием из светочувствительных полупроводников. И она появилась, причем была из мелкокристаллического кремния на подложке, то есть с химической точки зрения чистейшего кварцевого стекла. В светочувствительной яично-серебряной эмульсии нужды не было, потому что кремнию свойственен фотоэлектрический эффект, не зря же из него делают солнечные батареи. Этот эффект был открыт Расселом Шумейкером Олом в 1941 году (патент США №2402662 1944 с приоритетом от мая 1941 года), правда, для плавленного, то есть аморфного кремния. Но, как выяснилось, и поликристаллический (мелкокристаллический) кремний им тоже обладал.
В 1971 году компания Bell Telephone Laboratories Inc., входившая в корпорацию AT&T, подала заявку на изобретенное их инженерами Уиллардом Бойлом и Джорджем Смитом «Устройство хранения информации», которое назвали «устройством с зарядовой связью (charge-coupled device — CCD)» и которое легло в основу ПЗС-матрицы из светочувствительных диодов для цифровой камеры. Сами изобретатели не ставили себе целью компьютеризацию фотодела. Задачу им поставило руководство — поработать над так называемой «пузырьковой памятью», разработанной группой их же инженеров под руководством Эндрю Бобека (патент США №3460116 1969 года с приоритетом от 16 сентября 1966 года), и посмотреть, нельзя ли сделать что-то подобное, только лучше.
У Бобека для хранения и передачи информации использовался лист из иттрий-ортоферритового материала с крошечными намагниченных областями («пузырьками»), в каждом из которых хранится один бит данных. В дальнейшем на основе ортоферритов (композитов из окиси железа и редкоземельных элементов) группа Бобека создала чипы памяти размером в 1 кв. см.
Но в 1970-е годы появились более быстрые микросхемы полупроводниковой памяти, а жесткие диски и флэш-память в начале 1980-х годов окончательно поставили точку на технологии Эндрю Бобека. Глупо считать, что руководство Bell Labs уже предвидело такой исход, когда давала задание Бойлу и Смиту, просто компания была богатой и могла себе позволить пускать сразу несколько исследовательских групп своих сотрудников по одному следу.
У Бойла и Смита получилось тоже не совсем то, что ждало от них начальство. Их ПЗС-матрица по своей сути была чипом, содержащим массив связанных между собой светочувствительных конденсаторов. В их патенте (патент США №3858232 1974 года с приоритетом от 11 сентября 1971 года) и в более раннем описании ими своего изобретения в статье «Полупроводниковые устройства с зарядовой связью» в корпоративном журнале AT&T «Bell System Technical Journal» (т.49, № 4, 1970 г.) так прямо и сказано: «Примерами возможных применений являются использование в качестве сдвигового регистра, в качестве устройства формирования изображения и вывода его на дисплей, и в вычислительной логике.
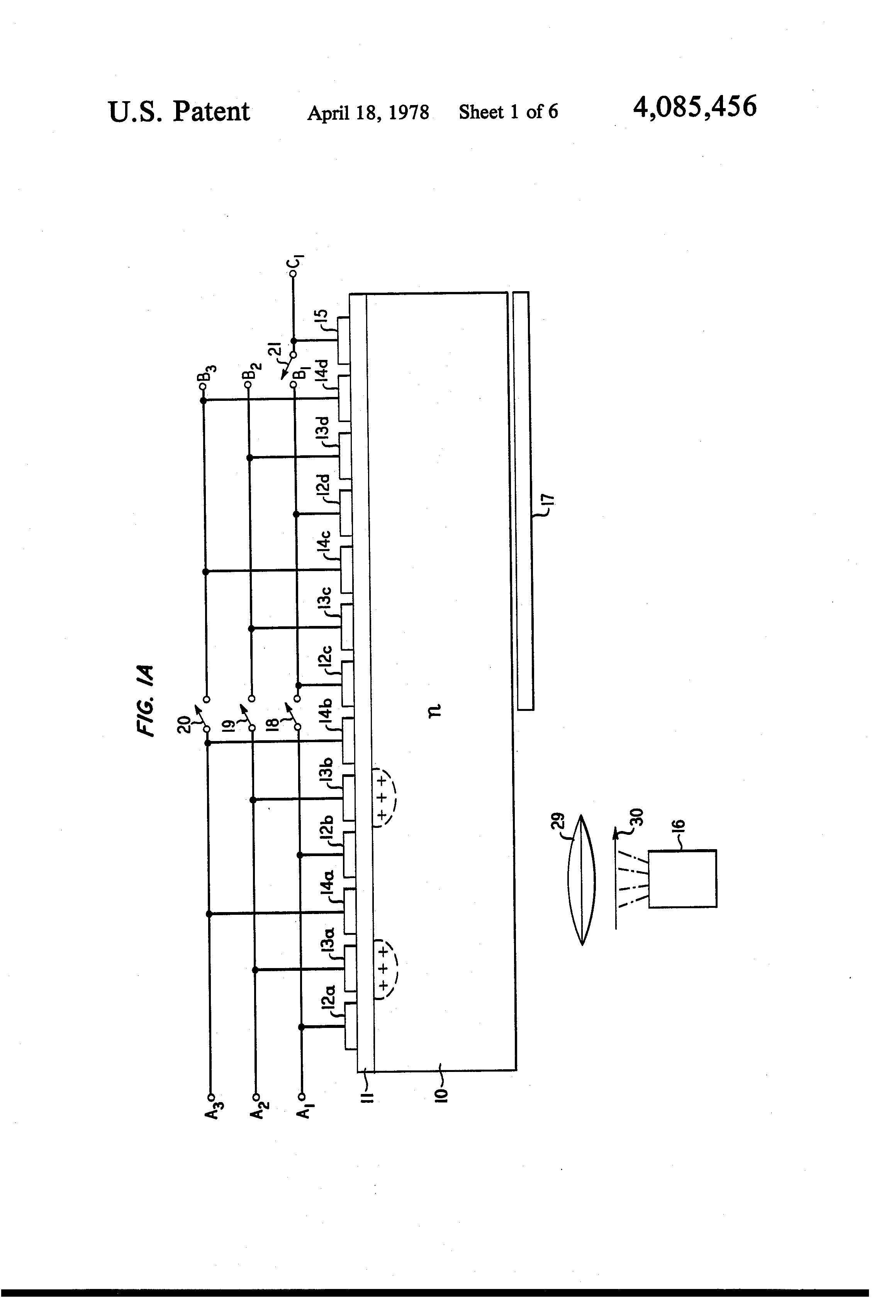
Дальше их «устройством с зарядовой связью» в Bell Labs занялась группа инженеров под руководством изобретателя одного из первых тепловизоров Майкла Томпсетта, где он с 1969 года занимался здесь как раз тем, что придумали его коллеги Уиллард Бойл и Джордж Смит, «без спроса» вторгшиеся в его область исследований, порученных ему начальством,. Теперь Томпсетту оставалось заняться их ПЗС-технологией, которая действительно нуждалась в серьезных усовершенствованиях. Это понимали и Бойл со Смитом, которые отозвали первую свою патентную заявку от 16 февраля 1970 года и подали новую спустя полтора года. Но главную проблему в ней они так и не решили.
Состояла эта проблема в низком разрешении, что в свою очередь вызвано тем, что поскольку свет постоянно падает на носитель, то во время с считывания собираются дополнительные носители, а это приводит к размытию изображения. Не прошло и года, как Томпсетт решил эту проблему, создав «устройства формирования изображений методом переноса заряда». В заявке на его изобретение, поданной им в августе 1972 года (патент США №4085456) сказано, что «эти устройства характеризуются двумя массивами электродов. Один функционирует как оптический сенсорный массив, а другой — как массив для хранения и считывания информации. Носители заряда образуются в локализованных местах интеграции под металлическими электродами сенсорного массива пропорционально падающему свету. Эта информация быстро передается в область под электродами массива для хранения и считывания информации, которая защищена от любого света. Затем информация может быть считана с последнего массива без размытия оптической информации. В состав устройства входят средства для предотвращения перекрестной связи и поддержания эффективности передачи».
Дальше — больше. На обложке американского журнала «Electronics» в 1972 году появилась цифровая фотография Маргарет Томпсетт, жены изобретателя. Фотография была цветная, что выглядит неким анахронизмом в канонической хронологии цифровой камеры. Обычно IT-историки относят цветные цифровые фото к 1974 году, когда инженер исследовательской лаборатории компании Eastman Kodak (KRL) Брайс Байер зафиксировал в лабораторном журнале KRL схему и рисунок того, что потом назовут «фильтром Байера», и его патенту 1976 года (патент США №3971065 с приоритетом от 20 июля 1975 года) на «сенсорный массив для получения цветных изображений», сетку на кремниевой микросхеме, состоявшую из светочувствительных элементов, с двумя расположенными по диагонали зелеными элементами, одним красным элементом и четвертым синим (другое название фильтра Байера — RGGB фильтр: красное, зеленое, зеленое, синее). Такие квадратные «пиксели», состоявшие каждый из четырех квадратиков «субпискелей», давали цветную цифровую картинку. Потом на RGGB субпиксели стали накладывать микролинзы для пущей яркости изображения.
Но анахронизма тут нет. Фильтр Байера позволял одному ПЗС-сенсору (или КМОП-сенсору, об этой технологии — чуть позже) получать цветные изображения, для которых в противном случае потребовалось бы три отдельных сенсора, подключенных к цветоделителю. Так и поступили инженеры и техники из группы Томпсетта, которые мастерили у него лабораторные образцы ПЗС-камер, этим у него занимались целых шесть человек В 1972 году они смастерили цветную камеру с тремя ПЗС-матрицами и цветоделителем. Такое решение было громоздким и дорогостоящим, а сама камера далека от совершенства, в Bell Labs не стали ее патентовать, заявив о своем приоритете другим громким и проверенным способом, изобретенным Расселлом Киршем. А чтобы это не выглядело обезьянством Кирша и за неимением в семье Томпсеттов умилительного малыша, была опубликована цветная цифровая фотография его жены Маргарет, весьма миловидной и фотогеничной, кстати, женщины.
В 1973 году компания Fairchild Semiconductor, которая была подразделением Fairchild Camera and Instrument Corporation (ныне входит в концерн «Локхид Мартин») начала коммерческое производство ПЗС-чипов 100 х 100 пикселей (0,01 мегапикселя) по цене $965 за штуку. Две такие ПЗС матрицы (одну про запас) в 1975 году купил инженер компании Eastman Kodak Стивен Сассон 22 лет от роду. Купил за казенный счет, разумеется. Ему как молодому специалисту, только что пришедшему с университетской скамьи в солидную компанию, руководство этой компании поручило поэкспериментировать с ПЗС-матрицей, сгодится она на что-нибудь полезное самому крупному на тот момент игроку на американском и мировом рынках пленочной фотографии.
В том же 1975 году Сассон сконструировал и с помощью троих своих коллег-инженеров собрал цифровую камеру, использовав для нее «все, что смог найти, даже из мусорного ведра в лаборатории видеокамер». Его камера была размером 20 х 20 х 40 см и весом 3,6 кг и внешне отвечала представлениям непосвященного в тонкости IT-технологий народа о том, как должна выглядеть камера для фото- и видеосъемки, неважно цифровая она или какая-то другая. Это была первая портативная цифровая камера в ее классическом обличии, но отнюдь не первая цифровая камера.
Помимо лабораторных образцов цифровых камер Томпсетта уже были цифровые камеры на космических зондах, делавшие цифровые снимки, только такие камеры повесить на шею или снимать ими с плеча было бы проблематично. Еще раньше была запатентована необычная акустическая цифровая камера для поиска и съемки подводных лодок противника, которую можно было погрузить в трюм эсминца вместе с обслуживавшим ее мейнфреймом UNIVAC-1108 (патент США №3719922 1973 года с приоритетом от июня 1971 года на имя Луиса Лопеса-младшего и Оуэна Томаса из Военно-морского министерства США).
Камере Сассона требовалось около 50 мс, чтобы оцифровать изображение и сохранить в памяти. Для постоянного хранения изображение можно было записать на цифровую кассету, для этого требовалось 23 секунды. Для просмотра через специальное устройство воспроизведения с извлеченной из камеры кассеты тоже требовалось 23 секунды. Была уже выбрана фотомодель для пиара суперсовременного достижения компании Eastman Kodak. За неимением жены Стив Сассон сфотографировал лаборантку своей лаборатории Джой Маршалл, девушку видную с красивыми длинными волосами.
Но с цифрового фото смотрела седая женщина с искаженным лицом. Причиной были перевернутые провода, их поправили, но обиженная Джой от дубля категорически отказалась и обиженная удалилась. Пришлось показать народу по телевизору цифровое фото мальчика с щенком британской борзой на руках, вероятно, сынишки кого-то из коллег Сассона. Картинка получилась тоже трогательная и запоминающаяся.
Что же касается дальнейшей судьбы камеры Сассона, то руководство компании поинтересовалось у него, когда она будет готова к продаже. Он честно ответил, что «через 15-20 лет». Единственный экземпляр его камеры отправили на склад, но патент на нее, хоть и с задержкой, на всякий случай оформили, когда патенты на цифровые камеры уже потекли рекой (патент США №4131919 1978 года с приоритетом от мая 1977 года).
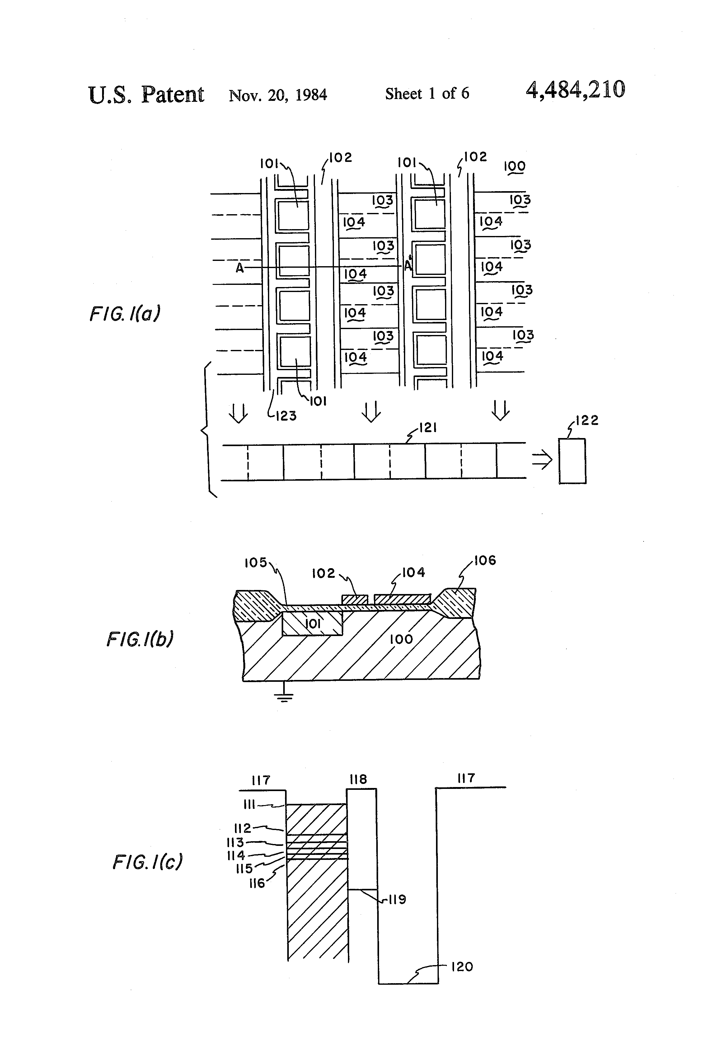
Сама по себе ПЗС-матрица вполне устраивала инженеров-конструкторов первых цифровых камер, оставалось лишь наращивать ее чувствительность, чем они и занимались. Но будучи вставленной в камеру она демонстрировала эту самую чувствительность к задержке срабатывания затвора, явлению чистом механическому. Для пленочных фотоаппаратов это было не критично, в цифровых смазывало изображение. Решил эту проблему инженер из Nippon Electric Co Ltd. (ныне NEC Corp.) Нобукацу Тэруниши изобретением «твердотельного устройства визуализации с чрезвычайно низкой задержкой изображения» (патент США №4484210 1984 года с приоритетом от ноября 1981 года.
Логика у него была такая: «Проблема задержки изображения особенно часто возникает в ПЗС-матрице с построчной системой. Среди твердотельных датчиков изображения ПЗС-матрица имеет самый низкий уровень шума из-за небольшой выходной емкости. Следовательно, она может обеспечивать изображение при низкой освещенности. Но при этом предел допустимой низкой освещенности определяется не шумом, а эффектом запаздывания изображения. Таким образом, если уменьшить запаздывание изображения, можно значительно расширить нижний предел допустимой освещенности и получать изображения при более низком уровне освещенности».
Его схема ПЗС, которую потом назвали «закрепленным фотодиодом» (pinned photodiode — PPD) была фотосенсором с малым запаздыванием, низким уровнем шума, высокой квантовой эффективностью и низким темновым током, что, говоря по-простому, сильно повысило разрешение первых цифровых камер, доведя их до мегапиксельного уровня, которые в 1980-е годы наконец появились в свободной продаже для простых граждан, а не только для космонавтом, военных и ученых.
Впрочем, граждане должны были быть не совсем простыми, а состоятельными. Цифровые фотоаппараты стоили тысячи долларов, а цена мегапиксельных «Канонов», «Кодаков», «Никонов», «Сони» и т.п. лежала в пределах от 10 до 40 тысяч (вместе с периферией, включавшей среди прочего особые принтеры для фотографий). Для простого народа цифровые камеры по вменяемой цене появились в 1990-е годы. Автору этих строк посчастливилось приобрести с рук такую подержанную камеру за $100, деньги по тем временам весьма немалые. Пейзажные фотографии, если на них на переднем плане не было чего-то монументального, выходили на ней никакие. Портретные получались лучше, но, как понимаю сейчас, не сильно отличались по качеству от фото мальчика и щенка на фото Сассона. Зато хорошо запомнилось ощущение личной причастности к высоким технологиям.
В те же девяностые у ПЗС появился конкурент — КМОП (CMOS — Complementary metal-oxide-semiconductor) технология, даже можно сказать, подкралась незаметно. Если не вникать ее тонкости, то она имеет много общего с ПЗС-технологией. Появилась примерно в то же время, что и ПЗС, может быть, чуть раньше, и тоже рассматривалась как перспективная технология для создания чипов памяти, использовалась в электронных часах, калькуляторах и других устройствах. Но поскольку полупроводник (последняя буква «П» в аббревиатуре технологии) был кремнием, точнее либо оксидом, либо сплавом кремния с редкоземельными металлами, и обладал фотоэффектом, рано или поздно произошло то, что случилось с ПЗС у Бойла и Смита. Появилась светочувствительная КМОП-матрица для цифровых камер, причем в первую очередь для камер с батарейным питанием, так как энергопотребление КМОП-матрицы в силу ее врожденных особенностей было в разы меньше, чем у ПЗС-сенсора.
Поначалу КМОП-матрица была медленной, но после прививки PPD Тэруниши сравнялась по скорости с ПЗС. Сделал эту прививку КМОП инженер Эрик Фоссум из лаборатории реактивного движения НАСА Калифорнийского технологического института, той самой, где много лет назад работал Рассел Кирш. Эрик Фоссум получил патент США №5471515 на «Активный пиксельный датчик с внутрипиксельной передачей заряда» 1995 года (с приоритетом от января 1994 года). В его патенте этого нет, как, впрочем, и других патентах на усовершенствования КМОП-технологии, а между тем себестоимость производства КМОП-матрицы даже после всех ее усовершенствований как была исходно ниже себестоимости промышленного производства ПЗС-датчиков, такой и остается по сей день. Так что понятно, почему КМОП-чипы исходно планировались для камер смартфонов. Сегодня в почти две трети промышленно производимых датчиков изображения CMOS используются в мобильных телефонах. Не надо забывать, что в среднем телефоне есть три камеры: одна фронтальная, направленная на пользователя для селфи, и две основные камеры на задней панели, а в смартфоне высокого класса может быть пять или более камер. КМОП-технология вытеснила ПЗС-матрицы и в других основных ипостасях цифровых камер, оставив им сегмент специализированных камер.
Сегодня по ретроспективной динамике появления патентов на цифровые камеры отчетливо видна общая картина в этой области инженерно-изобретательской мысли. Стартом было изобретение ПЗС, а далее она, выражаясь военной терминологией, войдя в этот прорыв, пошла вперед уже широким фронтом и охотно финансировалась заинтересованными в цифровых камерах секторами бизнеса и государственными ведомствами, причем не только в США, но и в Европе и Японии. То же самое высказал довольно натуралистичной метафорой Карло Секвин, в свое время работавший в команде Томпсетта, собирая его первые цифровые камеры, а ныне уважаемый IT-патриарх проектирования процессоров. Он сравнивает Бойла и Смита с донорами спермы, которые дали семя идеи, а остальных — с акушерками и матерями, которые воплотили ее в жизнь.
«Матери» из Eastman Kodak Co., Polaroid Corp., Nippon Kogaku Kabushiki Kaisha (ныне Nikon Corp.), Olympus Optical Co., Ltd., Fuji Photo Film Co., Ltd., Canon Со, Casio Computer Co., Ltd. Toshiba Corp. и еще ряда других ударно потрудились, нарожав в 1980-90 гг. для народа десятки разновидностей цифровых камер разных национальностей с большой долей в них «японцев». А оплодотворившие их «доноры» в 2009 году были удостоены Нобелевской премии по физике.
День вручения премии 10 декабря для короля Швеции и его семьи один из самых тяжелых дней в году. С утра приходится несколько часов высидеть на сцене Стокгольмского концертного зала на церемонии награждения лауреатов, выслушивая под камерную музыку малопонятные неспециалисту рассказы о сути открытий лауреатов, а вечером на банкете из вежливости поддерживать разговор с ними о научных тонкостях этих открытий. Но на тот раз председатель Нобелевского комитета по физике профессор Йозеф Нордгрен говорил на церемонии награждения о понятном.
«Ваши Величества, Ваши Королевские Высочества, дамы и господа, — сказал он. — Благодаря своей простой структуре и продуманной функции ПЗС-матрица обеспечивает очень эффективную и чувствительную запись, хранение и считывание изображений с высоким разрешением в электронном виде. В качестве датчика изображения ПЗС-матрица обычно служит электронным «глазом» современных цифровых и телевизионных камер. Она также является важным компонентом многих научных и медицинских устройств, например астрономических телескопов и инструментов, используемых для “точечной” хирургии».
Трудно сказать, делает ли селфи король Швеции Карл XVI Густав, но принцессы Виктория и Мадлен, были, как известно, девушками продвинутыми и наверняка имели последнюю, третью модель айфона с двухмегапиксельной камерой и, надо думать, с интересом посмотрели на сильно пожилых айтишников шестидесятых годов, принимавших из рук их отца лауреатские медали. С еще большим вниманием, вероятно, смотрел на них сын короля принц Карл Филипп. Не достигнув желаемых результатов в автогонках на кубок Porsche Carrera Cup Скандинавии, он увлекся художественной фотографией, и как раз в 2009 году проходила его персональная фотовыставка «Взгляд из рая». Возможно, смотрел он на них недобро: вот кто, оказывается, испоганил высокое искусство пленочной фотографии.
Не остались без награды и «акушеры», по крайней мере самые известные и обласканные в свое время масс-медиа. В 2017 году главную британскую Премию королевы Елизаветы в области инженерии получили за создание цифровых датчиков изображения Майкл Томпсетт, Нобукацу Тэруниши и Эрик Фоссум. Учитывая общий размер премии – 1 млн фунтов стерлингов, денег они получили примерно столько же, сколько получили их «биологические отцы» Бойл и Смит в виде своей части Нобелевской премии. А в 2009 году президент Обама вручил Стивену Сассону Национальную медаль в области технологий и инноваций — высшую инженерную награду в Америке «За изобретение цифровой камеры, которая произвела революцию в способах съемки, хранения и обмена изображениями, тем самым создав новые возможности для торговли, образования и улучшения коммуникации во всем мире». Правда, денег к ней не полагается, достаточной наградой является ощущение ее лауреатом того, что он создал новые возможности зарабатывать деньги другим людям.
Автор: Oksana_Nedvigina
