
По тематике Российской орбитальной станции (РОС) предусмотрено освоение и развитие промышленного производства на орбите с использованием невесомости и сверхглубокого космического вакуума. Предполагаемая продукция: полупроводниковые кристаллы и пленки, наноматериалы, металлические стекла, оптическое волокно, углеродные нанотрубки, медпрепараты и наноматериалы для адресной доставки лекарств, а также коллоидные кристаллы. Принципиально использование в инфраструктуре РОС свободно летающих производственных модулей, периодически обслуживаемых экипажем. На них обеспечиваются наилучшие условия по микрогравитации и создаются зоны вакуума на внешней поверхности за защитным экраном.
Аналогичные программы планируются космическими администрациями и ассоциированными коммерческими структурами США, Китая, Евросоюза, Японии, Индии, Германии, Франции, Бразилии, а также предварительные проекты реализуют некоторые другие страны. Наблюдаются и частные инициативы, например в 2015 г. в США создана компания с говорящим названием FOMS (Fiber Optics Manufacturing in Space).
В этой статье речь пойдет о космическом оптоволокне.
Стоит указать, что НАСА заявило в 2024 г., что смогло изготовить более семи миль (11,9 км) оптических волокон ZBLAN предполагаемого качества, которое значительно превосходит качество обычных волокон на основе диоксида кремния. В рамках проекта «Производство безупречного космического волокна» (Flawless Space Fibers-1) на космической станции будет продемонстрирована новая технология производства, разработанная компанией Flawless Photonics. Эти волокна изготовлены из ZBLAN — композиции из фторидов циркония, бария, лантана, натрия и алюминия, каждый из которых имеет свою плотность и температуру кристаллизации. Благодаря уникальным свойствам этого стекла свет может проходить по волокну в более широком диапазоне, что более чем в десять раз увеличивает пропускную способность по сравнению с традиционными волокнами на основе кварца и позволяет передавать значительно больше данных на том же участке волокна. Если удастся сделать волокна достаточно длинными и качественными, повышенная эффективность ZBLAN может привести к значительной экономии энергии за счет снижения потребности в усилении сигнала при передаче на большие расстояния. Однако при вытягивании ZBLAN в волокна на Земле образуются кристаллы, которые рассеивают сигналы и делают волокно хрупким. Поскольку в условиях микрогравитации кристаллы растут медленнее, можно охлаждать вытянутые волокна до того, как в них начнут формироваться кристаллы. Микрогравитация также компенсирует эффекты седиментации, конвекции и выталкивающей силы, которые ограничивают длину и качество волокон, вытягиваемых на Земле. Для производства ZBLAN на Земле используются вышки, но производство в космосе дает гораздо больше времени для вытягивания более длинных и, в конечном счете, более качественных волокон.
Коллеги на Хабре сделали обзор ранних исследований в далёком 2018 году.
В данной статье нас интересует только патентный аспект.
Патенты на космическое оптоволокно
На портале Google.Patents поиск по запросу Fiber optic manufacturing in space показывал более 100 000 документов на март 2026 г. Запрос processing optical fiber under microgravity conditions дал 10300 ответов. Чтобы минимизировать информационный шум, мы детализировали запрос, взяв подкласс МПК для космических устройств. Google.Patents по уточнённому запросу (processing optical fiber under microgravity conditions) (B64G) показал 240 патентов. Динамика по годам представлена на рис. 1.
Рисунок 1: Динамика мирового патентования изобретений на тему (processing optical fiber under microgravity conditions) (B64G) за 1992-2025 гг., условные ед.
Видно, что с 1992 по 2016 год патентование изобретений шло вяло. Однако, в 2016-2025 гг. активность патентования резко выросла.
Рейтинг патентовладельцев по версии Гугла следующий:
-
Шанхайский институт спутниковой инженерии (上海卫星工程研究所) — 2,5%;
-
Харбинский технологический институт (哈尔滨工业大学) — 2%;
-
ПАО "Ракетно-космическая корпорация "Энергия" имени С.П. Королева" — 1,6%;
-
Космический исследовательский центр в Пекине (中国科学院空间应用工程与技术中心) — 1,6%;
-
Thermasat Inc. — 1,6%;
-
The Boeing Company — 1,2%;
-
Пекинский НИИ спутниковой инженерии (北京卫星环境工程研究所) — 1,2%;
-
Trans Astronautica Corporation — 1,2%;
Видно, что чемпиона нет. В формальный список Топ-10 входит ПАО «РКК «Энергия», но ошибочно: Google.Patents указал на 5 патентов, в которых оптические волокна применяются в космических аппаратах. Ручной перебор показал, что релевантных патентов во всём мире никак не 240 (рис. 1 следует воспринимать как грубо ориентировочный!), а всего несколько десятков, да и то многие из них повторки в разных юрисдикциях. Примеры:
US20250083990A1 Microgravity crucible-controlled manufacturing. Foms Inc. и Dstar Communications Inc. Патент относится к системам и способам обработки материалов в условиях низкой гравитации, а также к оптическому волокну, сформированному в условиях низкой гравитации. В системе реализован контроль как температуры, так и температурных градиентов для компенсации влияния условий микрогравитации. Контроль области горловины во время вытягивания волокна в условиях микрогравитации за счет контролируемого распределения температуры в рабочем объеме обеспечивает устойчивый процесс производства.
US11136256B2 System and method for manufacturing optical fiber. Redwire Space Inc. Сенсорная система для предоставления данных для использования для управления изготовлением оптического волокна в условиях микрогравитации, включающая в себя датчик диаметра для контроля диаметра волокна, вытягиваемого из материала заготовки, датчик натяжения для контроля натяжения волокна при вытягивании волокна из материала заготовки к запоминающему устройству и контроллер в связь, по меньшей мере, с одним из датчиков диаметра и датчиком натяжения позволяет оценивать данные датчика для определения, по меньшей мере, одной из скоростей и коэффициента вытягивания волокна из материала заготовки.
Поиск патентов РФ на изобретения проведён нами по рефератам в базе ФИПС. На февраль 2026 г. поисковая машина по запросу «космическое производство оптического волокна» указала на 0 патент на изобретения, на запрос «космическое оптическое волокно» 23 документа. Однако машина ФИПС выдала в данном случае 100% информационного шума, замешивая в один «информационный космос» смысловые ошибки, как-то: сцинтилляционные волоконные кристаллы Bi4Ge3О12 (BGO) для космической техники и т.д. Патентные компетенции, пусть и не по нашей теме, продемонстрировали ведущие предприятия, например ПАО "Ракетно-космическая корпорация "Энергия" имени С.П. Королёва", "Центральный научно-исследовательский институт машиностроения" из Королёва, ПАО "Пермская научно-производственная приборостроительная компания", АО "Корпорация космических систем специального назначения "Комета" (Москва), АО «Энгельсское опытно-конструкторское бюро "Сигнал" им. А.И. Глухарева», ООО "Спектралазер" (Самара), ООО НПП "Спецкабель" (Москва), АО "НИИ вычислительной техники" (Пенза), ООО "НИИВТ-Русичи-Фарма" (Пенза), Пензенский Государственный Университет (профессор Т.И. Мурашкина).
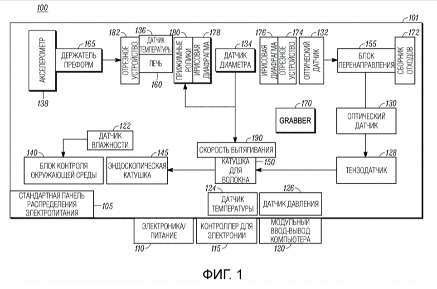
Всего же патентов РФ на изобретения в области оптических волокон в РФ 1892 ед. Эксперты «Онлайн Патент» провели ручной отбор и обнаружили только один патент по рассматриваемой теме… американский, от компании с говорящим названием «Сделано в космосе»: 2 773 163 (2022) Система и способ получения оптического волокна. МЭЙД ИН СПЭЙС, ИНК. (US). Система для вытягивания оптического волокна ZBLAN в условиях микрогравитации включает в себя герметичный корпус, держатель преформы, печь, систему подачи, механизм вытягивания, датчик диаметра и механизм сбора волокон . При этом герметичный корпус служит для предотвращения проникновения по меньшей мере влаги, наполненный сухой средой.
Патентов РФ на полезные модели по космическому производству оптоволокна нет.
Открытых баз данных и программ для ЭВМ по теме космическое оптическое волокно в РФ не зарегистрировано.
Заключение
Опытные партии фторидного оптоволокна уже изготовлены на МКС из ZBLAN — композиции из фторидов циркония, бария, лантана, натрия и алюминия. Благодаря уникальным свойствам этого стекла свет может проходить по волокну в более широком диапазоне, что более чем в десять раз увеличивает пропускную способность по сравнению с традиционными волокнами на основе кварца и позволяет передавать значительно больше данных на том же участке волокна. Если удастся сделать волокна достаточно длинными и качественными, повышенная эффективность ZBLAN может привести к значительной экономии энергии за счет снижения потребности в усилении сигнала при передаче на большие расстояния.
Начали появляться глобальные маркетинговые исследования, например от сентября 2025 г. Прогноз объема и доли рынка космического производства на период с 2025 по 2035 год в котором указано, что лидирующий сегмент рынка космического производства в 2025 году: волоконная оптика ZBLAN (14,8%). Другие направления — антенны из электромагнитных метаматериалов, графеновые и твердотельные литиевые батареи, водородные двигательные установки, подшипники Prefect Spheres, фотоэлектрические элементы Perovskite, протонообменные мембранные элементы, дисплеи на квантовых точках, тяговые двигатели и цеолитные кристаллы.
Ключевые регионы роста рынка космического производства: Северная Америка, Азиатско-Тихоокеанский регион, Европа. Ведущие игроки на рынке космического производства: Lockheed Martin Corporation, Allevi Inc., Airbus SE, Astrobotic Technology, Inc., Axiom Space, Inc., Echodyne Corporation., Global Graphene Group, Inc. (G3), Le Verre Fluore Fiber Solutions, Northcorp Grumman Corporation, Sierra Nevada Corporation.
Ни Россия, ни РКК «Энергия» не упоминаются в открытом информационном поле. Наши изобретения не патентуются, что и выявило данное исследование.
О сервисе Онлайн Патент:
Онлайн Патент — цифровая система № 1 в рейтинге Роспатента. С 2013 года мы создаем уникальные LegalTech‑решения для защиты и управления интеллектуальной собственностью. Зарегистрируйтесь в сервисе Онлайн‑Патент и получите доступ к следующим услугам:
-
Онлайн‑регистрация программ, патентов на изобретение, товарных знаков, промышленного дизайна;
-
Опции ускоренного оформления услуг;
-
Бесплатный поиск по базам патентов, программ, товарных знаков;
-
Мониторинги новых заявок по критериям;
-
Онлайн‑поддержку специалистов.
Автор: Oksana_Nedvigina
