
Источник: РИА «Новости»
Доставка почтовых отправлений дронами — достаточно сильный технологический тренд 21-го века. Собственную технологию автоматизированных воздушных курьеров разрабатывают Google, Amazon, Airbus и другие компании. В России также присматриваются к новым веяниям в этой сфере, и стараются шагать в ногу со временем.
Сегодня в Улан-Удэ должна была пройти демонстрация первой в России доставки посылки беспилотным летательным аппаратом. Груз планировалось отправить из одного из районов города в село Тарбагатай. О значении мероприятия можно судить по списку участников, среди которых глава Бурятии Алексей Цыденов и генеральный директор «Почты России» Николай Подгузов.
По словам главы «Почты России», использование дронов в работе компании имеет очень важное значение: «Мы доставляем почту и корреспонденцию по всей стране и зачастую это труднодоступные районы, которые в различных климатических условиях не позволяют использовать традиционные виды транспорта, такие как автомобили, например. Поэтому доставка почты с помощью дронов для нас актуальна. Я очень рад, что мы сегодня здесь запускаем этот проект, который должен стать успешным».
В ходе собственного короткого выступления глава Бурятии сообщил, что в республике планируется запустить собственное производство беспилотников. К слову, дрон, который и должен был доставить посылку, изготовили в России. Масса доставляемого груза — 2 кг, скорость полета дрона с грузом — 70 км/ч.
К сожалению, все пошло не так, как планировалось. Дрон взлетел без проблем, но уже через несколько минут он столкнулся с домом и упал, превратившись в груду обломков. Мультикоптер восстановлению не подлежит, сообщается, что посылка не пострадала. По словам организаторов, дрон потерял управление из-за множественных сигналов точек беспроводного доступа к сети Интернет, установленных в квартирах жителей дома, с которым столкнулся коптер. Сигналы и сбили коптер с пути. Разработчики устройства планируется усовершенствовать, а запуск — повторить после модификации системы.

Через несколько часов после аварии пресс-служба производителя дрона опубликовала следующее заявление: «При тестовом запуске беспилотного летательного аппарата в Республике Бурятия произошло нештатное отключение электронного оборудования. Причины неисправности будут установлены после расшифровки телеметрических данных. Тестовый запуск БПЛА переносится. О новой дате будет объявлено дополнительно».
Сразу после случившегося «Почта России» заявила о том, что компания принимала участие в мероприятии лишь в качестве гостя. А организатором и производителем устройства выступила компания «Рудрон/Экспедитор 3М».
«Производитель беспилотного летательного аппарата — компания «Рудрон/Экспедитор 3М» — организовывала тестирование, на которое «Почта России» была приглашена в качестве одного из гостей. Мы предложили для тестирования доставку отправления до почтового отделения. Мы просто положили в него почтовую коробку — остальное всё делал производитель», — сказал Сергей Коляда, представитель «Почты России».
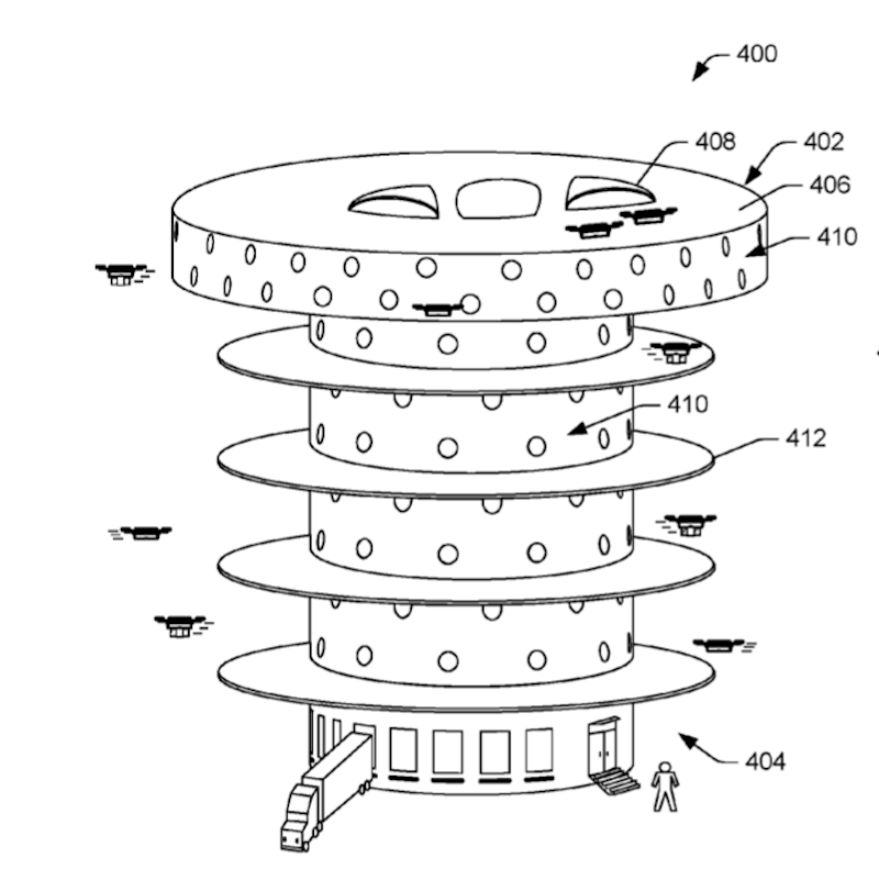
Из всех зарубежных компаний серьезнее всех к вопросу доставки грузов дронами подошла Amazon. Ей принадлежит ряд патентов на «аэрокурьеров», причем не только на коптеры собственной конструкции, но и на башню для дронов. В патенте описывается многоуровневое здание со входами для людей, въездом-выездом для автомобилей, множественными входами для вылета и возвращения дронов. По замыслу авторов идеи, башни должны устанавливаться в крупнейших населенных пунктах, где доставлять грузы в оперативном режиме сложно. В первую очередь речь о Нью-Йорке, Лондоне, Токио.

В патентной заявке компании говорится следующее: «Многоуровневый центр создан для обеспечения взлета и посадки беспилотных летательных аппаратов (БПЛА), вероятно, в черте города, включая густонаселенные регионы».
Из-за сложностей технического и юридического характера (полеты дронов запрещены в густонаселенных регионах) массово доставлять посылки коптеры начнут нескоро. Но все идет к тому, что рано или поздно «аэрокурьеры» работу все же начнут.
Автор: Максим Агаджанов
