
Возможно сегодня Apple и является «компанией, которая придумала iPhone», но очевидно, что ей придется избавиться от этого ограничивающего определения — и разработать абсолютно новую вычислительную платформу
Все уже знают, что Apple усиленно работает над собственным электрокаром — Илон Маск назвал этот проект «секретом, который известен всем» в автопроме. Но если говорить о новом типе персональных цифровых гаджетов, то с учетом нескольких недавних приобретений и найма новых сотрудников можно сделать вывод, что Apple, как минимум, серьезно взялась за дополненную реальность.
Дополненная реальность (augmented reality, AR) — концепция, предполагающая «наложение» цифровых образов поверх реальных объектов. Проект Google Glass был одним из первых (и неудачных) примеров этой технологии. Но это не остановило другие компании. К примеру, считается, что Magic Leap, засекреченный стартап, в который инвестировала все та же Google, готовит нечто прорывное в области AR.
В этом году виртуальная реальность (VR), близкая родственница дополненной реальности, начала развиваться еще интенсивнее, благодаря появления VR-шлемов от Sony, Oculus (Facebook) и HTC.
Некоторые эксперты считают, что AR и VR — крайняя форма развития персональных цифровых технологий, так как они могут практически полностью заменить экраны для отображения информации в нашей повседневной жизни. А носимый компьютер будет единственным гаджетом, «чтоб править всеми».
Apple, как обычно, тщательно хранит свои секреты. Но целый ряд недавних событий позволяет сделать вывод, что в исследовательских лабораториях компании экспериментируют именно с дополненной реальностью.
Давайте еще раз взглянем на эти события:
В мае 2015 года Apple приобрела немецкую AR-компанию Metaio
Перед тем как Apple купила, а затем закрыла Metaio, эта компания специализировалась на мобильных приложения с дополненной реальностью. Например, она разработала программу для IKEA, с помощью которой пользователи могли «расставить» в помещении новую, виртуальную мебель.
А еще у Metaio было приложения для туристов, интересующихся историей Берлинской стены:
Определенно, здесь есть потенциал. Особенно для промышленного и коммерческого использования. Но эта же концепция применима и для множества других областей, таких как игровая индустрия, видеоконференции и развлечения. Эта концепция похожа на ту, которую Microsoft использовала при создании очков HoloLens. Кстати, о HoloLens…
Apple недавно заполучила инженера Ника Томпсона
Кто такой этот Ник Томпсон? Он занимал должность ведущего инженера по звуковому оборудованию в проекте Microsoft HoloLens. Если верить странице Томпсона на LInkedIn. Apple переманила его в 2015 — это изменение в августе прошлого года первым заметил Джин Мюнстер, аналитик из Piper Jaffray. Ник Томпсон работал над HoloLens более двух лет, поэтому он может отлично помочь Apple в реализации ее AR-проекта.

Apple приобрела компанию FaceShift, которая занимается оцифровкой человеческого лица
FaceShift разработала технологию, которая использует камеры для анализа изменений человеческого лица в реальном времени. Эта же технология может быть также использована для создания анимированных виртуальных аватаров. Группа, работавшая над спецэффектами для новых «Звездных войн», использовала разработку FaceShift для того, чтобы сделать «лица» инопланетян более реалистичными.

Apple приобрела компанию, которая помогала разрабатывать камеру для Kinect
Израильская PrimeSense «продалась» Apple более двух лет назад — компания разработала камеры, регистрирующие движения. Эта технология затем использовалась при создании Kinect. Распознавание жестов, предложенное PrimeSense, может быть очень важным для устройств, работающих с дополненной реальностью, так как последние вряд ли будут работать с традиционными контроллерами. Например, те же HoloLens могут распознавать жесты для навигации по интерфейсу.

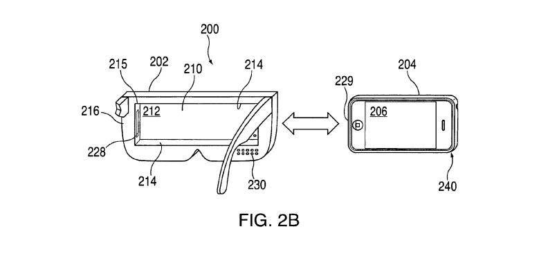
У Apple уже есть представление о том, какими должны быть VR-шлемы и AR-очки
Подача заявок на патент не всегда связана с выходом новых продуктов. Но такие документы могут помочь понять, с чем именно экспериментирует Apple. Например, компания получила в феврале прошлого года патент на очки дополненной/виртуальной реальности, которые подсоединяются к iPhone. Описание весьма похоже на гаджеты, которые нам уже показали Google, Microsoft, Samsung и Facebook.

И еще одно свидетельство…
На прошлой неделе The Financial Times сообщила, что Apple наняла Дуга Баумана, профессора из Политехнического университета Вирджинии, который специализируется на исследованиях в области виртуальной реальности. Никто не может сказать точно, чем Бауман будет заниматься в Apple, но вряд ли чем-то выходящим за пределы его интересов.
Кстати, судя по резюме профессора, он считается не только экспертом в VR-области, но и специалистом по трехмерным пользовательским интерфейсам.
Впрочем, по мнению The Financial Times, есть вероятность, что Бауман все же не будет заниматься виртуальной реальностью в стенах Apple — возможно, он примет участие в автопроекте компании. Судя по тому, что мы видим на автомобильных выставках, инженерам Apple понадобится понимание того, как водитель будет взаимодействовать с информационно-развлекательными системами и интерфейсами.

Не стоит слишком радоваться
Если Apple все же займется дополненной и виртуальной реальностью серьезно, то результата стоит ждать только через несколько лет. Это направление все еще молодо и конкуренты Apple пока еще не представили нечто, что могло бы по-настоящему заменить смартфон или ноутбук. И сегодня интерес компании к этой платформе можно назвать, скорее, исследовательским.
Источники: These are the signs Apple is working on the next major computing platform, In case there was any doubt Apple is working on the next major computing platform...
Автор: dennn_podolyak
