После статьи, не так давно опубликованной в поддержку краудфандингового проекта солнечной батареи “PlanarSun”, с удивлением обнаружил, что обошли стороной, по-моему, более интересный и перспективный проект плоского солнечного концентратора Sun Simba компании Morgan Solar, о котором и хочу поведать хабра сообществу.

На первый взгляд может показаться, что это обычная Линза Френеля, однако это не так и принцип его действия совсем другой.
Необходимость концентраторов была уже рассказана в статье о PlanarSun, поэтому перейду сразу к описанию.
Morgan Solar является канадским энергетическим стартапом, в который вложены десятки миллионов долларов.
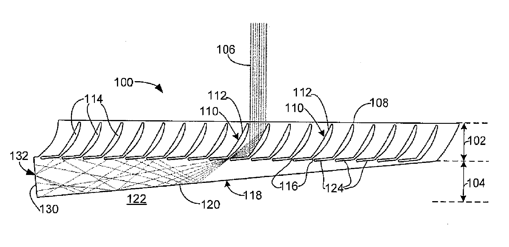
В патенте есть множество вариантов фокусировки солнечного излучения с использованием 1-3 асферических поверхностей, но наиболее наглядный представлен на рисунке:

Принцип действия очень прост. Концентратор Sun Simba состоит из асферических бороздок, расположенных по кругу. Они фокусируют параллельно падающее излучение в маленькие «промежутки». Далее излучение попадает в клин, из которого не может выбраться, и распространяется до солнечного элемента.
Кроме явных достоинств:
1. Компактность по сравнению с той же линзой Френеля, параболическим зеркалом и системой Кассегрена
2. Малая потеря энергии

Существует и недостаток:
1. Необходимо строго ориентировать концентратор на солнце, с чем вполне справятся следящие системы.
По сравнению с “PlanarSun” у Sun Simba намного больше концентрация излучения — практически в точку, а не в две противоположные плоскости. С другой стороны, у “PlanarSun” больше угловое поле по одной координате, что облегчает слежение за солнцем.
Не хочу сказать, что концентратор “PlanarSun” хуже, но он явно недоработан.
И немного видео о проекте компании Morgan Solar:
Автор: EricRed
